GM Service Manual Online
For 1990-2009 cars only
Figure 1:

Power, Ground and MIL


Object Number: 192829  Size: FS
Engine Controls Components
Powertrain Control Module Description
Data Link Connector (DLC)
OBD II Symbol Description Notice
Handling ESD Sensitive Parts Notice
Handling ESD Sensitive Parts Notice
Power Distribution Schematics
Power Distribution Schematics
Ground Distribution Schematics
Figure 2:

Data Link Connector (DLC)


Object Number: 192833  Size: FS
Engine Controls Components
Powertrain Control Module Description
Bank 1 Ignition Coil/Modules
Power, Ground and MIL
OBD II Symbol Description Notice
Handling ESD Sensitive Parts Notice
Power Distribution Schematics
Fuse Block Schematics
Fuse Block Schematics
ABS/TCS Schematics
SIR Schematics
Ground Distribution Schematics
Figure 3:

Bank 1 Ignition Coil/Modules


Object Number: 192835  Size: FS
Engine Controls Components
Electronic Ignition (EI) System Description
Bank 2 Ignition Coil/Modules
Data Link Connector (DLC)
OBD II Symbol Description Notice
Handling ESD Sensitive Parts Notice
Power Distribution Schematics
Fuse Block Schematics
Ground Distribution Schematics
Figure 4:

Bank 2 Ignition Coil/Modules


Object Number: 192844  Size: FS
Engine Controls Components
Electronic Ignition (EI) System Description
Engine Speed Output, CKP and CMP Sensors
Bank 1 Ignition Coil/Modules
OBD II Symbol Description Notice
Handling ESD Sensitive Parts Notice
Power Distribution Schematics
Fuse Block Schematics
Ground Distribution Schematics
Figure 5:

Engine Speed Output, CKP and CMP Sensors


Object Number: 192845  Size: FS
Engine Controls Components
Electronic Ignition (EI) System Description
Fuel System
Bank 2 Ignition Coil/Modules
OBD II Symbol Description Notice
Handling ESD Sensitive Parts Notice
Handling ESD Sensitive Parts Notice
ABS/TCS Schematics
Figure 6:

Fuel System


Object Number: 192855  Size: FS
Engine Controls Components
Information Sensors/Switches Description
Injector Circuits
Engine Speed Output, CKP and CMP Sensors
OBD II Symbol Description Notice
Handling ESD Sensitive Parts Notice
Handling ESD Sensitive Parts Notice
Handling ESD Sensitive Parts Notice
Ground Distribution Schematics
Ground Distribution Schematics
Power Distribution Schematics
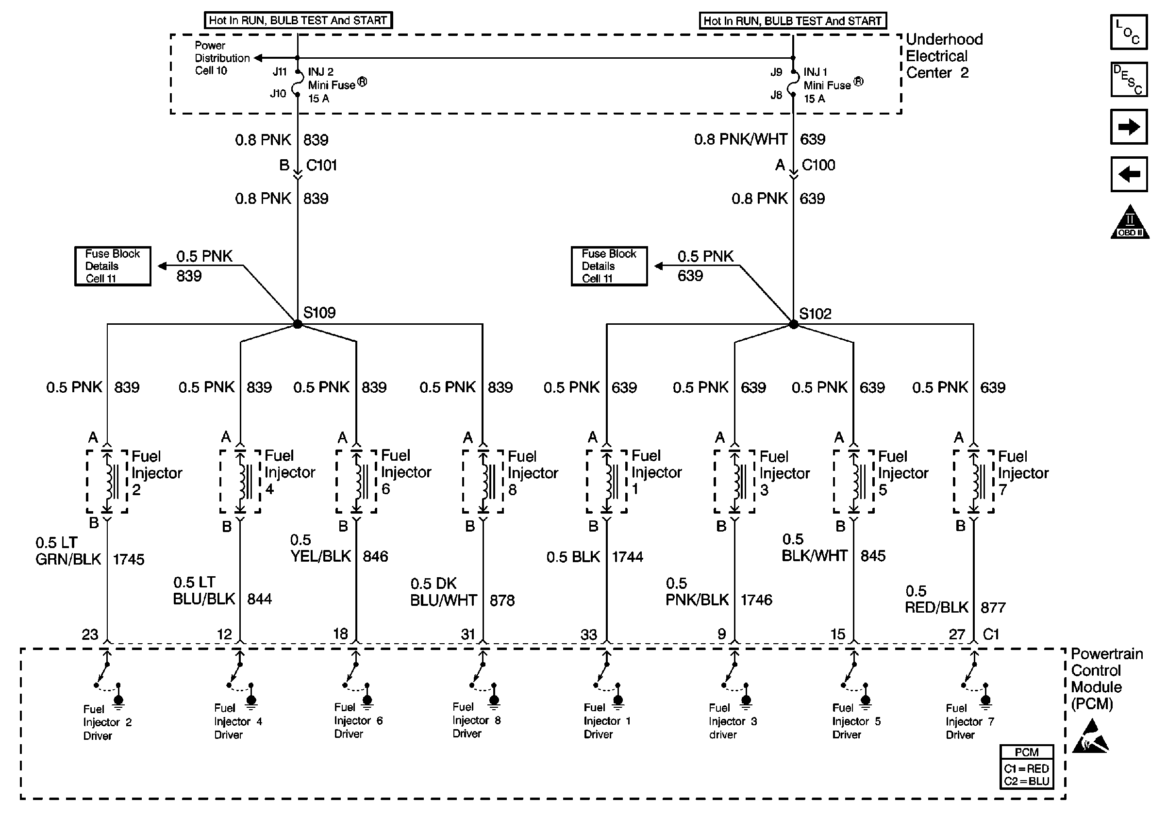
Figure 7:

Injector Circuits


Object Number: 192858  Size: FS
Engine Controls Components
Fuel Metering System Component Description
Information Sensors
Fuel System
OBD II Symbol Description Notice
Handling ESD Sensitive Parts Notice
Power Distribution Schematics
Fuse Block Schematics
Fuse Block Schematics
Figure 8:

Information Sensors


Object Number: 192860  Size: FS
Engine Controls Components
Information Sensors/Switches Description
Heated Oxygen Sensors
Injector Circuits
OBD II Symbol Description Notice
Handling ESD Sensitive Parts Notice
Power Distribution Schematics
Fuse Block Schematics
Ground Distribution Schematics
ABS/TCS Schematics
ABS/TCS Schematics
Handling ESD Sensitive Parts Notice
Handling ESD Sensitive Parts Notice
Figure 9:

Heated Oxygen Sensors


Object Number: 192863  Size: FS
Engine Controls Components
Information Sensors/Switches Description
AIR and IAC
Information Sensors
OBD II Symbol Description Notice
Handling ESD Sensitive Parts Notice
Power Distribution Schematics
Fuse Block Schematics
Ground Distribution Schematics
Figure 10:

AIR and IAC


Object Number: 192864  Size: FS
Engine Controls Components
Secondary Air Injection System Description
TCS Retard Signal, VSS Output and VSS Signal
Heated Oxygen Sensors
OBD II Symbol Description Notice
Handling ESD Sensitive Parts Notice
Power Distribution Schematics
Ground Distribution Schematics
Figure 11:

TCS Retard Signal, VSS Output and VSS Signal


Object Number: 192866  Size: FS
Engine Controls Components
Information Sensors/Switches Description
EVAP and EGR
AIR and IAC
OBD II Symbol Description Notice
Handling ESD Sensitive Parts Notice
Handling ESD Sensitive Parts Notice
Figure 12:

EVAP and EGR


Object Number: 192869  Size: FS
Engine Controls Components
Powertrain Control Module Description
Oil Level
TCS Retard Signal, VSS Output and VSS Signal
OBD II Symbol Description Notice
Handling ESD Sensitive Parts Notice
Fuse Block Schematics
Power Distribution Schematics
Figure 13:

Oil Level


Object Number: 192876  Size: FS
Engine Controls Components
Information Sensors/Switches Description
Reverse Inhibit and Skip Shift Solenoids
EVAP and EGR
OBD II Symbol Description Notice
Handling ESD Sensitive Parts Notice
Handling ESD Sensitive Parts Notice
Ground Distribution Schematics
Figure 14:

Reverse Inhibit and Skip Shift Solenoids


Object Number: 192878  Size: FS
Engine Controls Components
Powertrain Control Module Description
Transmission
Oil Level
OBD II Symbol Description Notice
Handling ESD Sensitive Parts Notice
Handling ESD Sensitive Parts Notice
Power Distribution Schematics
Fuse Block Schematics
Figure 15:

Transmission


Object Number: 192883  Size: FS
Engine Controls Components
Electronic Component Description
Transmission
Reverse Inhibit and Skip Shift Solenoids
OBD II Symbol Description Notice
Handling ESD Sensitive Parts Notice
Power Distribution Schematics
Fuse Block Schematics
Fuse Block Schematics
Figure 16:

Transmission


Object Number: 192884  Size: FS
Engine Controls Components
Electronic Component Description
A/C System
Transmission
OBD II Symbol Description Notice
Handling ESD Sensitive Parts Notice
Handling ESD Sensitive Parts Notice
Ground Distribution Schematics
Release Systems Schematics
Shift Lock Control Schematics
Figure 17:

A/C System


Object Number: 192885  Size: FS
Engine Controls Components
Powertrain Control Module Controlled Air Conditioning Description
Engine Cooling Fan
Transmission
OBD II Symbol Description Notice
Handling ESD Sensitive Parts Notice
Power Distribution Schematics
Ground Distribution Schematics
Fuse Block Schematics
Figure 18:

Engine Cooling Fan


Object Number: 192886  Size: FS
Engine Controls Components
Engine Cooling Fan Description - Electric
A/C System
OBD II Symbol Description Notice
Handling ESD Sensitive Parts Notice
Power Distribution Schematics
Ground Distribution Schematics