GM Service Manual Online
For 1990-2009 cars only
Figure 1:

Cell 18: Cavities A, B, and C


Object Number: 343687  Size: FS
Power and Grounding Components
Cell 18: Cavity D
Cell 10: Battery, Starter, Junction Block
Cell 10: Ignition Switch, Fuse Block
Cell 14: G200
Cell 81: Indicators
Cell 46
Figure 2:

Cell 18: Cavity D


Object Number: 343690  Size: FS
Power and Grounding Components
Cell 18: Cavities E and F
Cell 18: Cavities A, B, and C
Cell 110: Rear Lamps
Cell 112
Cell 40
Cell 117
Cell 76
Figure 3:

Cell 18: Cavities E and F


Object Number: 343692  Size: FS
Power and Grounding Components
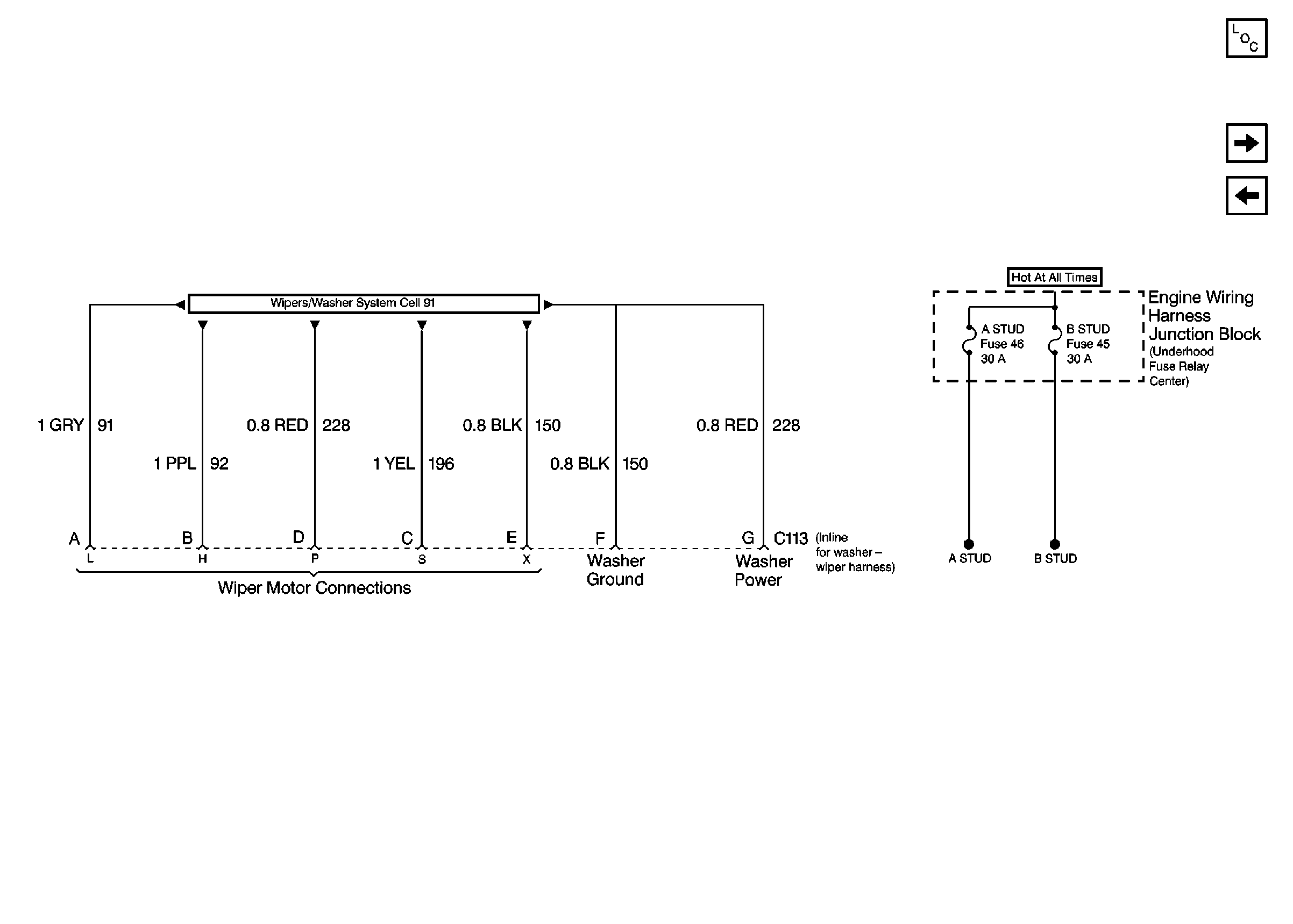
Cell 18: Inline Connector for Washer/Wiper Harness, C113
Cell 18: Cavity D
Cell 10: Ignition Switch, Fuse Block
Cell 10: Fuse Block, Headlamp Switch
Cell 10: Ignition Switch, Fuse Block
Cell 110: Exterior Lights Fuses
Figure 4:

Cell 18: Inline Connector for Washer/Wiper Harness, C113


Object Number: 343694  Size: FS
Power and Grounding Components
Cell 18: Inline Connectors for Lamps
Cell 18: Cavities E and F
Cell 91
Figure 5:

Cell 18: Inline Connectors for Lamps


Object Number: 343697  Size: FS
Power and Grounding Components
Cell 18: Inline Connector for Washer/Wiper Harness, C113
Cell 110: Exterior Lights Fuses
Cell 110: Rear Lamps
Cell 110: Forward Lamps
Cell 102: Headlamps
Cell 110: Forward Lamps
Cell 40
Cell 110: Forward Lamps
Cell 102: Headlamps