GM Service Manual Online
For 1990-2009 cars only
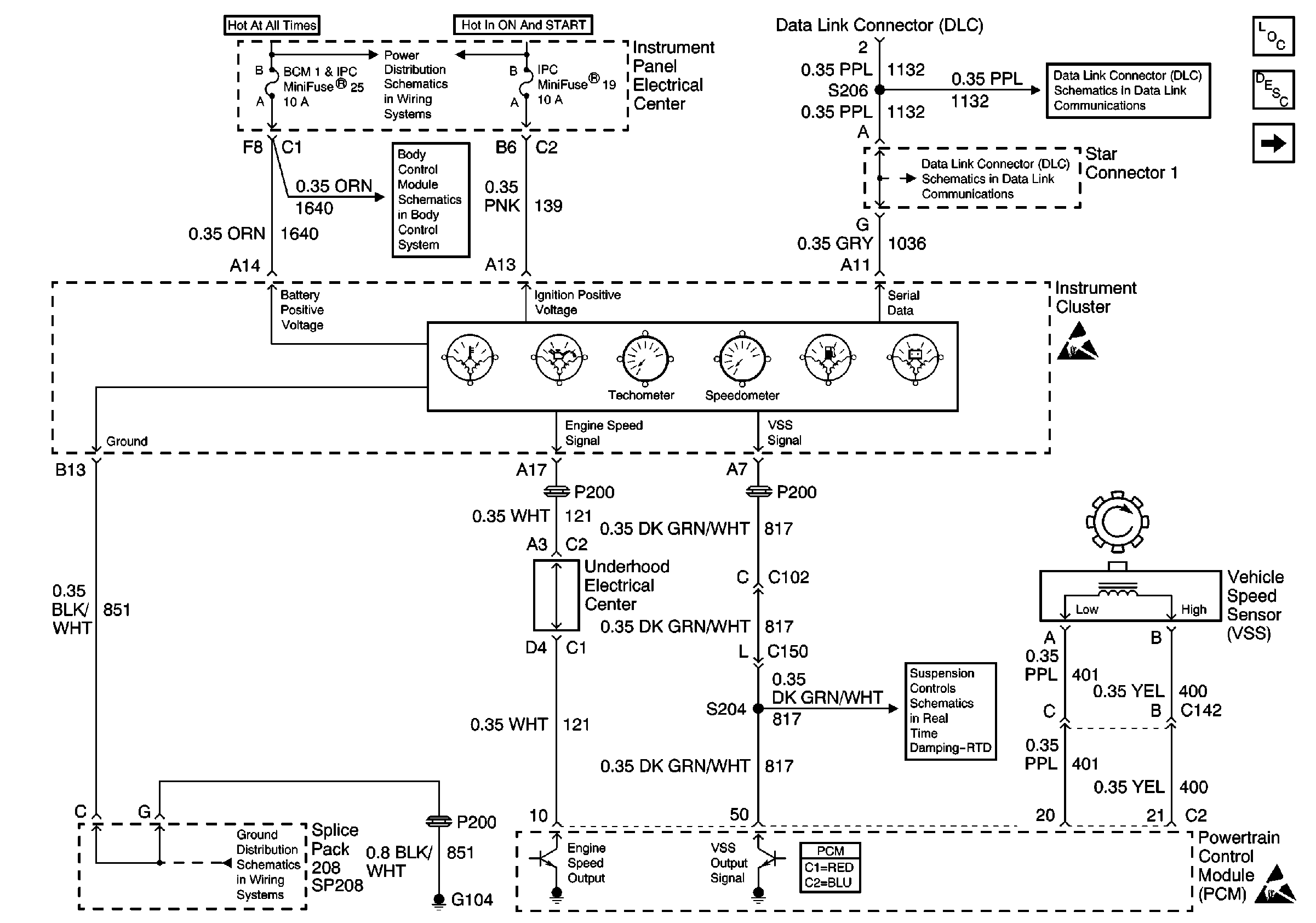
Figure 1:

Power, Ground and DLC


Object Number: 586884  Size: FS
Instrument Cluster and HUD Components
Instrument Cluster Description
Indicators
Power Distribution Schematics
Ground Distribution Schematics
Data Link Connector Schematics
Data Link Connector Schematics
Body Control System Schematics
Suspension Controls Schematics
Handling ESD Sensitive Parts Notice
Handling ESD Sensitive Parts Notice
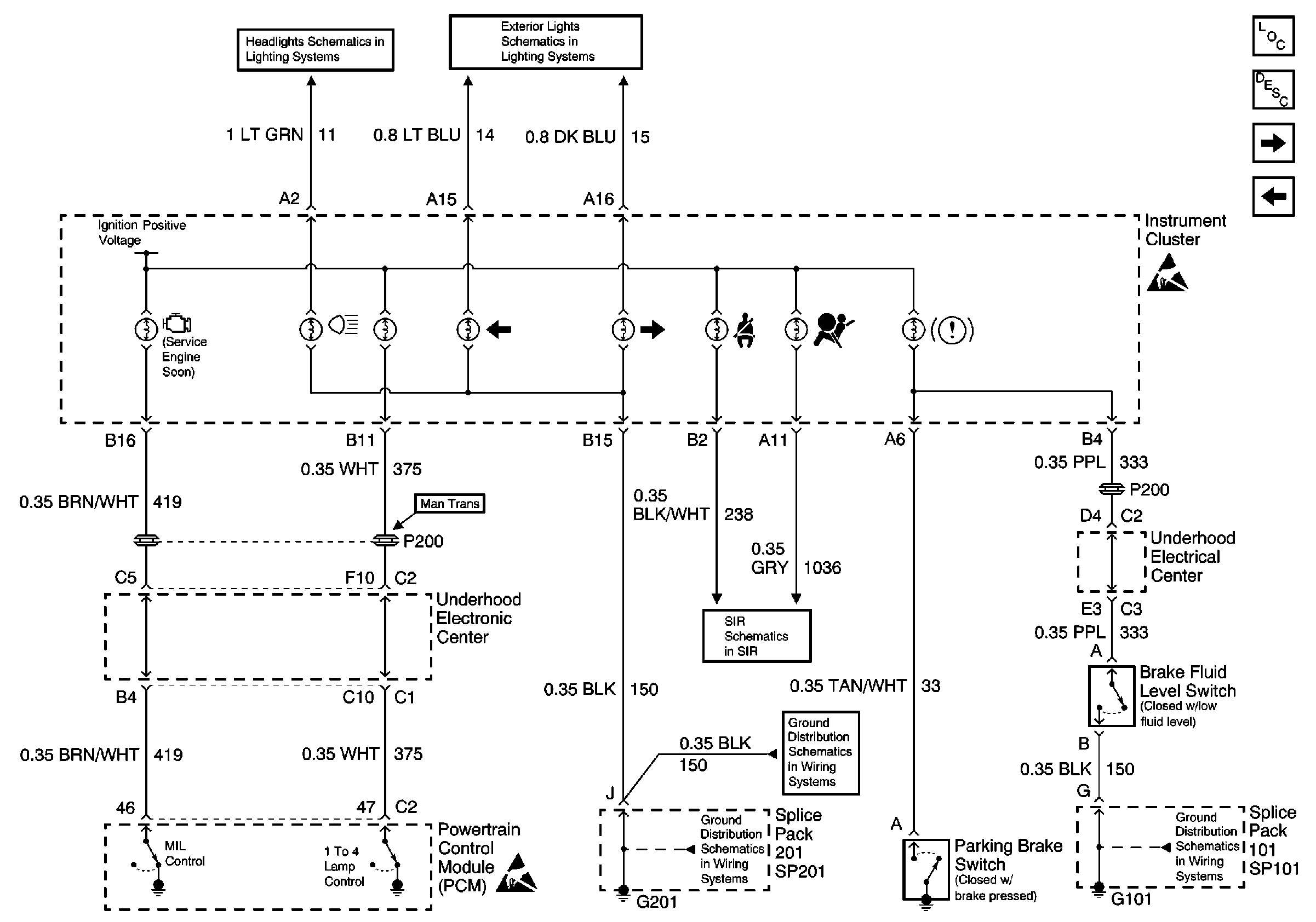
Figure 2:

Indicators


Object Number: 586887  Size: FS
Instrument Cluster and HUD Components
Instrument Cluster Description
Miscellaneous Switch and Sensor Signals
Power, Ground and DLC
Ground Distribution Schematics
Ground Distribution Schematics
Ground Distribution Schematics
SIR Schematics Without PSIR
Exterior Lights Schematics
Headlights/Daytime Running Lights (DRL) Schematics
Handling ESD Sensitive Parts Notice
Handling ESD Sensitive Parts Notice
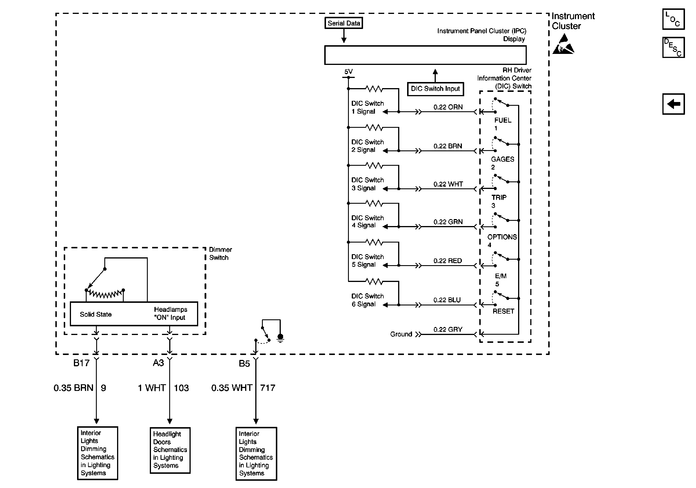
Figure 3:

Miscellaneous Switch and Sensor Signals


Object Number: 586892  Size: FS
Instrument Cluster and HUD Components
Instrument Cluster Description
Driver Information Center and Dimmer Switch
Indicators
Ground Distribution Schematics
Ground Distribution Schematics
Handling ESD Sensitive Parts Notice
Figure 4:

Driver Information Center and Dimmer Switch


Object Number: 586894  Size: FS
Instrument Cluster and HUD Components
Instrument Cluster Description
Miscellaneous Switch and Sensor Signals
Interior Lights Dimming Schematics
Interior Lights Dimming Schematics
Headlight Doors Schematics
Handling ESD Sensitive Parts Notice