GM Service Manual Online
For 1990-2009 cars only
Makes
🢒
Oldsmobile
🢒
2003
🢒
Bravada
🢒 Controlled/Monitored Subsystem References
Controlled/Monitored Subsystem References
Controlled/Monitored Subsystem References
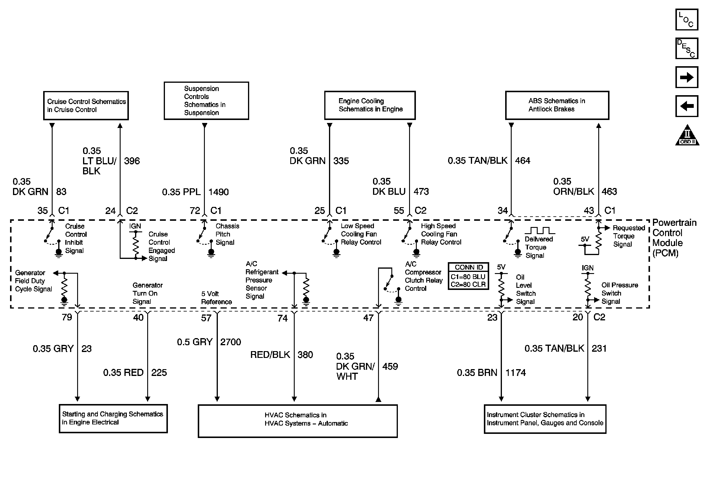
Master Electrical Component List
Powertrain Control Module Description
Transmission Controls- A/T
Device Controls
OBD II Symbol Description Notice
Brakes and Engine Indicators
HVAC Compressor Control
Generator and Battery
Cruise Control Module PCM Inputs and Vehicle Speed Input
Electronic Suspension Control Module- Power and Ground
Cooling Fans
Suspension Inputs, Class 2, Traction Control, Variable Effort Steering