GM Service Manual Online
For 1990-2009 cars only
Makes
🢒
Pontiac
🢒
2000
🢒
Bonneville
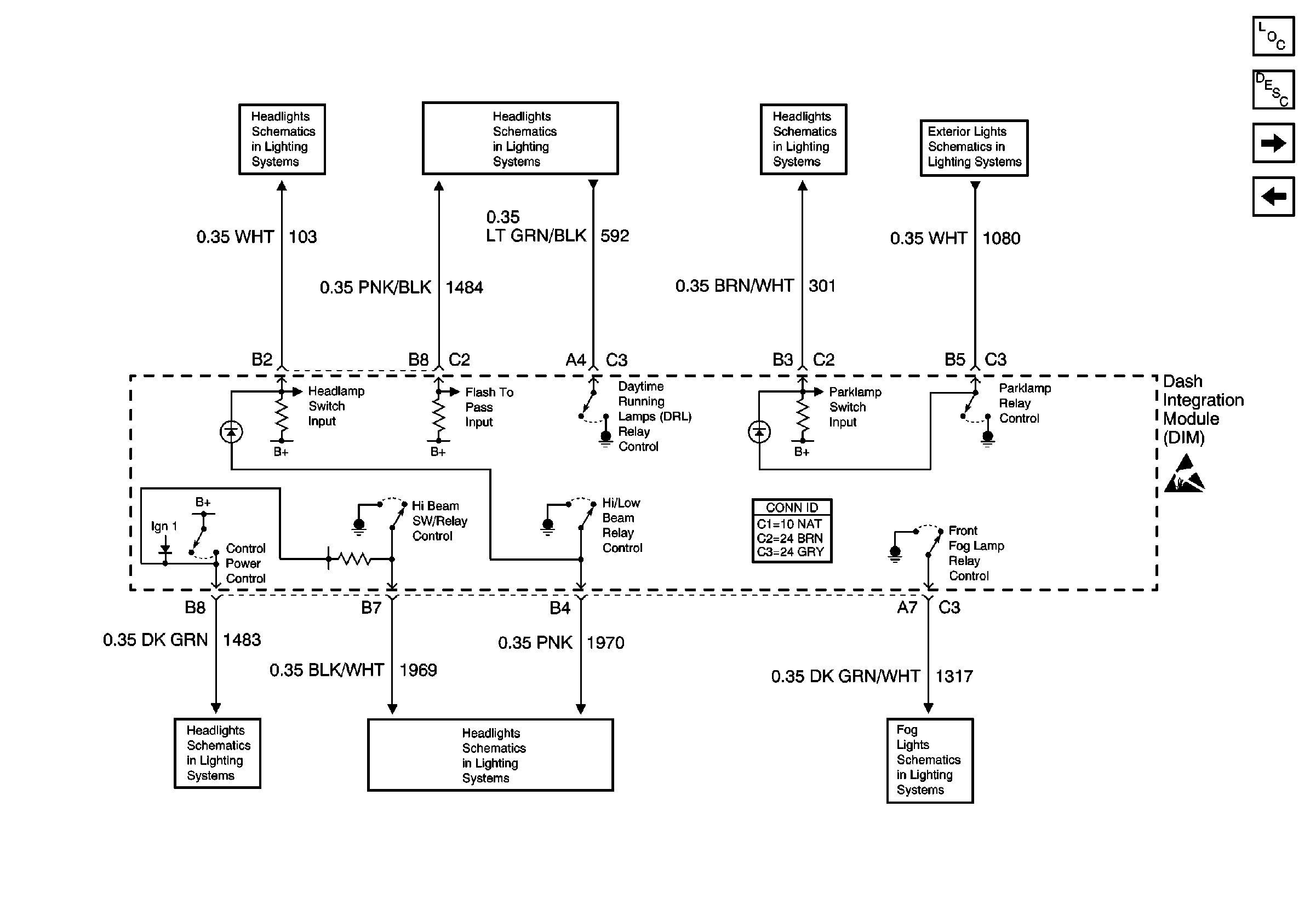
🢒 DIM Input/Output (1 of 2)
DIM Input/Output (1 of 2)
DIM Input/Output (1 of 2)
Headlamp Switch, Ambient Light Sensor (C67)
DRL, High Beam Headlamps, Dimmer Switch
Headlamp Switch, Ambient Light Sensor (C67)
License Plate Lamps, Park Lamp Relay
Low Beam Headlamps
Headlamp Switch, Ambient Light Sensor (C67)
Fog Lamps (Front)
Handling ESD Sensitive Parts Notice
Body Control Module Components
Body Control System Circuit Description
DIM Input/Output (2 of 2)
DIM Ignition Inputs