GM Service Manual Online
For 1990-2009 cars only
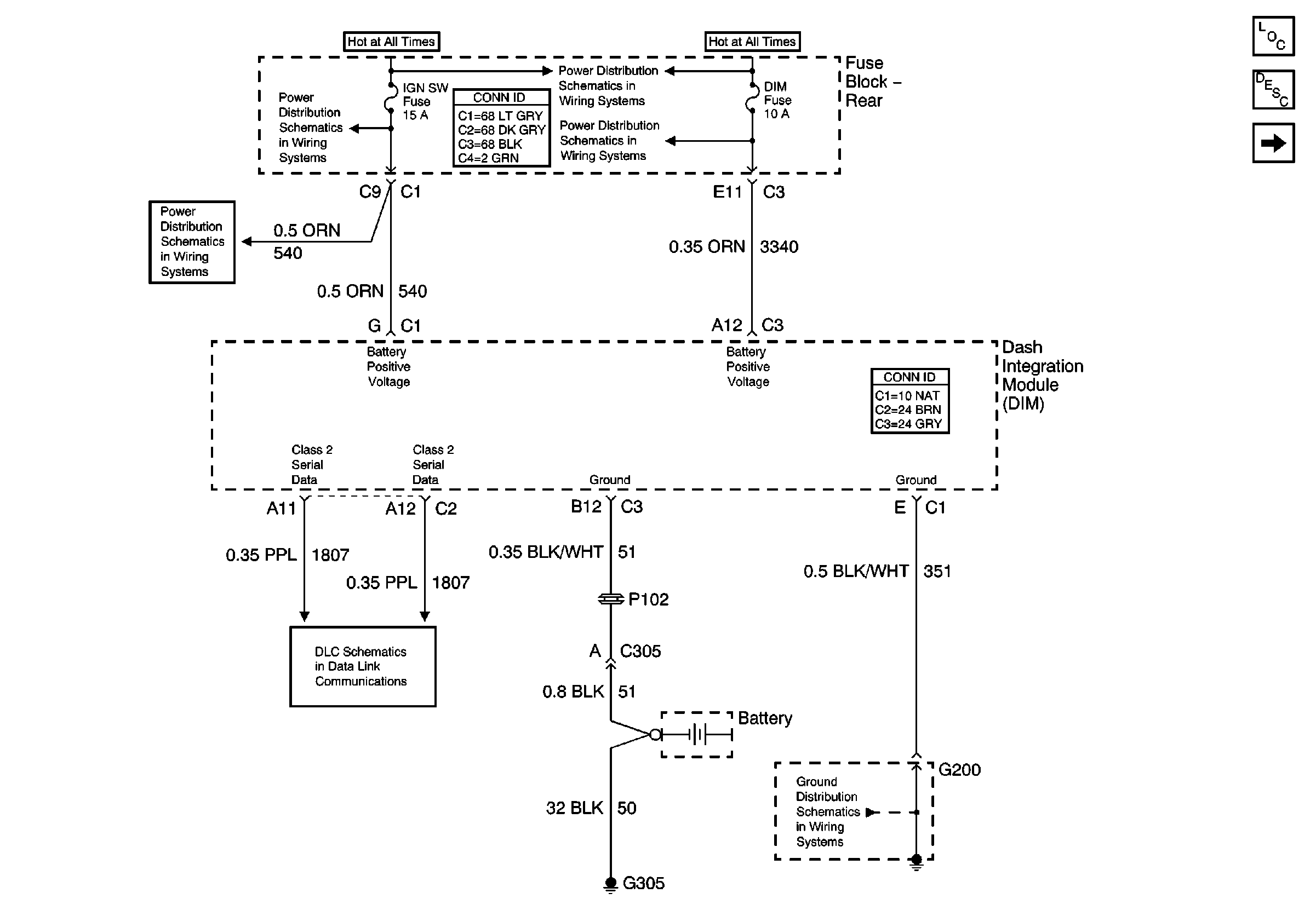
Figure 1:

DIM Power and Ground


Object Number: 664420  Size: FS
Master Electrical Component List
IGN SW, PRK/REV Fuses and the PARK and REVERSE Relays (Fuse Block -Rear)
Class 2 Serial Data
Class 2 Serial Data
Battery Voltage to the Rear Fuse Block
HTDST RF, HTDST LF, DIM, and MEM Fuses ( Fuse Block - Rear)
G200
Ignition Inputs
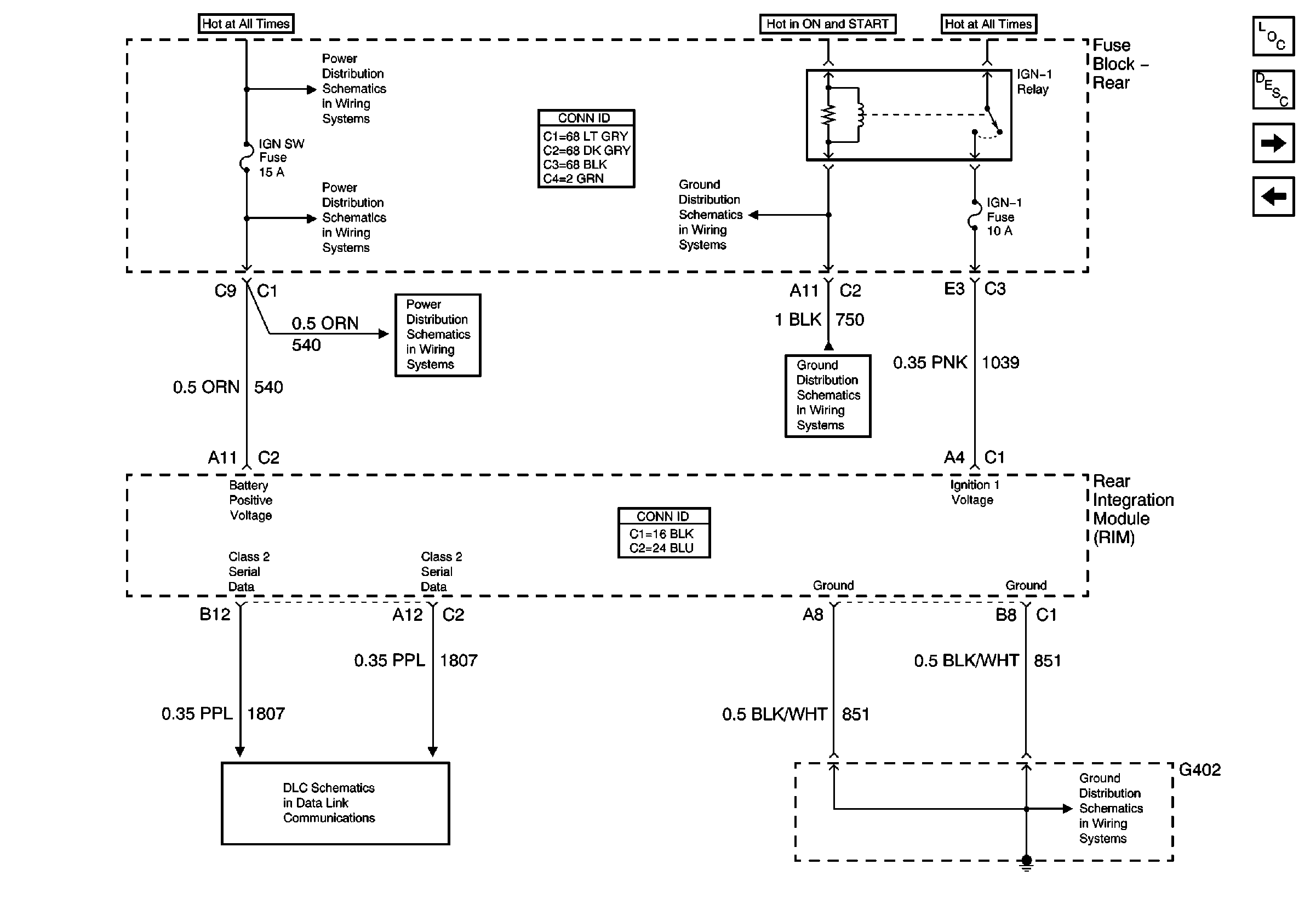
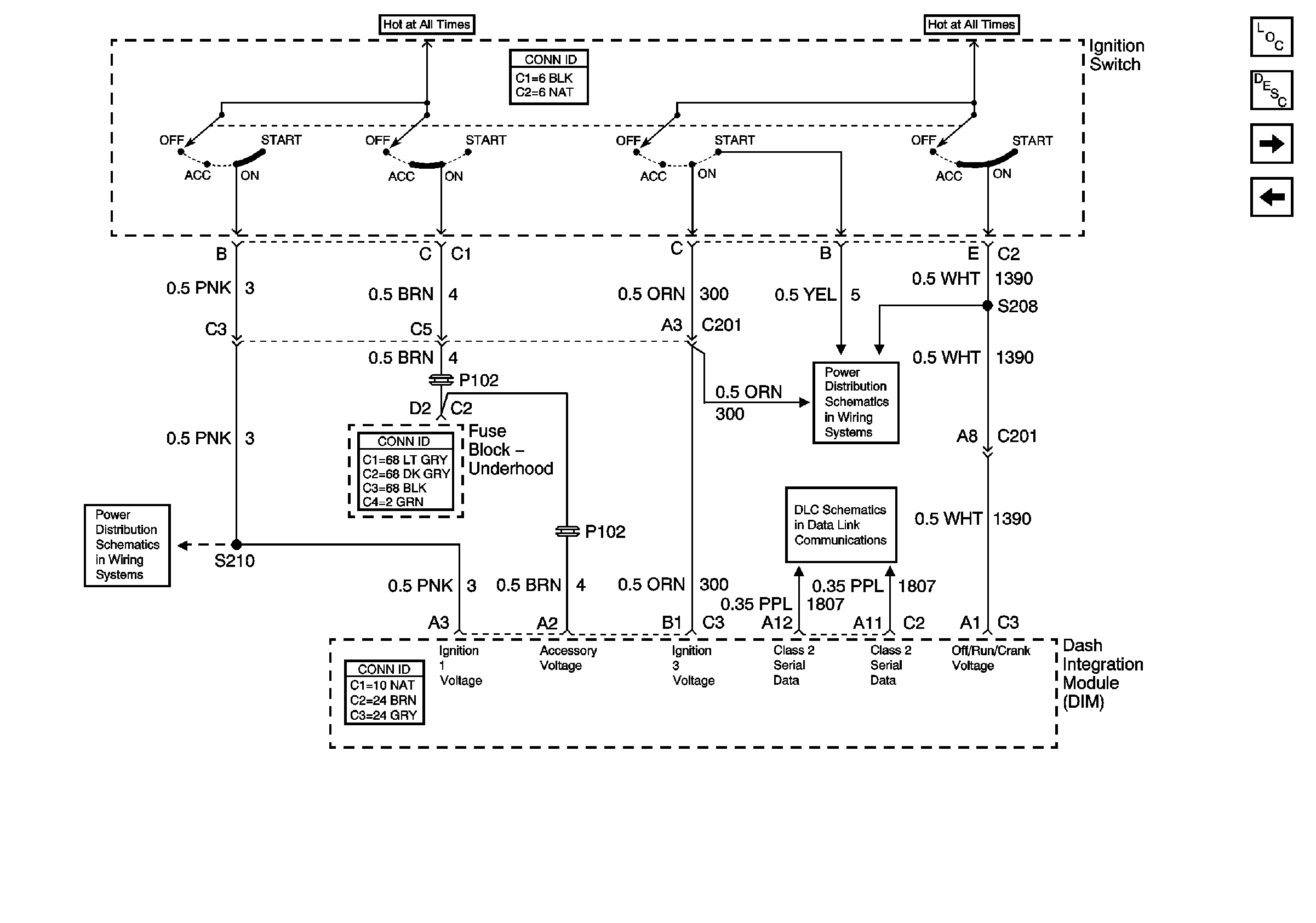
Figure 2:

Ignition Inputs


Object Number: 664421  Size: FS
Master Electrical Component List
Ignition Switch RUN and START/RUN Positions
Ignition Switch Positions
Class 2 Serial Data
DIM Inputs/Outputs
DIM Power and Ground
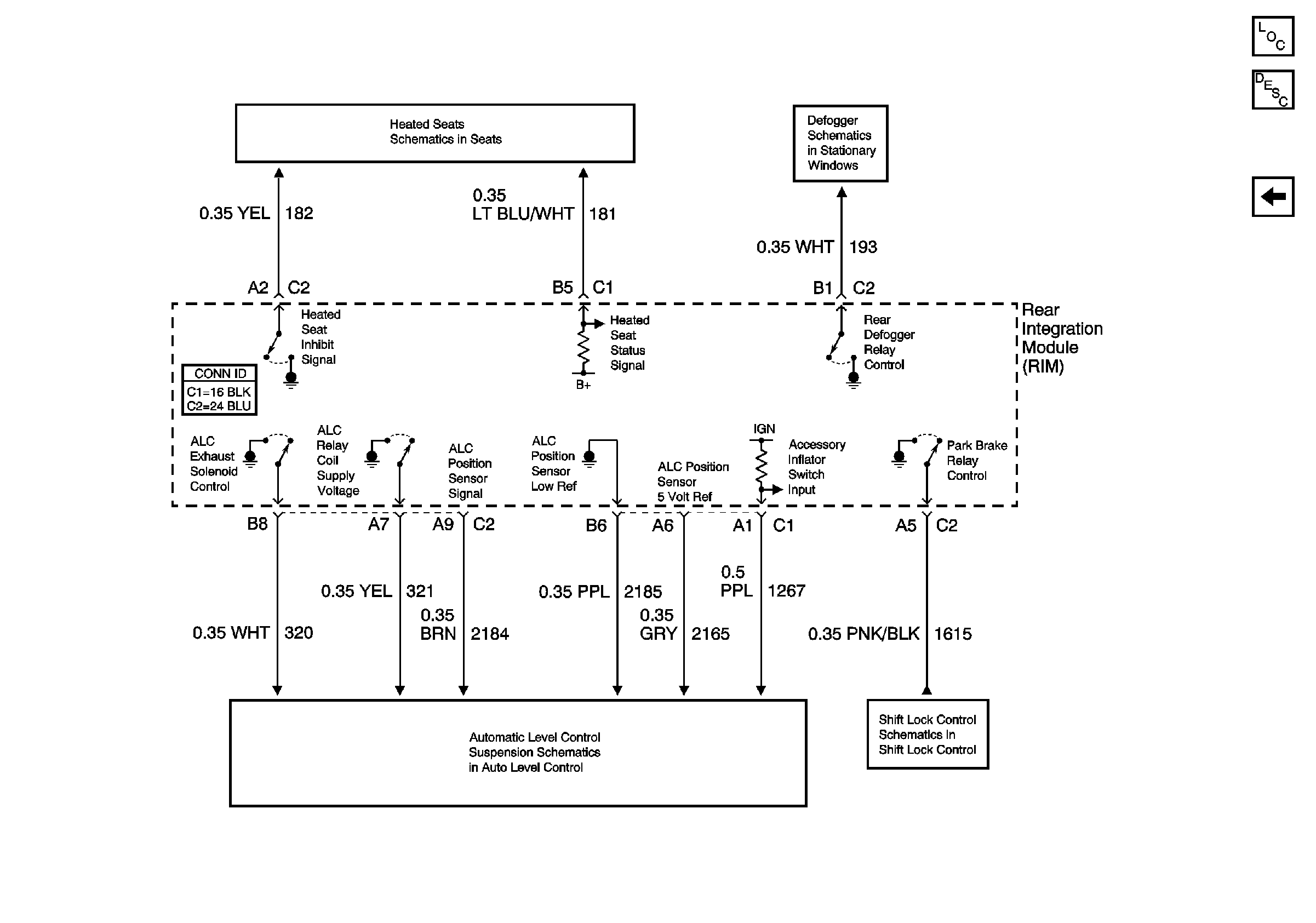
Figure 3:

DIM Inputs/Outputs


Object Number: 664422  Size: FS
Master Electrical Component List
Steering Wheel Controls Schematic
Headlamp, Foglamp, and Ambient Light Sensor Inputs (w/C67)
DRL Controls and High Beam Headlamps
Headlamp, Foglamp, and Ambient Light Sensor Inputs (w/CJ2)
PARK LP Relay and License Lamps
Horn Schematic
IPM Power and Ground
Ignition Inputs
Power and Switch Controls
Low Beam Headlamps
DRL Controls and High Beam Headlamps
Low Beam Headlamps
Fog Lights Schematic
Dimming Controls
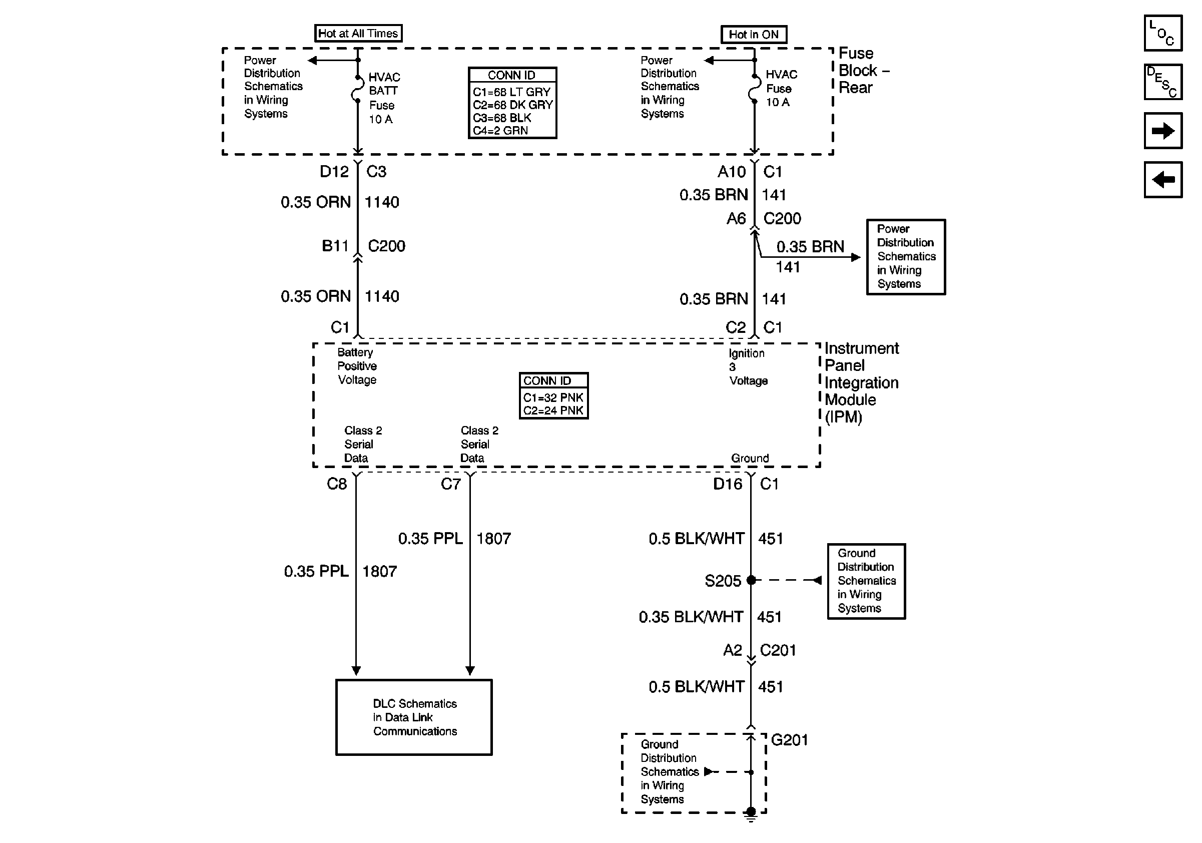
Figure 4:

IPM Power and Ground


Object Number: 664424  Size: FS
Master Electrical Component List
HVAC BATT, DRV MDL, PASS MDL, and RRDRMDL Fuses ( Fuse Block -Rear)
HVAC Fuse (Fuse Block - Rear)
HVAC Fuse (Fuse Block - Rear)
IPM Inputs/Outputs (1 of 2 w/CJ2)
DIM Inputs/Outputs
Class 2 Serial Data
G201 (2 of 2)
G201 (2 of 2)
Figure 5:

IPM Inputs/Outputs (1 of 2 w/CJ2)


Object Number: 664426  Size: FS
Master Electrical Component List
Dimming Controls
Headlamp, Foglamp, and Ambient Light Sensor Inputs (w/CJ2)
Dimming Controls
Headlamp, Foglamp, and Ambient Light Sensor Inputs (w/CJ2)
Traction Control Switch (NW9) and ABS Indicators
IPM Inputs/Outputs (2 of 2 w/CJ2)
IPM Power and Ground
Rear Compartment Lid Release
Fog Lights Schematic
Left Courtesy, Rear Compartment, and Ignition Cylinder Lamps
Radio, Door, and Ignition Switch Audible Warnings
Dimming Controls
HVAC Controls
Figure 6:

IPM Inputs/Outputs (2 of 2 w/CJ2)


Object Number: 664429  Size: FS
Master Electrical Component List
Air Delivery
RIM Power and Ground
IPM Inputs/Outputs (1 of 2 w/CJ2)
Temperature Sensors
Blower Control
Figure 7:

RIM Power and Ground


Object Number: 664431  Size: FS
Master Electrical Component List
Battery Voltage to the Rear Fuse Block
IGN SW, PRK/REV Fuses and the PARK and REVERSE Relays (Fuse Block -Rear)
IGN SW, PRK/REV Fuses and the PARK and REVERSE Relays (Fuse Block -Rear)
Class 2 Serial Data
G302
G402
RIM Inputs/Outputs (1 of 2)
IPM Inputs/Outputs (2 of 2 w/CJ2)
Figure 8:

RIM Inputs/Outputs (1 of 2)


Object Number: 664433  Size: FS
Master Electrical Component List
Right Courtesy and IP Compartment Lamps
Cigar Lighter/Auxiliary Outlet Schematic
Right Courtesy and IP Compartment Lamps
Interior Lamp Relay Controls
Backup Lamps
RIM Inputs/Outputs (2 of 2)
RIM Power and Ground
Fuel Door Lock
Rear Compartment Lid Release
Left Courtesy, Rear Compartment, and Ignition Cylinder Lamps
Retained Accessory Power (RAP) Schematic
Figure 9:

RIM Inputs/Outputs (2 of 2)


Object Number: 664436  Size: FS
Master Electrical Component List
Power and RIM Controls
Defogger Schematic
RIM Inputs/Outputs (1 of 2)
Automatic Level Control Suspension Schematic
Power, Ground, and Solenoid Circuits