GM Service Manual Online
For 1990-2009 cars only
Figure 1:

Power, Ground, and Class 2


Object Number: 885752  Size: FS
Master Electrical Component List
Instrument Cluster Description and Operation
IGN 1, Vent Sol, and SIR Fuses (Fuse Block Rear)
Serial Data Class 2
G200
G200
IGN 1, Vent Sol, and SIR Fuses (Fuse Block Rear)
G201 (1 of 2)
G201 (1 of 2)
IP, CIGAR Fuses, and the CIGAR Relay (Fuse Block Rear)
IP, CIGAR Fuses, and the CIGAR Relay (Fuse Block Rear)
Speedometer, Tachometer, and Fuel Indicators
Figure 2:

PCM Signals Speedometer, Tachometer, and Fuel Indicators


Object Number: 766454  Size: FS
Master Electrical Component List
Instrument Cluster Description and Operation
Engine Data Sensors; MAF, VSS and Extended Brake Travel Switch
Engine Data Sensors; MAF, VSS and Extended Brake Travel Switch
Fuel Sensor and EVAP Solenoid Controls
Serial Data Class 2
PCM Signals Boost, Engine Oil, and Volt Indicators
Power, Ground, and Class 2
Figure 3:

PCM Signals Boost, Engine Oil, and Volt Indicators


Object Number: 766456  Size: FS
Master Electrical Component List
Instrument Cluster Description and Operation
Serial Data Class 2
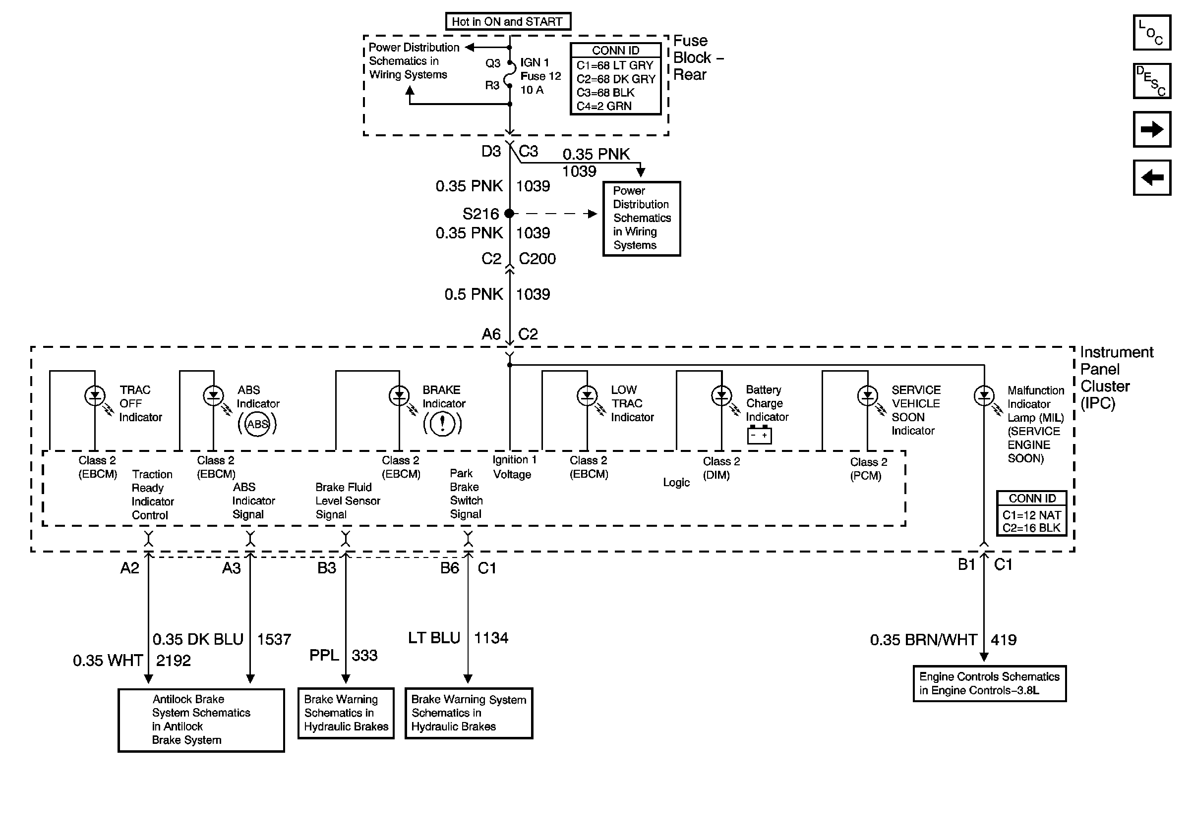
DIM, PCM, and EBCM Signals Traction, ABS, Brake, Battery and MIL Indicators
Speedometer, Tachometer, and Fuel Indicators
Figure 4:

DIM, PCM, and EBCM Signals Traction, ABS, Brake, Battery and MIL Indicators


Object Number: 885758  Size: FS
Master Electrical Component List
Indicator/Warning Message Description and Operation
Indicators and the Traction Control Switch
IGN 1, Vent Sol, and SIR Fuses (Fuse Block Rear)
IGN 1, Vent Sol, and SIR Fuses (Fuse Block Rear)
Brake Warning System Schematic
Brake Warning System Schematic
PCM Power, Ground, Serial Data and MIL
DIM, RIM, PCM, and VTD Signals Seat Belt, High Beam, Air Bag, and Turn Signal Indicators
PCM Signals Boost, Engine Oil, and Volt Indicators
Figure 5:

DIM, RIM, PCM, and VTD Signals Seat Belt, High Beam, Air Bag, and Turn Signal Indicators


Object Number: 766462  Size: FS
Master Electrical Component List
Indicator/Warning Message Description and Operation
VTD and CTD Indicators
Turn Signal Lamps and Indicators
Systems Monitor Washer Fluid, Check oil Level, Check Gauges, Tire Pressure, Door and Trunk Ajar Indicator
DIM, PCM, and EBCM Signals Traction, ABS, Brake, Battery and MIL Indicators
Figure 6:

Systems Monitor Washer Fluid, Check Oil Level, Check Gages, Tire Pressure, Door and Trunk Ajar Indicator


Object Number: 766465  Size: FS
Master Electrical Component List
Indicator/Warning Message Description and Operation
Wiper/Washer Motors
Compass
DIM, RIM, PCM, and VTD Signals Seat Belt, High Beam, Air Bag, and Turn Signal Indicators
Figure 7:

Compass


Object Number: 885762  Size: FS
Master Electrical Component List
Instrument Cluster Description and Operation
G302
IGN3 and ABS Fuses (Fuse Block Rear)
IGN3 and ABS Fuses (Fuse Block Rear)
G302
Defogger Schematic
DIC Switch (w/U50)
Systems Monitor Washer Fluid, Check oil Level, Check Gauges, Tire Pressure, Door and Trunk Ajar Indicator
Figure 8:

DIC Switch (w/U50)


Object Number: 766474  Size: FS
Master Electrical Component List
Driver Information Center (DIC) Description and Operation
Serial Data Class 2
G104 and G105
IP and Console Dimming
G201 (1 of 2)
G201 (1 of 2)
DIC Switch (w/U2F)
Compass
Figure 9:

DIC Switch (w/U2F)


Object Number: 766481  Size: FS
Master Electrical Component List
Driver Information Center (DIC) Description and Operation
Serial Data Class 2
IP and Console Dimming
G201 (1 of 2)
G201 (1 of 2)
DIC Switch (w/U50)