GM Service Manual Online
For 1990-2009 cars only
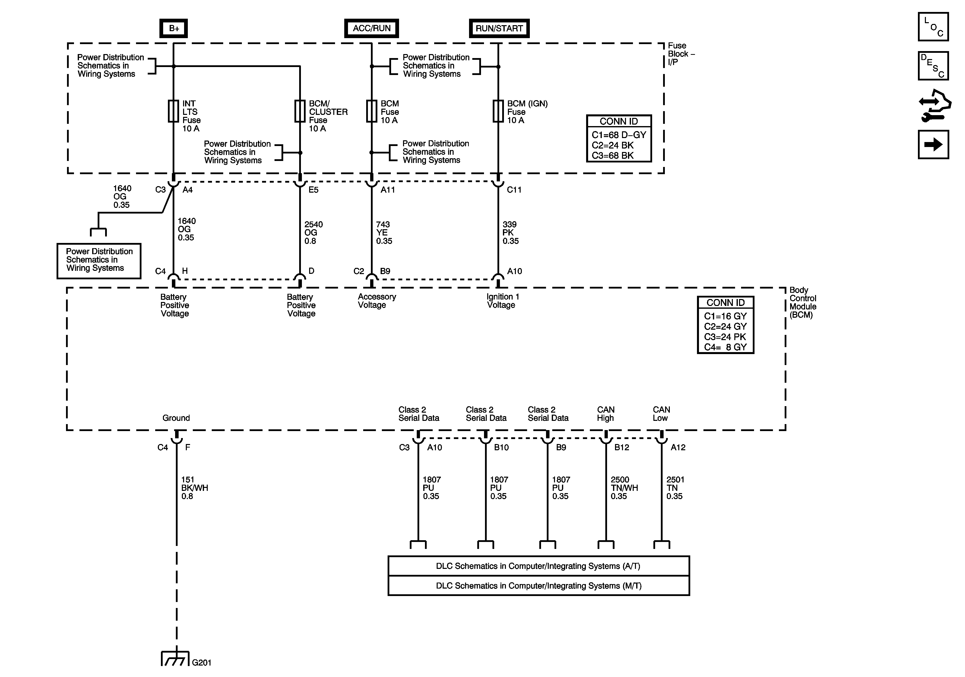
Figure 1:

Power, Ground and Serial Data


Object Number: 1586631  Size: FS
Master Electrical Component List
Power Mode Description and Operation
Control Module References
Lighting and Wiper/Washer Subsystem References
RADIO Fuse, LOCK/MIRROR Fuse, BCM/CLUSTER Fuse, INT LTS Fuse, PARK Fuse and the HZRD Fuse
RADIO Fuse, LOCK/MIRROR Fuse, BCM/CLUSTER Fuse, INT LTS Fuse, PARK Fuse and the HZRD Fuse
RADIO Fuse, LOCK/MIRROR Fuse, BCM/CLUSTER Fuse, INT LTS Fuse, PARK Fuse and the HZRD Fuse
IGN Fuse and the Ignition Switch Circuits
TURN Fuse, BCM Fuse, RADIO(IGN) Fuse, HVAC Fuse and the HTD SEATS Fuse
G201
L66
DLC Schematic (M/T)
Figure 2:

Lighting and Wiper/Washer System References


Object Number: 1586669  Size: FS
Master Electrical Component List
Body Control System Description and Operation
Control Module References
Controlled/Monitored Subsystem References
Power, Ground and Serial Data
Headlight/DRL Schematic - w/T82
Park Lamps - w/T82
Interior Lights Schematic
Fog Lights Schematic
Rear Wiper Motor and Switch
Interior Lights Dimming Schematic
Switch
Headlight/DRL Schematic - w/T82
Figure 3:

Controlled/Monitored Subsystem References


Object Number: 1586677  Size: FS
Master Electrical Component List
Body Control System Description and Operation
Control Module References
Lighting and Wiper/Washer Subsystem References
Door Lock Controls
Lock Switches and Ajar Signals
Theft Deterrent System Schematic
Body Rear End Schematic
Blower Controls
Audible Warning Schematic
Engine Cooling Schematic (L61)
Horn Schematic
Brake Warning System Schematic
Shift Lock Control Schematic
Temperature and Recirculation Signals
Defogger Schematic