GM Service Manual Online
For 1990-2009 cars only
Makes
🢒
Buick
🢒
2002
🢒
Century
🢒
HVAC
🢒
HVAC Systems - Automatic
🢒 Body Control System Schematics
Figure
1:
Power, Ground, and DLC
Master Electrical Component List
Body Control System Description and Operation
References, Page 1 of 3
Power Distribution Schematics (IGN 2)
Power Distribution Schematics (IGN 1)
Power Distribution Schematics (IGN 1)
Batt 2
Batt 1 Fuse
Cluster, BCM, PCM, BTSI
PCM, BCM, Cluster, Turn, SDM
Batt 1 Fuse
Batt 2
Data Link Connector (DLC)
Keyless Entry
G201
G203 (Page 1 of 2)
Figure
2:
References, Page 1 of 3
Master Electrical Component List
Body Control System Description and Operation
BCM References, Page 2 of 3
BCM Power and Ground
Retained Accessory Power (RAP)
Seat Belt
Horns
Indicators
Audible Warnings
Theft Deterrent System
Tire Pressure Monitoring System
Actuators
Switches
Lamp Controls
Figure
3:
References, Page 2 of 3
Master Electrical Component List
Body Control System Description and Operation
References, Page 3 of 3
References, Page 1 of 3
Headlamp Relay, Ambient Light Sensor, and Park Brake Switch
Brake Warning System
Front Park Lamps
Fog Lights
Headlamps and Headlamp Dimmer Switch
Back Up Lights (Regal)
Lamp Controls
Compartment and I/P Courtesy Lamps
Front Turn Lamps and Cornering Lamps
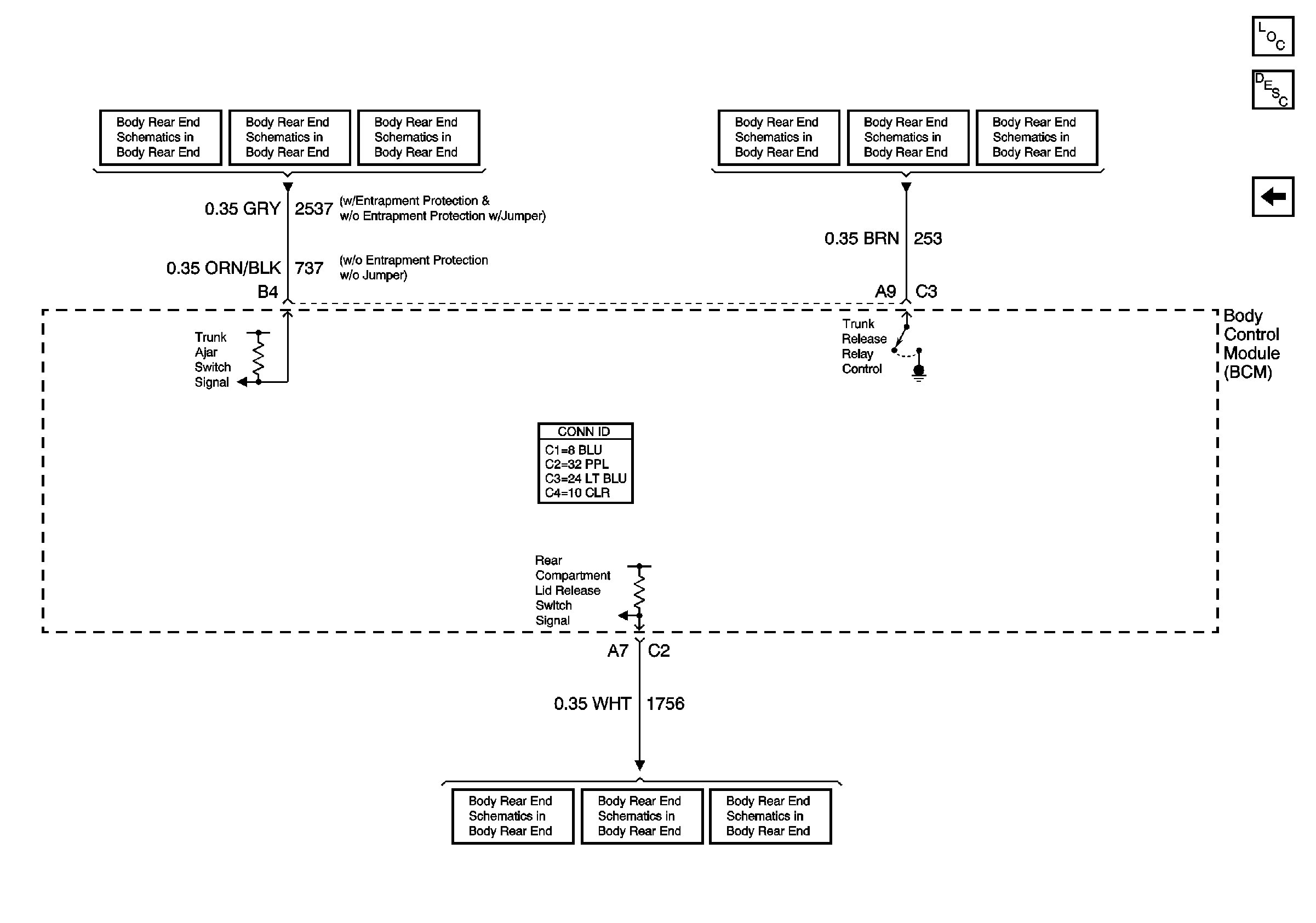
Figure
4:
References, Page 3 of 3
Master Electrical Component List
Body Control System Description and Operation
BCM References, Page 2 of 3
Decklid Release w/Entrapment Protection
Decklid Release w/o Entrapment Protection w/Jumper
Decklid Release w/o Entrapment Protection w/o Jumper
Decklid Release w/Entrapment Protection
Decklid Release w/o Entrapment Protection w/Jumper
Decklid Release w/o Entrapment Protection w/o Jumper
Decklid Release w/Entrapment Protection
Decklid Release w/o Entrapment Protection w/Jumper
Decklid Release w/o Entrapment Protection w/o Jumper