GM Service Manual Online
For 1990-2009 cars only
Figure 1:

DIM Power and Grounds


Object Number: 886626  Size: FS
Master Electrical Component List
Body Control System Description and Operation
DIM Ignition Inputs
Fuse Block Rear - IGN SW and NSBU Fuses
Fuse Block Rear - IGN SW and NSBU Fuses
Fuse Block Rear - HTDST RF, HTDST LF, DIM, and MEM Fuses
Serial Data Class 2
G200 - 1 of 2
Figure 2:

DIM Ignition Inputs


Object Number: 665713  Size: FS
Master Electrical Component List
Body Control System Description and Operation
DIM Input/Output - 1 of 2
DIM Power and Grounds
Ignition Switch - 2 of 2
Ignition Switch - 2 of 2
Ignition Switch - 2 of 2
Serial Data Class 2
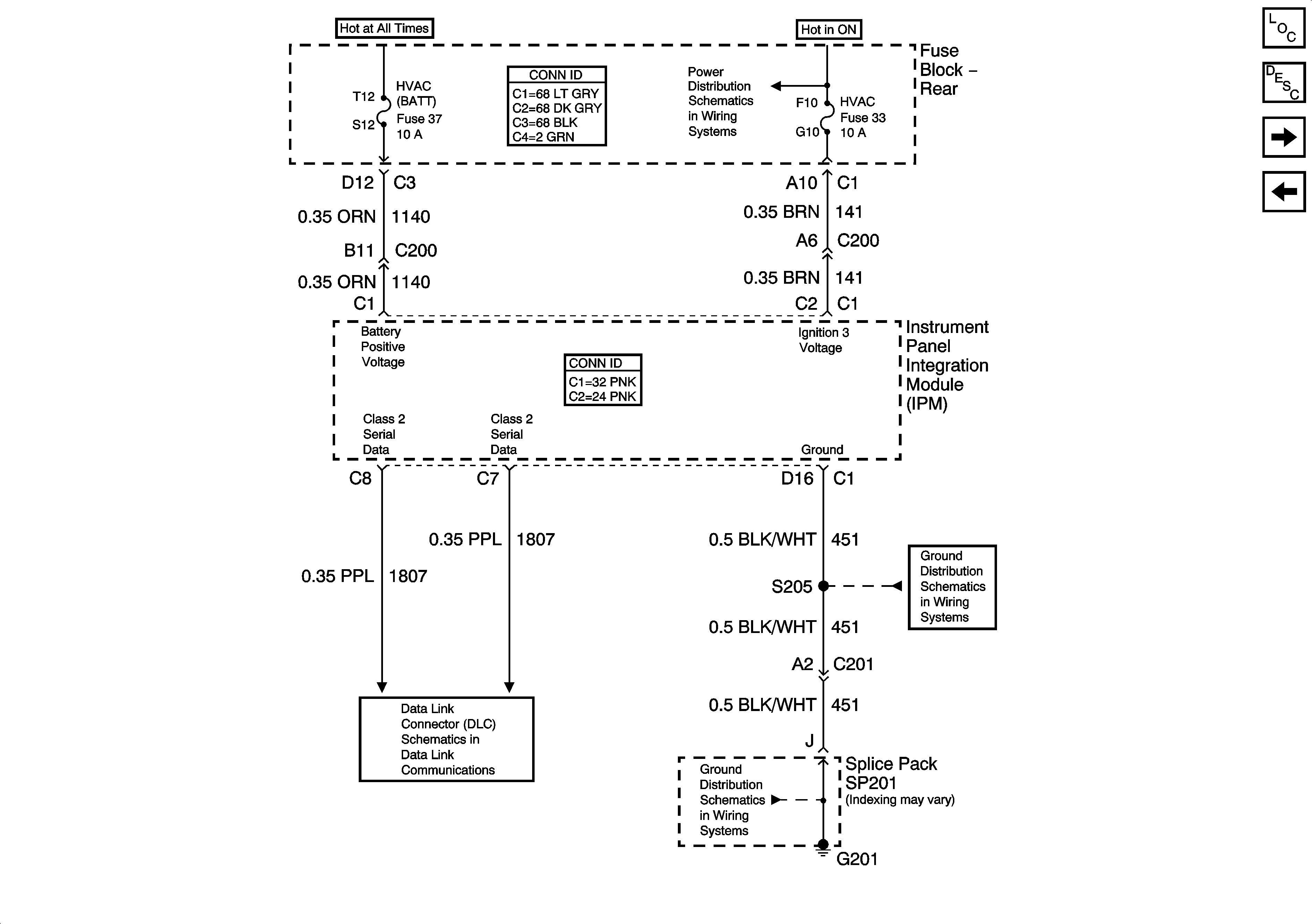
Figure 3:

DIM Input/Output - 1 of 2


Object Number: 1545424  Size: FS
Master Electrical Component List
Body Control System Description and Operation
DIM Input/Output - 2 of 2
DIM Ignition Inputs
Headlamp Switch and Sunload Sensor Assembly (CJ2)
Headlamp Switch and Sunload Sensor Assembly (C67)
DRL, High Beam Headlamps and Dimmer Switch
Headlamp Switch and Sunload Sensor Assembly (CJ2)
Headlamp Switch and Sunload Sensor Assembly (C67)
Park Lamp Relay
DRL, High Beam Headlamps and Dimmer Switch
Low Beam Headlamps
Figure 4:

DIM Input/Output - 2 of 2


Object Number: 665719  Size: FS
Master Electrical Component List
Body Control System Description and Operation
IPM Power and Grounds
DIM Input/Output - 1 of 2
Steering Wheel Controls Schematic
Horns
Wiper Washer Switch and Fuse
Dimming Control
Figure 5:

IPM Power and Grounds


Object Number: 1545425  Size: FS
Master Electrical Component List
Body Control System Description and Operation
IPM Input/Output - 1 of 2
DIM Input/Output - 2 of 2
Block Rear - HVAC Fuse
Serial Data Class 2
G201
G201
Figure 6:

IPM Input/Output - 1 of 2


Object Number: 1545427  Size: FS
Master Electrical Component List
Body Control System Description and Operation
IPM Input/Output - 2 of 2
IPM Power and Grounds
Dimming Control
Headlamp Switch and Sunload Sensor Assembly (CJ2)
Headlamp Switch and Sunload Sensor Assembly (C67)
Dimming Control
Headlamp Switch and Sunload Sensor Assembly (CJ2)
Indicators and Traction Control Switch
Heater A/C Control (CJ2)
Headlamp Switch and Sunload Sensor Assembly (CJ2)
Radio Output, Door and Ignition Switch
Figure 7:

IPM Input/Output - 2 of 2


Object Number: 665729  Size: FS
Master Electrical Component List
Body Control System Description and Operation
RIM Power and Grounds
IPM Input/Output - 1 of 2
Air Delivery (CJ2)
Temperature Sensors (CJ2)
Blower Control (CJ2)
Figure 8:

RIM Power and Grounds


Object Number: 886628  Size: FS
Master Electrical Component List
Body Control System Description and Operation
RIM Input/Output - 1 of 2
IPM Input/Output - 2 of 2
Fuse Block Rear - IGN SW and NSBU Fuses
Fuse Block Rear - IGN SW and NSBU Fuses
G300 and G302
Serial Data Class 2
G402
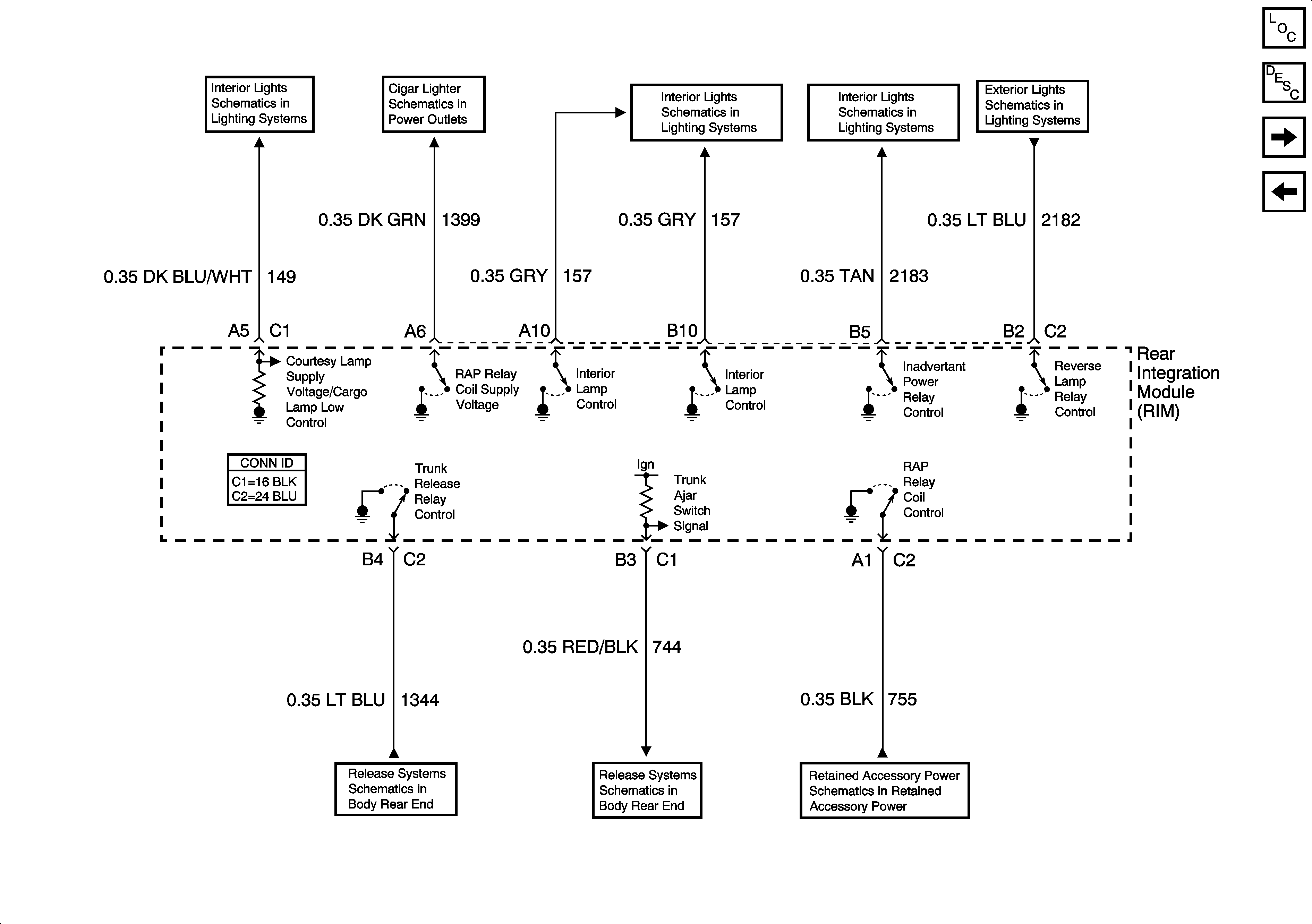
Figure 9:

RIM Input/Output - 1 of 2


Object Number: 1545428  Size: FS
Master Electrical Component List
Body Control System Description and Operation
RIM Input/Output - 2 of 2
RIM Power and Grounds
Passenger Side Courtesy Lamps
Cigar Lighter/Auxillary Outlet Schematics
Passenger Side Courtesy Lamps
Interior Lamp Relay
Backup Lamps
Rear Compartment Lid Release
Rear Compartment Lid Release
Power, Ground, and Components
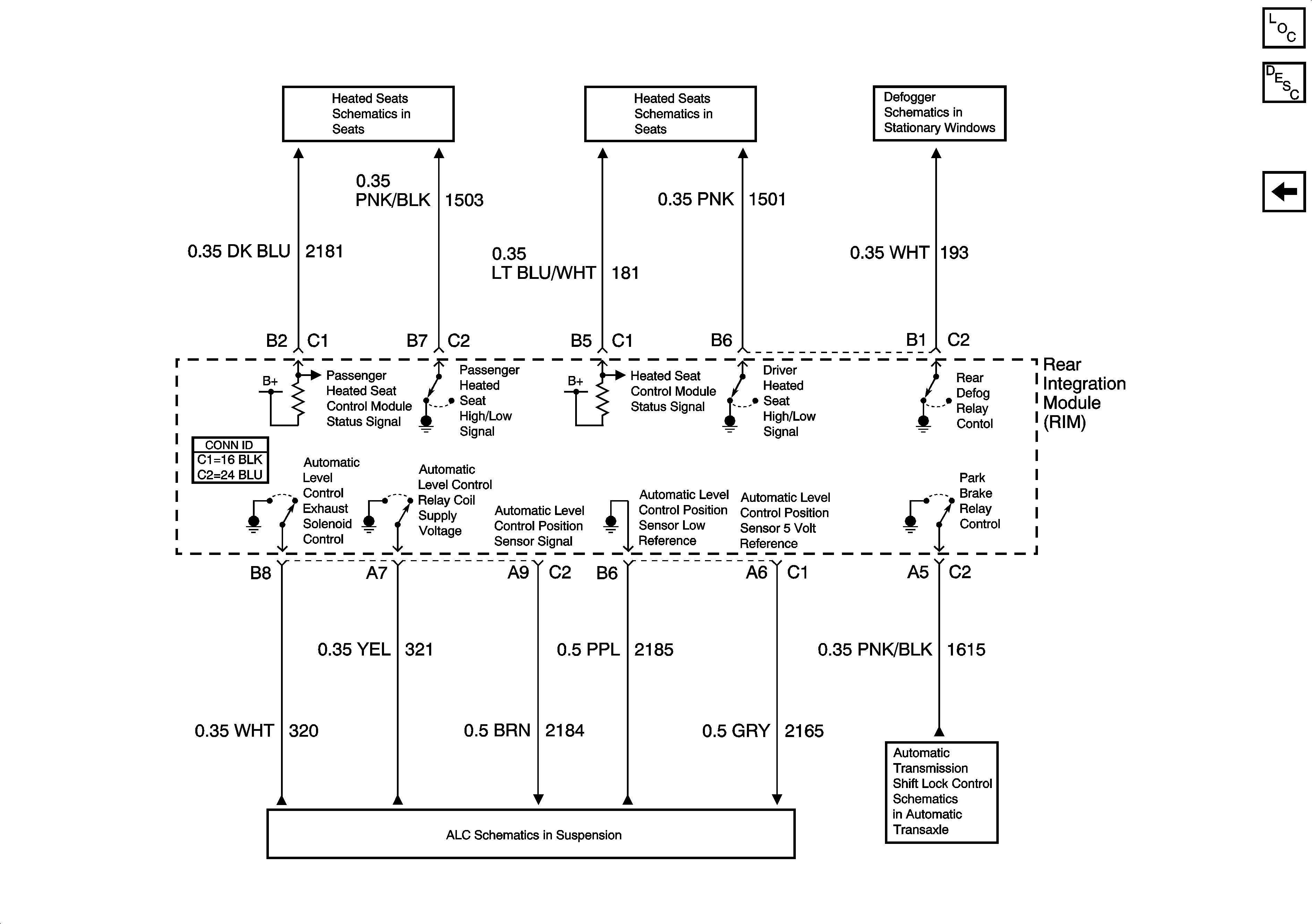
Figure 10:

RIM Input/Output - 2 of 2


Object Number: 1545429  Size: FS
Master Electrical Component List
Body Control System Description and Operation
RIM Input/Output - 1 of 2
Front Passenger Front Heated Seat Module
Driver Front Heated Seat Module
Rear Window Defogger
Automatic Level Control Suspension
A/T Shift Lock Control Solenoid - Class 2