GM Service Manual Online
For 1990-2009 cars only

Control Module

Repair Instructions

Diagnostic System Check

Schematic

Cellular Telephone Module

Refer to Cellular Telephone Module Replacement in Cellular Communications

Refer to Diagnostic System Check - Cellular Communication in Cellular Communications

Refer to

Cellular Telephone Module and RF Signal Amplifier -- Power, Ground (w/o UE1)


Object Number: 499658  Size: FS
Cellular Communication Components
Cellular Telephone Circuit Description
Handling ESD Sensitive Parts Notice
Handling ESD Sensitive Parts Notice
G401
Power and Grounding Connector End Views Fuse Blocks and Ignition Switch
Rear Fuse Block Battery Voltage
Rear Fuse Block Battery Voltage
Cellular Telephone Module - Inputs and Outputs (w/oUE1)
in Cellular Communications

Dash Integration Module (DIM)

Refer to Dash Integration Module Replacement in Body Control System

Refer to Diagnostic System Check - Body Control System in Body Control System

Refer to

Dash Integration Module (DIM) -- Power, Ground and Serial Data


Object Number: 474558  Size: FS
Body Control Module Components
Body Control System Circuit Description
Dash Integration Module (DIM) - Ignition Switch Inputs
Handling ESD Sensitive Parts Notice
Rear Fuse Block Battery Voltage
RR BLO, RRDR MDL, HVAC BLO, STOP LP, IGN SW, and TSIG/HAZ Fuses
RR BLO, RRDR MDL, HVAC BLO, STOP LP, IGN SW, and TSIG/HAZ Fuses
Power and Grounding Connector End Views Fuse Blocks and Ignition Switch
Rear Fuse Block Battery Voltage
Body Control System Connector End Views
Data Link Connector Schematics
G201 - Steering Column
in Body Control System

Driver Door Module (DDM)

Refer to Door Control Module Replacement in Doors

Refer to Diagnostic System Check - Power Door Systems in Doors

Refer to

Driver Door Switch Assembly (DDSA) Power, Gd., Inputs and Outputs


Object Number: 491443  Size: FS
Power Door Systems Components
Door Description
Driver Door Switch Assembly (DDSA) Internal Details (w/Memory (A45))
Handling ESD Sensitive Parts Notice
Handling ESD Sensitive Parts Notice
Serial Data Class 2 (3 of 3)
Memory Function Switch
Front Door Dimming
G200
Front Door Dimming
Memory Function Switch
in Doors

Driver Door Switch Assembly (DDSA)

Refer to Front Door Switch Replacement in Doors

Refer to Diagnostic System Check - Power Door Systems in Doors

Refer to

Driver Door Switch Assembly (DDSA) Power, Gd., Inputs and Outputs


Object Number: 491443  Size: FS
Power Door Systems Components
Door Description
Driver Door Switch Assembly (DDSA) Internal Details (w/Memory (A45))
Handling ESD Sensitive Parts Notice
Handling ESD Sensitive Parts Notice
Serial Data Class 2 (3 of 3)
Memory Function Switch
Front Door Dimming
G200
Front Door Dimming
Memory Function Switch
in Doors

Electronic Brake Control Module (EBCM)

Refer to Electronic Brake Control Module Replacement in Antilock Brake System

Refer to Diagnostic System Check - ABS in Antilock Brake System

Refer to

PWR, GND, Stoplamp Switch, Solenoid Valves, and Pump Motor


Object Number: 497826  Size: FS
ABS Components
ABS Description
Wheel Speed Sensors
Handling ESD Sensitive Parts Notice
Rear Fuse Block Battery Voltage
ELC, NIGHT VISION, HVAC, and ABS Fuses
Underhood Fuse Block Battery Voltage
Cruise Control Module PCM Inputs and Vehicle Speed Input
RH Tail Lamp
RH Tail Lamp
RH Tail Lamp
Tail Lamps
in Antilock Brake System

Electronic Suspension Control Module

Refer to Electronic Suspension Control Module Replacement in Road Sensing Suspension

Refer to Diagnostic System Check in Road Sensing Suspension

Refer to

Electronic Suspension Control Module -- Power, Ground


Object Number: 506303  Size: FS
Suspension Controls Components
Road Sensing Suspension Control Module Description
Actuators and Sensors
Handling ESD Sensitive Parts Notice
Handling ESD Sensitive Parts Notice
Handling ESD Sensitive Parts Notice
Power Distribution Schematics
Power Distribution Schematics
Power and Grounding Connector End Views Fuse Blocks and Ignition Switch
Road Sensing Suspension Control Module Description
Data Link Connector Schematics
Automatic Level Control Schematics
in Road Sensing Suspension

Inflatable Restraint Sensing and Diagnostic Module (SDM)

Refer to Inflatable Restraint Sensing and Diagnostic Module Replacement in SIR

Refer to Diagnostic System Check - SIR in SIR

Refer to

Power, Ground, and Side Impact Sensors


Object Number: 489026  Size: FS
SIR Components
SIR System Component Description and Definitions
SDM, Front and Rear Side Inflator Modules with Option AW9
Handling ESD Sensitive Parts Notice
SIR Handling Caution
SIR, VENT SOL, and IGN 1 Fuses
Data Link Connector Schematics
Seat Belt Schematics
in SIR

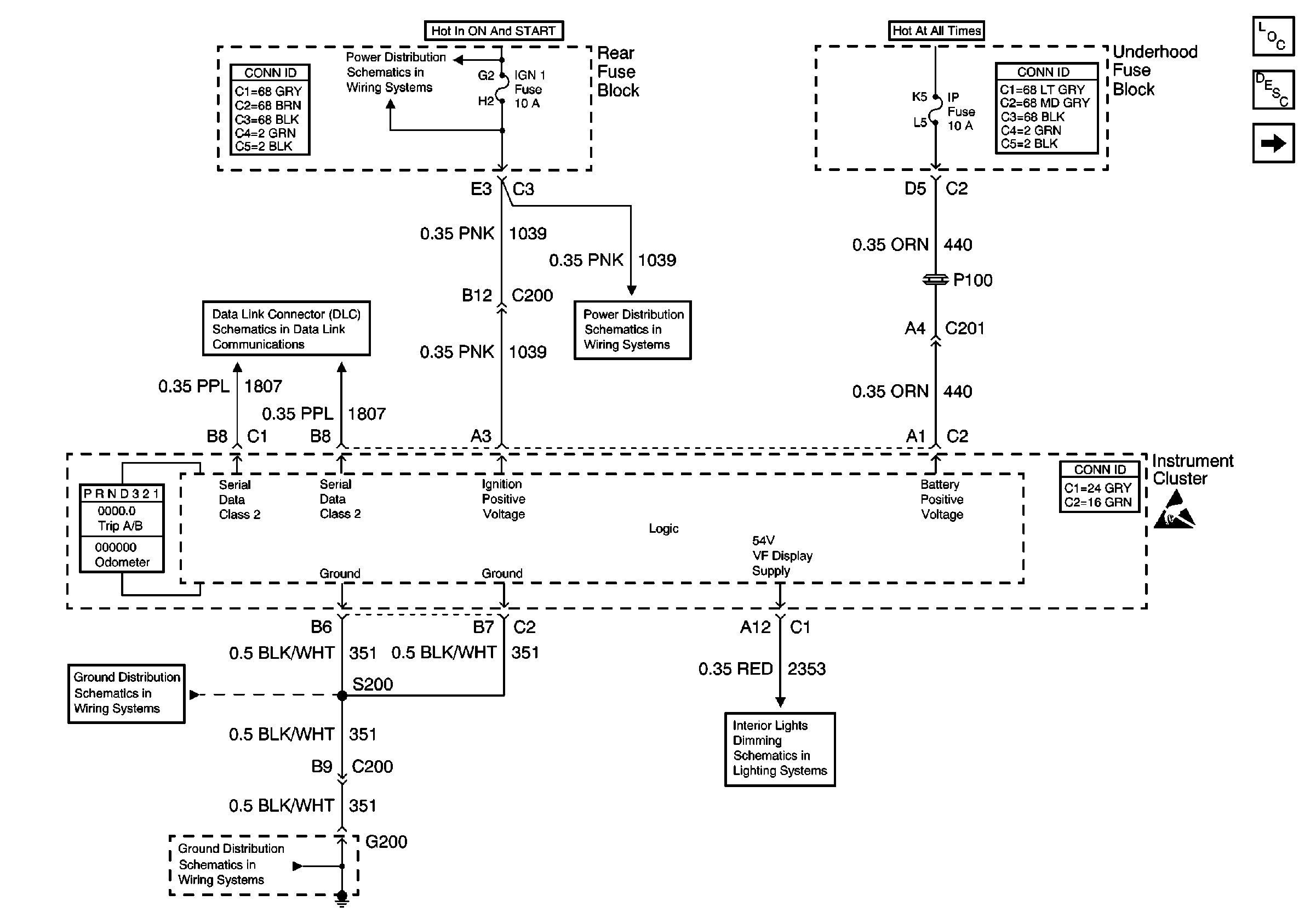
Instrument Cluster

Refer to Instrument Cluster Replacement in Instrument Panel, Gauges, and Console

Refer to Diagnostic System Check - Instrument Cluster in Instrument Panel, Gauges, and Console

Refer to

Power, Ground, Class 2, and 54V VF Display Supply


Object Number: 499939  Size: FS
Instrument Cluster Components
Instrument Cluster Operation
Gauges
Handling ESD Sensitive Parts Notice
SIR, VENT SOL, and IGN 1 Fuses
SIR, VENT SOL, and IGN 1 Fuses
Serial Data Class 2 (1 of 3)
Class 2 Dimming Communication
G200
G200
in Instrument Panel, Gauges, and Console

Instrument Panel Integration Module (IPM)

Refer to Instrument Panel Module Replacement in Body Control System

Refer to Diagnostic System Check - Body Control System in Body Control System

Refer to

Instrument Panel Integration Module (IPM) -- Power, Ground and Serial Data


Object Number: 474562  Size: FS
Body Control Module Components
Body Control System Circuit Description
Instrument Panel Integration Module (IPM) - HVAC Inputs and Outputs
Dash Integration Module (DIM) - Inputs and Outputs
Handling ESD Sensitive Parts Notice
Power and Grounding Connector End Views Fuse Blocks and Ignition Switch
Rear Fuse Block Battery Voltage
ELC, NIGHT VISION, HVAC, and ABS Fuses
Interior Lights Dimming Schematics
ELC, NIGHT VISION, HVAC, and ABS Fuses
Body Control System Connector End Views
Data Link Connector Schematics
G201 - Steering Column
Ground Distribution Schematics
in Body Control System

LH Middle Door Module (LMDM)

Refer to Door Control Module Replacement in Doors

Refer to Diagnostic System Check - Power Door Systems in Doors

Refer to

Left Middle Door Module (LMDM) Power, Gd., Inputs and Outputs (w/ V4U)


Object Number: 525853  Size: FS
Power Door Systems Components
Door Description
Right Middle Door Module (RMDM) Power, Gd., Inputs and Outputs (w/V4U)
Passenger Front Door Module (PFDM) Power, Gd., Inputs and Outputs
Handling ESD Sensitive Parts Notice
Rear Fuse Block Battery Voltage
Serial Data Class 2 (3 of 3)
PWR WDO Circuit Breaker
AUDIO AMP and EXP LTG/LK Fuses
LH Middle Door Power Door Lock (w/V4U)
PWR WDO Circuit Breaker
G302-V4U/B9Q
G302-V4U/B9Q CKT 551
in Doors

LH Rear Door Module (LRDM)

Refer to Door Control Module Replacement in Doors

Refer to Diagnostic System Check - Power Door Systems in Doors

Refer to

Left Rear Door Module (LRDM) Power, Gd., Inputs and Outputs


Object Number: 491454  Size: FS
Power Door Systems Components
Door Description
Right Rear Door Module (RRDM) Power, Gd., Inputs and Outputs
Right Middle Door Module (RMDM) Power, Gd., Inputs and Outputs (w/V4U)
Handling ESD Sensitive Parts Notice
PWR WDO Circuit Breaker
RR BLO, RRDR MDL, HVAC BLO, STOP LP, IGN SW, and TSIG/HAZ Fuses
PWR WDO Circuit Breaker
LH Rear Door Power Door Lock
G302 - LH Front Seat
LH Power Windows
Data Link Connector Schematics
G302 - RH Front Seat
in Doors

Memory Seat Module (MSM) (w/A45)

Refer to Memory Seat Control Module Replacement in Seats

Refer to Diagnostic System Check - Power Seat Systems in Seats

Refer to

(A45 with AL2) PWR, GND, LH Seat Switch and MSM


Object Number: 492536  Size: FS
Power Seat Systems Components
Memory Seat Circuit Description
Memory Seat Schematics With AL2_Vert, Horizontal Motors and Position Sen
Memory Function Switch
NAV Fuse and POWER SEAT Circuit Breaker
MEM T&T, RRLUM/ANT, and HTDST LF Fuses
MEM T&T, RRLUM/ANT, and HTDST LF Fuses
G302 - LH Front Seat
Handling ESD Sensitive Parts Notice
G302 - LH Front Seat
in Seats

Navigation Data Entry Processor

Refer to Navigation Data Processor Replacement in Entertainment

Refer to Diagnostic System Check - Navigation System in Instrument Panel, Gauges, and Console

Refer to

Power, Ground and Class 2


Object Number: 499646  Size: FS
Navigation System Components
Gateway Communication and Video Jacks
Navigation System Connector End Views
G401
G402 - Fuel Sender and Other Items
in Instrument Panel, Gauges, and Console

Navigation Data Processor

Refer to Navigation Data Processor Replacement in Entertainment

Refer to Diagnostic System Check - Navigation System in Instrument Panel, Gauges, and Console

Refer to

Power, Ground and Class 2


Object Number: 499646  Size: FS
Navigation System Components
Gateway Communication and Video Jacks
Navigation System Connector End Views
G401
G402 - Fuel Sender and Other Items
in Instrument Panel, Gauges, and Console

Passenger Front Door Module (PFDM)

Refer to Door Control Module Replacement in Doors

Refer to Diagnostic System Check - Power Door Systems in Doors

Refer to

Passenger Front Door Module (PFDM) Power, Gd., Inputs and Outputs


Object Number: 491451  Size: FS
Power Door Systems Components
Door Description
Passenger Front Door Module (PFDM) Power, Gd., Inputs and Outputs
Driver Door Module (DDM) Power, Gd., Inputs and Outputs
Handling ESD Sensitive Parts Notice
PWR WDO Circuit Breaker
Serial Data Class 2 (2 of 3)
G201 - Body Harness
RH Power Windows
in Doors

Powertrain Control Module (PCM)

Refer to Powertrain Control Module Replacement/Programming in Engine Controls - 4.6 L

Refer to Powertrain On Board Diagnostic (OBD) System Check in Engine Controls - 4.6 L

Refer to

PCM Power and Ground


Object Number: 520701  Size: FS
Engine Controls Components
Powertrain Control Module (PCM)
DLC and MIL
OBD II Symbol Description Notice
Handling ESD Sensitive Parts Notice
Ignition Switch
Rear Fuse Block Battery Voltage
RR BLO, RRDR MDL, HVAC BLO, STOP LP, IGN SW, and TSIG/HAZ Fuses
RR BLO, RRDR MDL, HVAC BLO, STOP LP, IGN SW, and TSIG/HAZ Fuses
Power and Grounding Connector End Views Fuse Blocks and Ignition Switch
Ignition Switch
Starting and Charging Schematics
Underhood Fuse Block Battery Voltage
START Circuit Breaker, PCM IGN and IGN1 Fuses
Power and Grounding Connector End Views Fuse Blocks and Ignition Switch
Powertrain Control Module Connector End Views
G100
in Engine Controls - 4.6 L

Radio

Refer to Radio Replacement in Entertainment

Refer to Diagnostic System Check - Radio/Audio System in Entertainment

Refer to

Power and Ground


Object Number: 471045  Size: FS
Entertainment Components
Radio/Audio System Circuit Description exc UY4
Compact Disc (CD) Player
Handling ESD Sensitive Parts Notice
Cellular Telephone Module - Inputs and Outputs, Shielded (w/oUE1)
Rear Fuse Block Battery Voltage
Instrument Panel Dimming
G201 - IP Harness
G201 - IP Harness
G301
G301
Data Link Connector Schematics
Compact Disc (CD) Player
Compact Disc (CD) Player

Power and Ground


Object Number: 471461  Size: FS
Entertainment Components
Radio/Audio System Circuit Description exc UY4
Compact Disc (CD) Player
Handling ESD Sensitive Parts Notice
Cellular Telephone Module - Inputs and Outputs, Shielded (w/oUE1)
Instrument Panel Dimming
G201 - IP Harness
G201 - IP Harness
Data Link Connector Schematics
G301
G301
Compact Disc (CD) Player
Compact Disc (CD) Player

Power and Ground


Object Number: 471585  Size: FS
Entertainment Components
Radio/Audio System Circuit Description exc UY4
Compact Disc (CD) Player
Handling ESD Sensitive Parts Notice
Cellular Telephone Module - Inputs and Outputs, Shielded (w/oUE1)
Compact Disc (CD) Player
Compact Disc (CD) Player
Data Link Connector Schematics
G301
Rear Fuse Block Battery Voltage
in Entertainment

Radio Amplifier

Refer to Radio Speaker Amplifier Replacement in Entertainment

Refer to Diagnostic System Check - Radio/Audio System in Entertainment

Refer to

Power and Ground


Object Number: 471045  Size: FS
Entertainment Components
Radio/Audio System Circuit Description exc UY4
Compact Disc (CD) Player
Handling ESD Sensitive Parts Notice
Cellular Telephone Module - Inputs and Outputs, Shielded (w/oUE1)
Rear Fuse Block Battery Voltage
Instrument Panel Dimming
G201 - IP Harness
G201 - IP Harness
G301
G301
Data Link Connector Schematics
Compact Disc (CD) Player
Compact Disc (CD) Player

Power and Ground


Object Number: 471461  Size: FS
Entertainment Components
Radio/Audio System Circuit Description exc UY4
Compact Disc (CD) Player
Handling ESD Sensitive Parts Notice
Cellular Telephone Module - Inputs and Outputs, Shielded (w/oUE1)
Instrument Panel Dimming
G201 - IP Harness
G201 - IP Harness
Data Link Connector Schematics
G301
G301
Compact Disc (CD) Player
Compact Disc (CD) Player

Power and Ground


Object Number: 471585  Size: FS
Entertainment Components
Radio/Audio System Circuit Description exc UY4
Compact Disc (CD) Player
Handling ESD Sensitive Parts Notice
Cellular Telephone Module - Inputs and Outputs, Shielded (w/oUE1)
Compact Disc (CD) Player
Compact Disc (CD) Player
Data Link Connector Schematics
G301
Rear Fuse Block Battery Voltage
in Entertainment

Rear Heater and A/C Control

Refer to Control Assembly Replacement - Rear in HVAC Systems - Automatic

Refer to Diagnostic System Check in HVAC Systems - Automatic

Refer to

Rear Blower Motor -- DeVille/DHS


Object Number: 472326  Size: FS
HVAC Components
Air Delivery Description and Operation
Rear Blower Motor - DTS
Front Blower Motor
Handling ESD Sensitive Parts Notice
Rear Fuse Block Battery Voltage
Power and Grounding Connector End Views Fuse Blocks and Ignition Switch
Data Link Connector Schematics
Interior Lights Schematics w/o V4U/B9Q
G200
in HVAC Systems - Automatic

Rear Integration Module (RIM)

Refer to Rear Integration Body Control Module Replacement in Body Control System

Refer to Diagnostic System Check - Body Control System in Body Control System

Refer to

Rear Integration Module (RIM) -- Power, Ground and Serial Data


Object Number: 474565  Size: FS
Body Control Module Components
Body Control System Circuit Description
Rear Integration Module (RIM) - Lighting and Other Inputs and Outputs
Instrument Panel Integration Module (IPM) - Inputs and Outputs
Handling ESD Sensitive Parts Notice
RR BLO, RRDR MDL, HVAC BLO, STOP LP, IGN SW, and TSIG/HAZ Fuses
RR BLO, RRDR MDL, HVAC BLO, STOP LP, IGN SW, and TSIG/HAZ Fuses
RR BLO, RRDR MDL, HVAC BLO, STOP LP, IGN SW, and TSIG/HAZ Fuses
SIR, VENT SOL, and IGN 1 Fuses
SIR, VENT SOL, and IGN 1 Fuses
Body Control System Connector End Views
SIR, VENT SOL, and IGN 1 Fuses
Data Link Connector Schematics
G401
in Body Control System

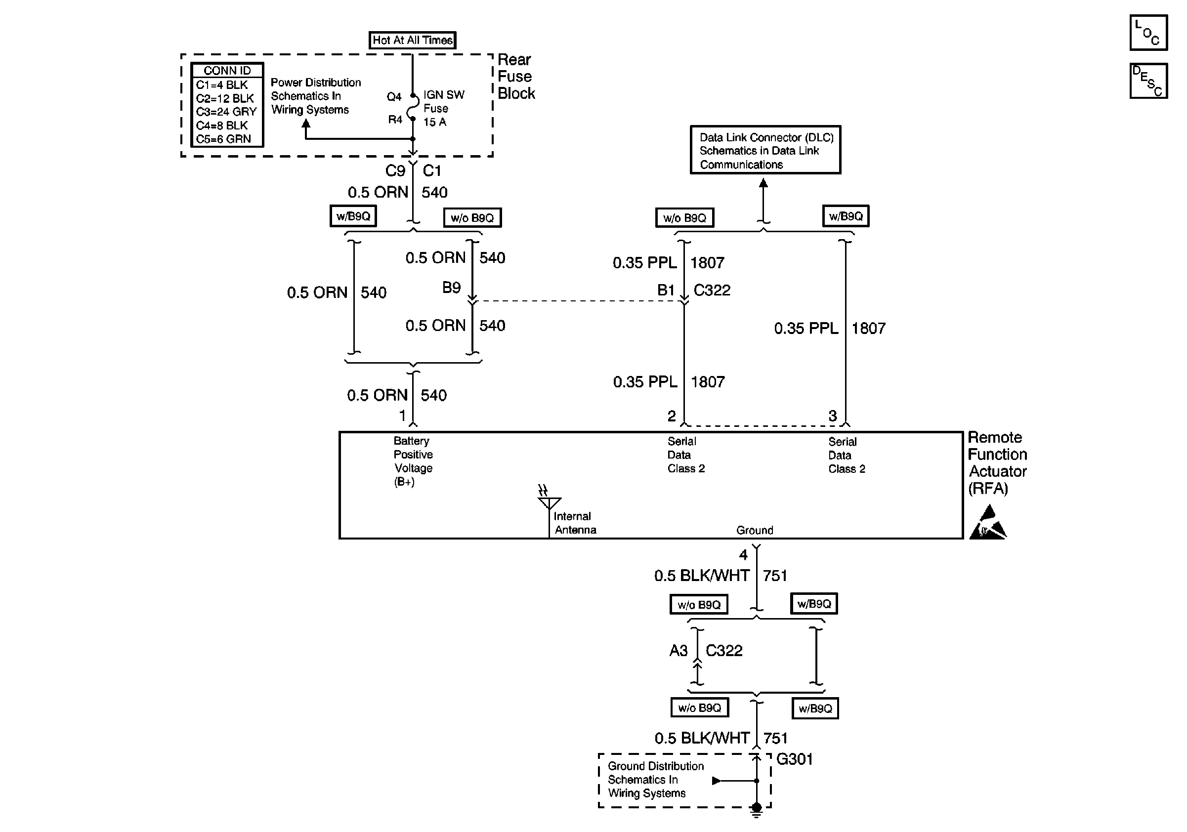
Remote Function Actuator (RFA) Module

Refer to RFA Module Replacement in Keyless Entry

Refer to Diagnostic System Check - Remote Keyless Entry in Keyless Entry

Refer to
Object Number: 501375  Size: FS
Keyless Entry Components
Keyless Entry System Description
Handling ESD Sensitive Parts Notice
RR BLO, RRDR MDL, HVAC BLO, STOP LP, IGN SW, and TSIG/HAZ Fuses
Serial Data Class 2 (3 of 3)
G301
in Keyless Entry

RH Front Power Window Switch

Refer to Front Door Switch Replacement in Doors

Refer to Diagnostic System Check - Power Door Systems in Doors

Refer to

Driver Door Switch Assembly (DDSA) Power, Gd., Inputs and Outputs


Object Number: 491443  Size: FS
Power Door Systems Components
Door Description
Driver Door Switch Assembly (DDSA) Internal Details (w/Memory (A45))
Handling ESD Sensitive Parts Notice
Handling ESD Sensitive Parts Notice
Serial Data Class 2 (3 of 3)
Memory Function Switch
Front Door Dimming
G200
Front Door Dimming
Memory Function Switch
in Doors

RH Middle Door Module (RMDM)

Refer to Door Control Module Replacement in Doors

Refer to Diagnostic System Check - Power Door Systems in Doors

Refer to

Right Middle Door Module (RMDM) Power, Gd., Inputs and Outputs (w/ V4U)


Object Number: 525861  Size: FS
Power Door Systems Components
Door Description
Left Rear Door Module (LRDM) Power, Gd., Inputs and Outputs
Left Middle Door Module (LMDM) Power, Gd., Inputs and Outputs (w/ V4U)
Handling ESD Sensitive Parts Notice
Rear Fuse Block Battery Voltage
Serial Data Class 2 (2 of 3)
PWR WDO Circuit Breaker
AUDIO AMP and EXP LTG/LK Fuses
PWR WDO Circuit Breaker
G302-V4U/B9Q
G302-V4U/B9Q
RH Middle Door Power Door Lock (w/ V4U)
G201-V4U/BQ9
in Doors

RH Rear Door Module (RRDM)

Refer to Door Control Module Replacement in Doors

Refer to Diagnostic System Check - Power Door Systems in Doors

Refer to

Right Rear Door Module (RRDM) Power,Gd., Inputs and Outputs


Object Number: 491469  Size: FS
Power Door Systems Components
Door Description
Left Rear Door Module (LRDM) Power, Gd., Inputs and Outputs
Handling ESD Sensitive Parts Notice
PWR WDO Circuit Breaker
RR BLO, RRDR MDL, HVAC BLO, STOP LP, IGN SW, and TSIG/HAZ Fuses
PWR WDO Circuit Breaker
Right Rear Door Power Door Lock (w/o B9Q)
G302 - RH Front Seat
RH Power Windows
Data Link Connector Schematics
G201 - Body Harness
G302 - RH Front Seat
in Doors

Steering Column Module

Refer to Steering Column Control Module Replacement in Steering Wheel and Column - Tilt

Refer to Tilt/Telescoping Steering Column Diagnostic System Check in Steering Wheel and Column - Tilt

Refer to

Tilt/Telescoping Steering Column Module Schematics


Object Number: 515579  Size: FS
Tilt Wheel/Column Components
Tilt/Telescoping Steering Column Circuit Description
Handling ESD Sensitive Parts Notice
Rear Fuse Block Battery Voltage
MEM T&T, RRLUM/ANT, and HTDST LF Fuses
Serial Data Class 2 (3 of 3)
G200
in Steering Wheel and Column - Tilt

Theft Deterrent Module

Refer to Theft Deterrent Module Replacement in Theft Deterrent

Refer to Diagnostic System Check - Theft Deterrent in Theft Deterrent

Refer to

VTD System


Object Number: 464360  Size: FS
HDHIBML, HDHIBMR, ALDL, PCM BATT, IP Fuses
G201 - Steering Column
G201 - Steering Column
Serial Data Class 2 (3 of 3)
Ignition Switch
RR BLO, RRDR MDL, HVAC BLO, STOP LP, IGN SW, and TSIG/HAZ Fuses
Handling ESD Sensitive Parts Notice
CTD Inputs and Outputs
Vehicle Theft Deterrent (VTD) Description
Theft Deterrent System Components
in Theft Deterrent

Vehicle Interface Unit (VIU)

Refer to OnStar Vehicle Interface Unit Replacement in Cellular Communications

Refer to Diagnostic System Check - Cellular Communication in Cellular Communications

Refer to OnStar Schematics in Cellular Communications