GM Service Manual Online
For 1990-2009 cars only
Figure 1:

Class 2 Dimming Communication


Object Number: 1412050  Size: FS
Master Electrical Component List
Interior Lighting Systems Description and Operation
Dimming Control
Class 2 Serial Data (1 of 3)
Class 2 Serial Data (2 of 3)
Class 2 Serial Data (3 of 3)
Figure 2:

Dimming Control


Object Number: 1412052  Size: FS
Master Electrical Component List
Interior Lighting Systems Description and Operation
Instrument Panel Dimming
Class 2 Dimming Communication
Low Beam Headlamps (Domestic)
Low Beam Headlamps (Export)
DIMR, LP PK R, and LP PK L Fuses and PRK LP Relay
DIMR, S-DAR,,and AUDIO Fuses
Air Temperature and Sunload Sensor
Instrument Panel Dimming
Figure 3:

Instrument Panel Dimming


Object Number: 1412053  Size: FS
Master Electrical Component List
Interior Lighting Systems Description and Operation
Steering Wheel Controls
Dimming Control
Steering Wheel Controls
Dimming Control
Console Dimming
G200
G201 - 2 of 3
G200
G201 - 2 of 3
Figure 4:

Steering Wheel Controls


Object Number: 1386699  Size: FS
Master Electrical Component List
Interior Lighting Systems Description and Operation
Console Dimming
Instrument Panel Dimming
Instrument Panel Dimming
G200
Horns Schematics
SIR Caution for Zoning
G302 - 2 of 3
G302 - 1 of 3
G201 - 3 of 3
G200
Figure 5:

Console Dimming


Object Number: 1412054  Size: FS
Master Electrical Component List
Interior Lighting Systems Description and Operation
Front Door Dimming
Steering Wheel Controls
Instrument Panel Dimming
G201 - 2 of 3
G201 - 2 of 3
G201 - 3 of 3
G201 - 2 of 3
G201 - 3 of 3
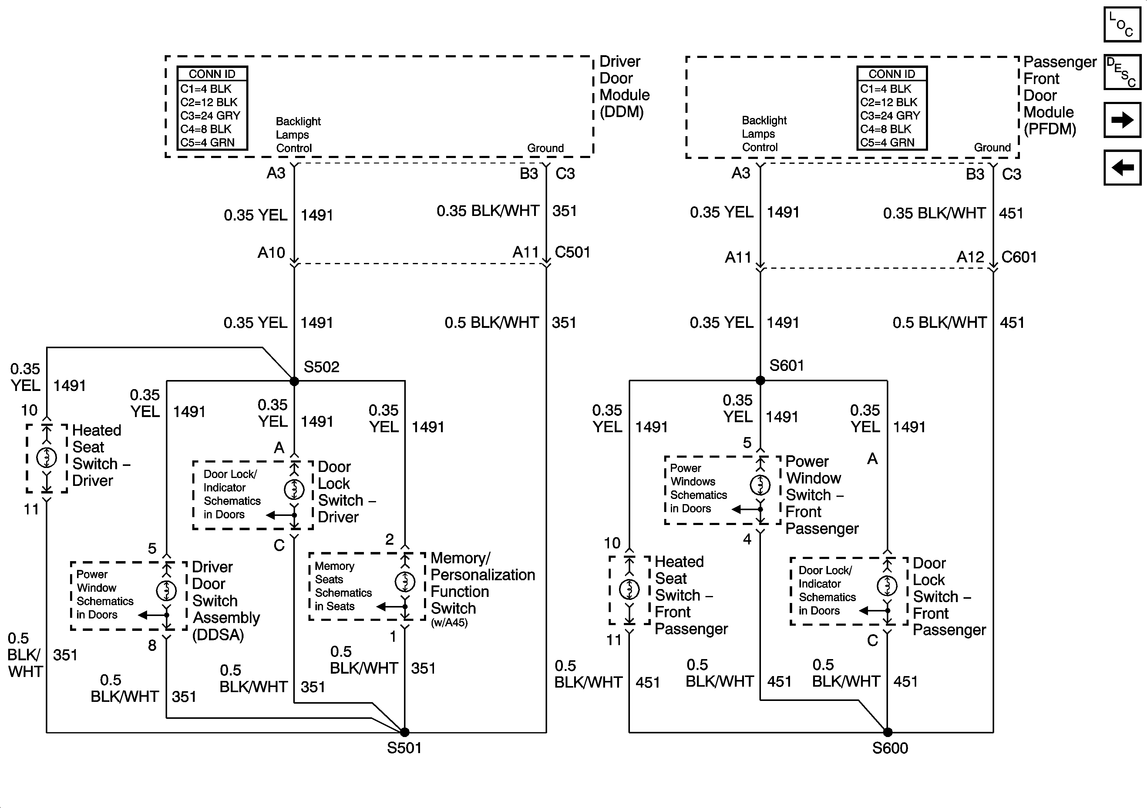
Figure 6:

Front Door Dimming


Object Number: 1412055  Size: FS
Master Electrical Component List
Interior Lighting Systems Description and Operation
Middle Door Dimming
Console Dimming
Left Power Windows
Driver Door Power Door Lock
Memory/Personalization Function Switch (A45)
Right Power Windows
Right Front Door Power Door Lock
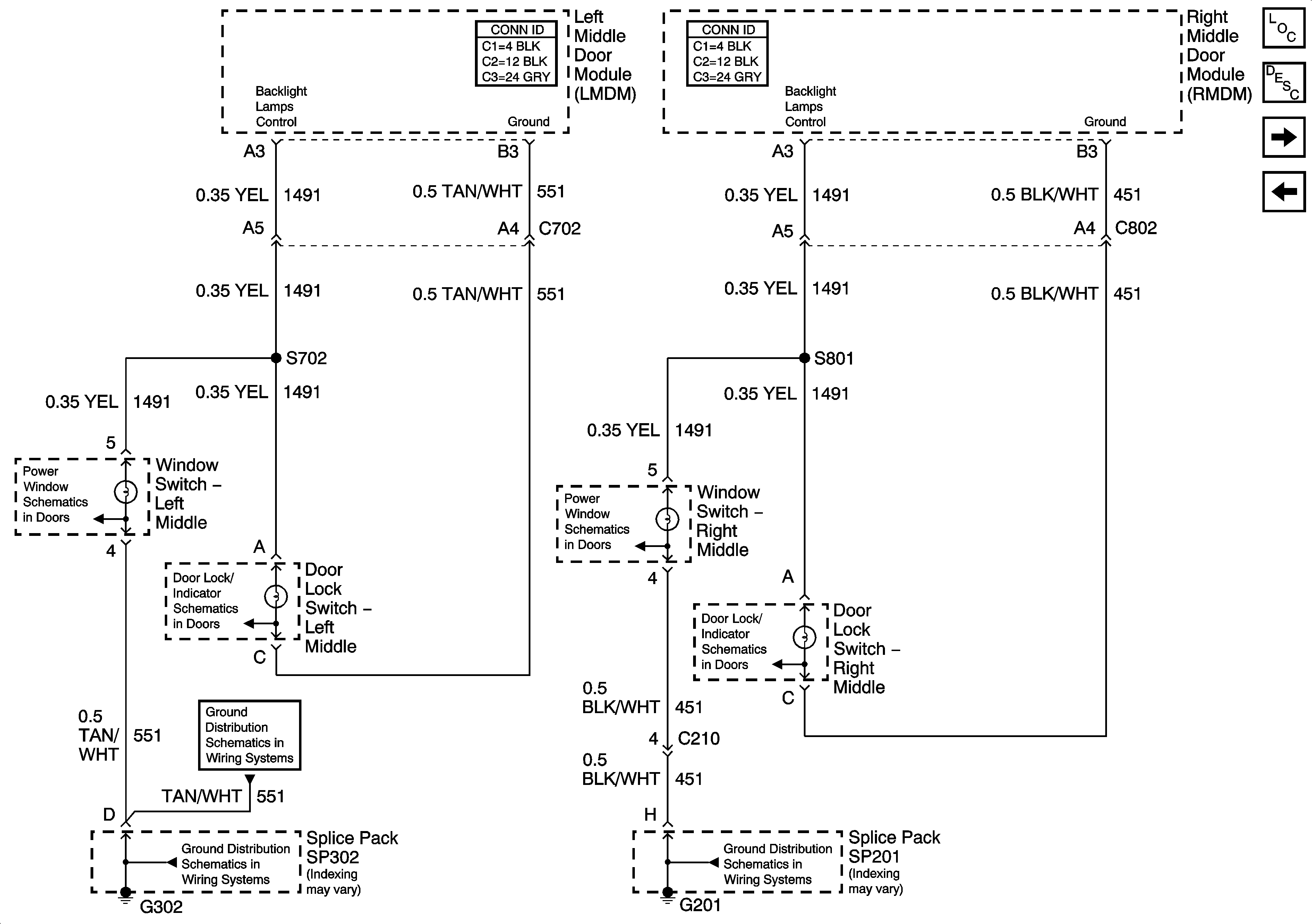
Figure 7:

Middle Door Dimming


Object Number: 1412056  Size: FS
Master Electrical Component List
Interior Lighting Systems Description and Operation
Rear Door Dimming
Front Door Dimming
Left Middle Door Power Window (V4U)
Right Middle Door Power Window (V4U)
Left Middle Door Power Door Lock (V4U)
Right Middle Door Power Door Lock (V4U)
G302 - 2 of 3
G302 - 2 of 3
G201 - 3 of 3
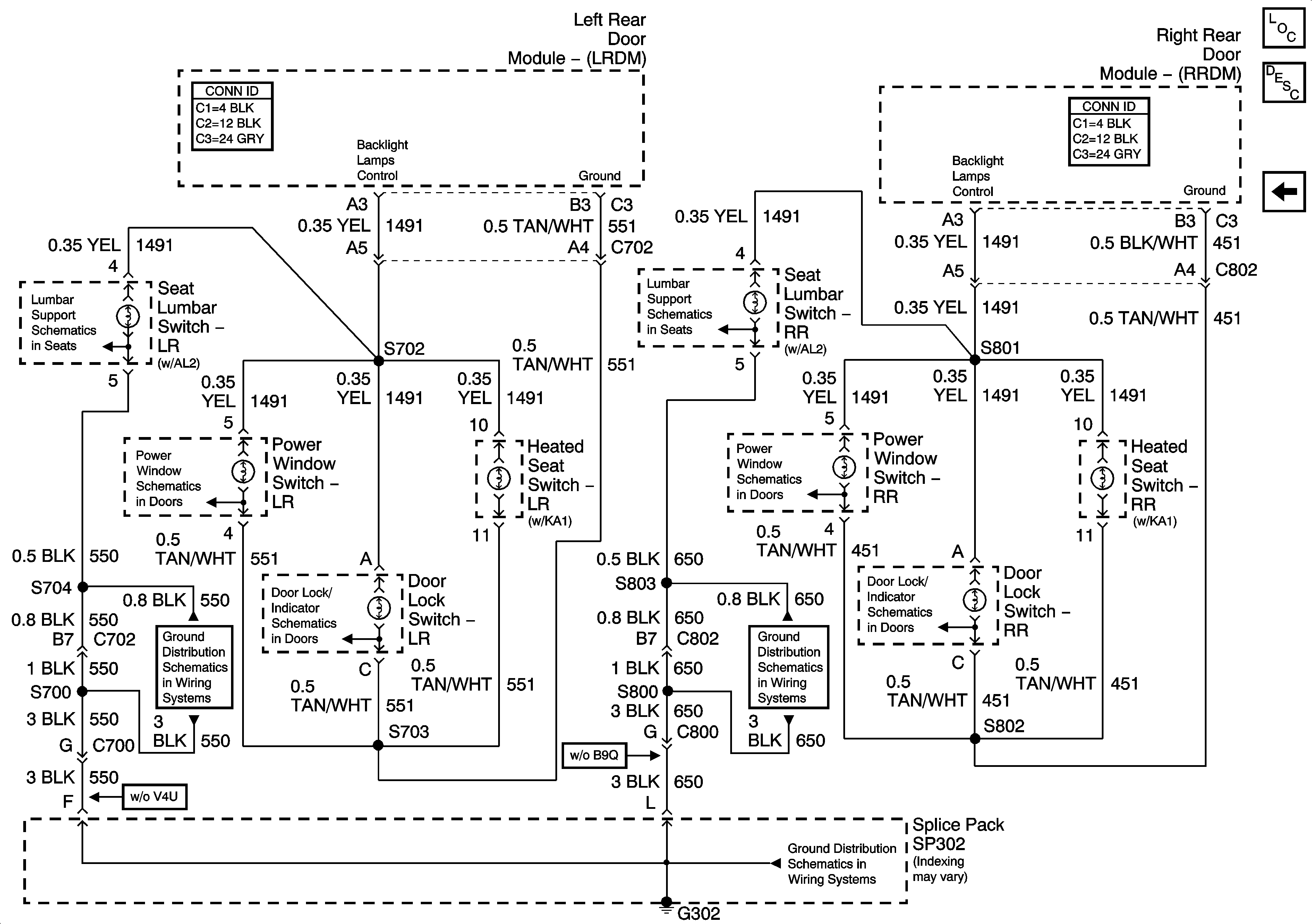
Figure 8:

Rear Door Dimming


Object Number: 1412057  Size: FS
Master Electrical Component List
Interior Lighting Systems Description and Operation
Middle Door Dimming
Power Lumbar Seat
Power Lumbar Seat
Left Power Windows
Right Power Windows
Left Rear Door Power Door Lock
Right Rear Door Power Door Lock (w/o B9Q)
G302 - 3 of 3
G302 - 1 of 3
G302 - 1 of 3