GM Service Manual Online
For 1990-2009 cars only
Makes
🢒
Chevrolet
🢒
2000
🢒
Chevrolet C-Series Medium Duty Truck C6/C7/C8
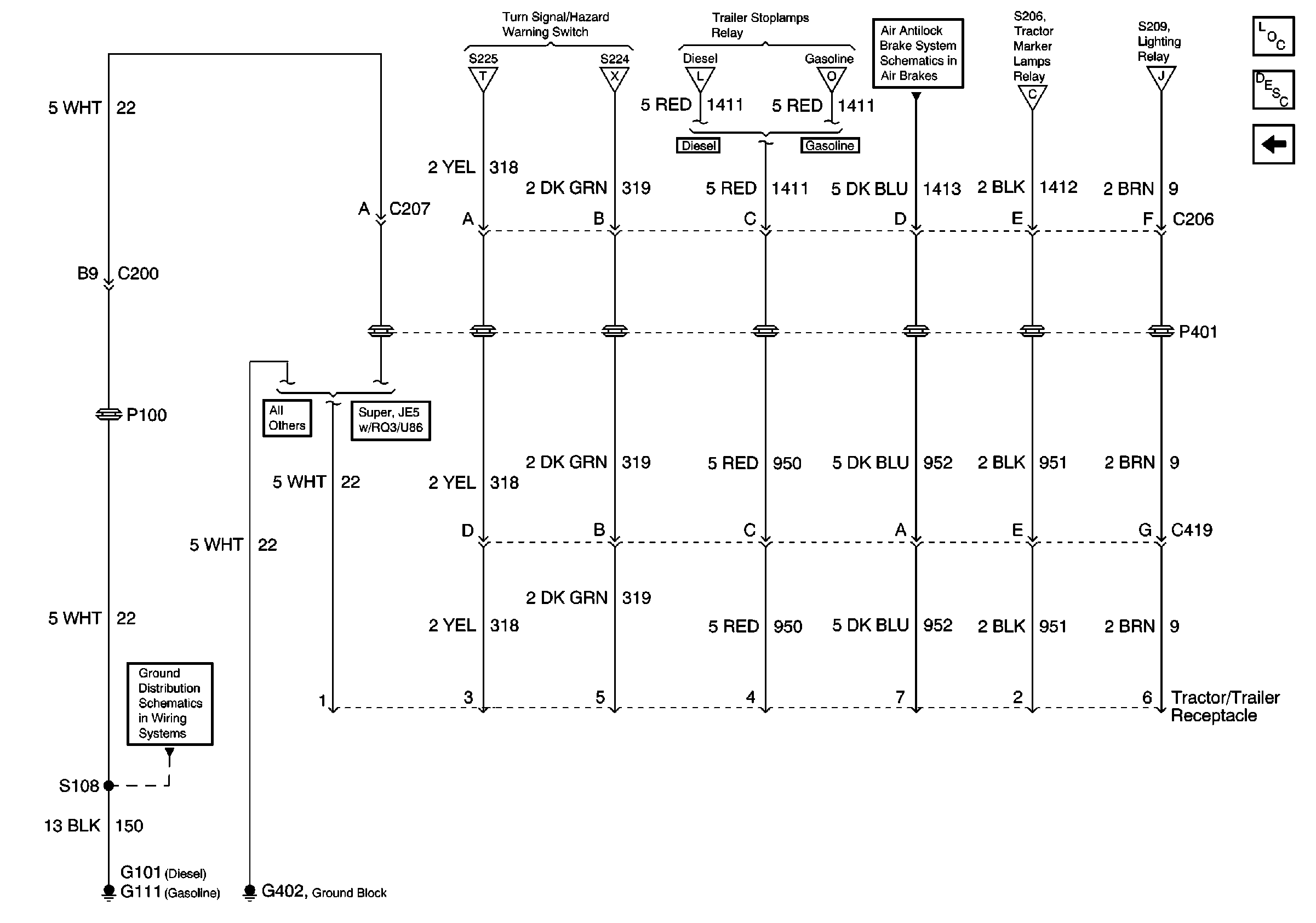
🢒 Trailer Lighting
Trailer Lighting
Trailer Lighting
Lighting Systems Components
Exterior Lights Circuit Description
Clearance and ID Lamps, Lighted Mirrors, Upfitter Provisions
Turn Signal Switch, Hazard Warning Switch
Turn Signal Switch, Hazard Warning Switch
Stoplamp Relays, Trailer Stop Relay (Diesel)
Stoplamp Relays, Trailer Stop Relay (Gasoline)
Circuit Power, Relays
Circuit Power, Relays
Air Antilock Brake System Schematics
G111 (Gasoline), G101 (Diesel)