GM Service Manual Online
For 1990-2009 cars only
Makes
🢒
Chevrolet
🢒
1999
🢒
Chevy Suburban 4WD - RHD
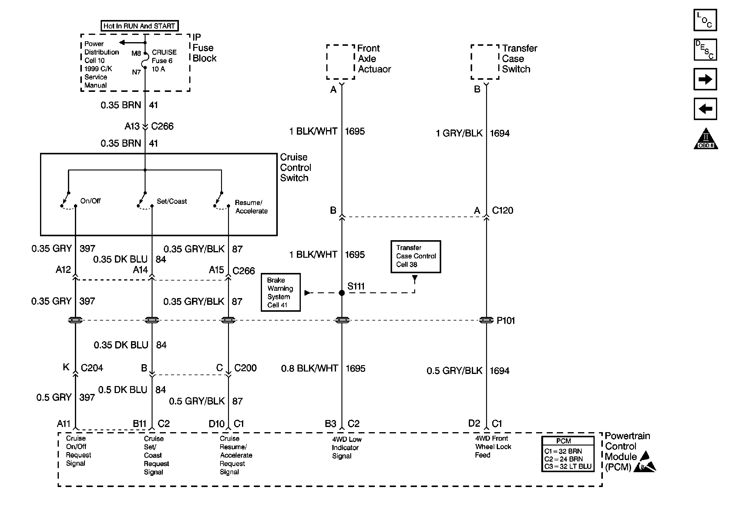
🢒 Cell 21: 4WD and Cruise Control
Cell 21: 4WD and Cruise Control
Cell 21: 4WD and Cruise Control
Cell 10: CRUISE, 4WD, BRAKE & HTR-A/C Fuses
Cell 41
Cell 38: Front Axle Actuator
Powertrain Control Module Connector End Views
Handling ESD Sensitive Parts Notice
Engine Controls Components
Cell 21: VSS Controls
Cell 21: Accelerator Pedal Position Module
OBD II Symbol Description Notice