GM Service Manual Online
For 1990-2009 cars only
Figure 1:

IGN Switch and PCM Feeds


Object Number: 410112  Size: FS
Engine Controls Components
Powertrain Control Module Description
MIL and Data Link Connector
Handling ESD Sensitive Parts Notice
Handling ESD Sensitive Parts Notice
Handling ESD Sensitive Parts Notice
Battery Positive Voltage Circuits from the Battery
Ignition Switch
G104 and G105
Figure 2:

MIL and Data Link Connector


Object Number: 397488  Size: FS
Engine Controls Components
Powertrain Control Module Description
Ignition Control Inputs
IGN Switch and PCM Feeds
Handling ESD Sensitive Parts Notice
Handling ESD Sensitive Parts Notice
CIGAR and IP Fuses (Rear Fuse Block)
CIGAR and IP Fuses (Rear Fuse Block)
Engine Coolant Temperature, Fuel, Speedometer, and Tachometer Gauges
Serial Data Class 2
Figure 3:

Ignition Control Inputs


Object Number: 397483  Size: FS
Engine Controls Components
Powertrain Control Module Description
Fuel Pump and Relay, L36
MIL and Data Link Connector
Handling ESD Sensitive Parts Notice
Handling ESD Sensitive Parts Notice
Handling ESD Sensitive Parts Notice
IGN-1 Relay, TRANS, DIS, OXY SEN, and IGN 1 Fuses (Underhood Fuse Block)
Figure 4:

Fuel Pump and Relay, L36


Object Number: 578279  Size: FS
Engine Controls Components
Powertrain Control Module Description
Fuel Pump Control, L67
Ignition Control Inputs
Handling ESD Sensitive Parts Notice
Battery Voltage to the Rear Fuse Block
G401 (1 of 2)
G302
Figure 5:

Fuel Pump Control, L67


Object Number: 397498  Size: FS
Engine Controls Components
Powertrain Control Module Description
Fuel Injectors
Fuel Pump and Relay, L36
Handling ESD Sensitive Parts Notice
Handling ESD Sensitive Parts Notice
Handling ESD Sensitive Parts Notice
Battery Voltage to the Rear Fuse Block
G302
IGN-1 Relay, TRANS, DIS, OXY SEN, and IGN 1 Fuses (Underhood Fuse Block)
G401 (1 of 2)
G302
Figure 6:

Fuel Injectors


Object Number: 391151  Size: FS
Engine Controls Components
Powertrain Control Module Description
Sensors
Fuel Pump Control, L67
Handling ESD Sensitive Parts Notice
INJ1 and INJ2 Fuses, CR CONT, PCM IGN Fuses (Underhood Fuse Block)
Figure 7:

Sensors


Object Number: 578331  Size: FS
Engine Controls Components
Powertrain Control Module Description
Fuel Tank Pressure Sensor, EVAP Canister Vent Solenoid
Fuel Injectors
Handling ESD Sensitive Parts Notice
Handling ESD Sensitive Parts Notice
Fuel Tank Pressure Sensor, EVAP Canister Vent Solenoid
Fuel Tank Pressure Sensor, EVAP Canister Vent Solenoid
Figure 8:

Fuel Tank Pressure Sensor, EVAP Cansiter Vent Solenoid


Object Number: 578297  Size: FS
Engine Controls Components
Powertrain Control Module Description
HO2S 1, HO2S 2
Sensors
Handling ESD Sensitive Parts Notice
Sensors
Sensors
Battery Voltage to the Rear Fuse Block
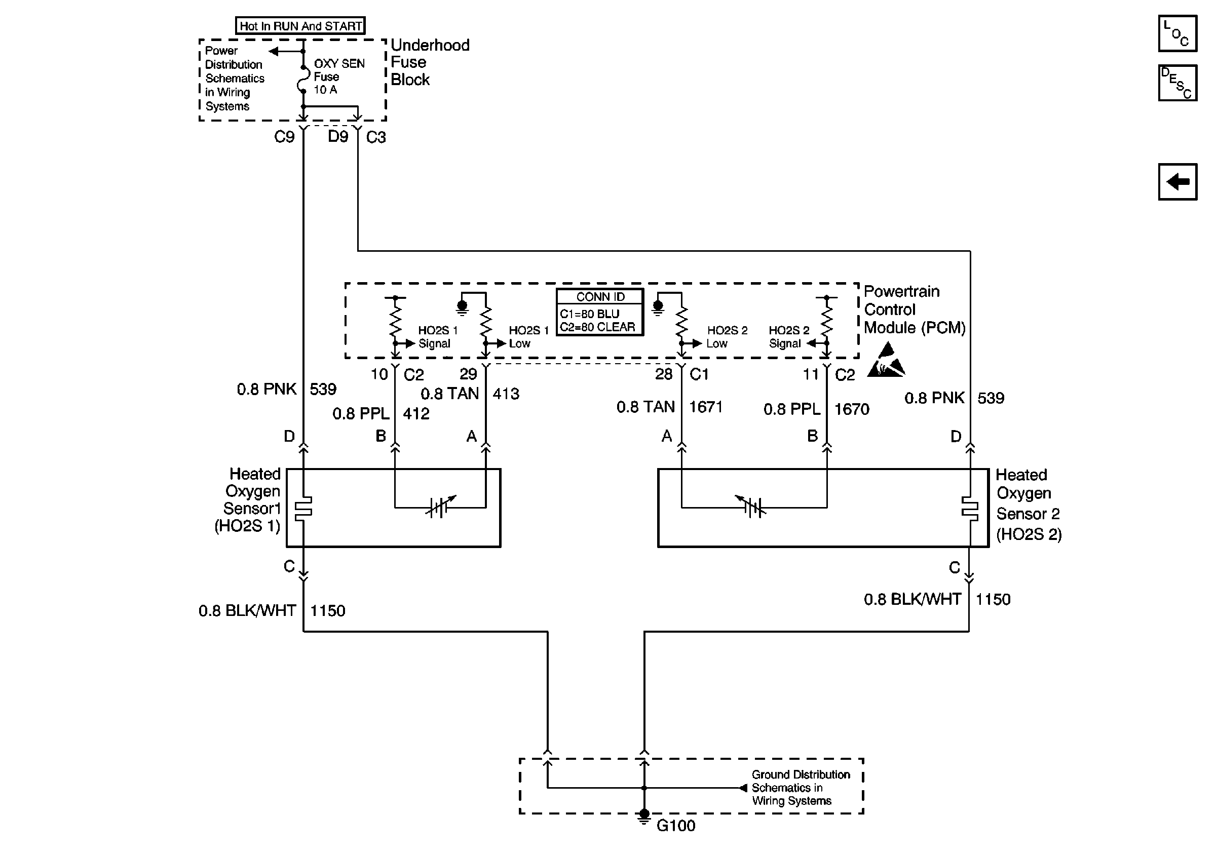
Figure 9:

HO2S 1, HO2S 2


Object Number: 578342  Size: FS
Engine Controls Components
Powertrain Control Module Description
IAC Valve, MAF and Knock Sensors
Fuel Tank Pressure Sensor, EVAP Canister Vent Solenoid
Handling ESD Sensitive Parts Notice
IGN-1 Relay, TRANS, DIS, OXY SEN, and IGN 1 Fuses (Underhood Fuse Block)
G100 and G102
Figure 10:

IAC Valve, MAF and Knock Sensors


Object Number: 578265  Size: FS
Engine Controls Components
Powertrain Control Module Description
VSS, HUD, Cruise, IP
HO2S 1, HO2S 2
Handling ESD Sensitive Parts Notice
IGN-1 Relay, TRANS, DIS, OXY SEN, and IGN 1 Fuses (Underhood Fuse Block)
G104 and G105
Figure 11:

VSS, HUD, Cruise, IP


Object Number: 397480  Size: FS
Engine Controls Components
Powertrain Control Module Description
EVAP Purge Valve, EGR Valve
IAC Valve, MAF and Knock Sensors
Handling ESD Sensitive Parts Notice
Handling ESD Sensitive Parts Notice
Handling ESD Sensitive Parts Notice
Handling ESD Sensitive Parts Notice
CCM, PCM Controls and Vehicle Speed Input
Figure 12:

EVAP Purge Valve, EGR Valve


Object Number: 578361  Size: FS
Engine Controls Components
Powertrain Control Module Description
Generator, Brake and Traction Controls, Oil level and BTSI Switches
VSS, HUD, Cruise, IP
Handling ESD Sensitive Parts Notice
IGN-1 Relay, TRANS, DIS, OXY SEN, and IGN 1 Fuses (Underhood Fuse Block)
Figure 13:

Generator, Brake and Traction Controls, Oil level and BTSI Switches


Object Number: 578381  Size: FS
Engine Controls Components
Powertrain Control Module Description
A/C Clutch and Relay
EVAP Purge Valve, EGR Valve
Handling ESD Sensitive Parts Notice
Handling ESD Sensitive Parts Notice
G104 and G105
G200 (1 of 2)
Figure 14:

A/C Clutch and Relay


Object Number: 391194  Size: FS
Engine Controls Components
Powertrain Control Module Description
Air Pump Motor and Vacuum Valve Solenoid, NC8 Only
Generator, Brake and Traction Controls, Oil level and BTSI Switches
Handling ESD Sensitive Parts Notice
START Circuit Breaker, HORN, and A/C CLU Fuses (Underhood Fuse Block)
G100 and G102
Figure 15:

Air Pump Motor and Vacuum Valve Solenoid, NC8 Only


Object Number: 578434  Size: FS
A/C Clutch and Relay
OBD II Symbol Description Notice
Handling ESD Sensitive Parts Notice
AIR, C/LTR, AUX PWR, WSW, ACCY Fuses and ACCY Relay (Underhood Fuse Block)
IGN-1 Relay, TRANS, DIS, OXY SEN, and IGN 1 Fuses (Underhood Fuse Block)
G104 and G105