GM Service Manual Online
For 1990-2009 cars only
Figure 1:

Headlamp Switch (Domestic)


Object Number: 795783  Size: FS
Figure 2:

Low Beam Headlamps (Domestic)


Object Number: 795788  Size: FS
Master Electrical Component List
Exterior Lighting Systems Description and Operation
High Beam Headlamps (Domestic)
Wiper/Washer Switch and Pump
Class 2 Serial Data (1 of 3)
High Beam Headlamps (Domestic)
High Beam Headlamps (Domestic)
High Beam Headlamps (Domestic)
High Beam Headlamps (Domestic)
Underhood Fuse Block- ACCY and HDLP Relays
Underhood Fuse Block Battery Voltage
Figure 3:

High Beam Headlamps (Domestic)


Object Number: 795791  Size: FS
Master Electrical Component List
Exterior Lighting Systems Description and Operation
Headlamp Switch (Export)
Low Beam Headlamps (Domestic)
G201 (1 of 3)
G201 (1 of 3)
Class 2 Serial Data (1 of 3)
G402 (2 of 2)
Low Beam Headlamps (Domestic)
Low Beam Headlamps (Domestic)
Underhood Fuse Block- ACCY and HDLP Relays
Low Beam Headlamps (Domestic)
Low Beam Headlamps (Domestic)
Figure 4:

Headlamp Switch (Export)


Object Number: 795794  Size: FS
Master Electrical Component List
Exterior Lighting Systems Description and Operation
Low Beam Headlamps (Export)
High Beam Headlamps (Domestic)
Class 2 Serial Data (1 of 3)
Air Temperature and Sunload Sensor
G200
G200
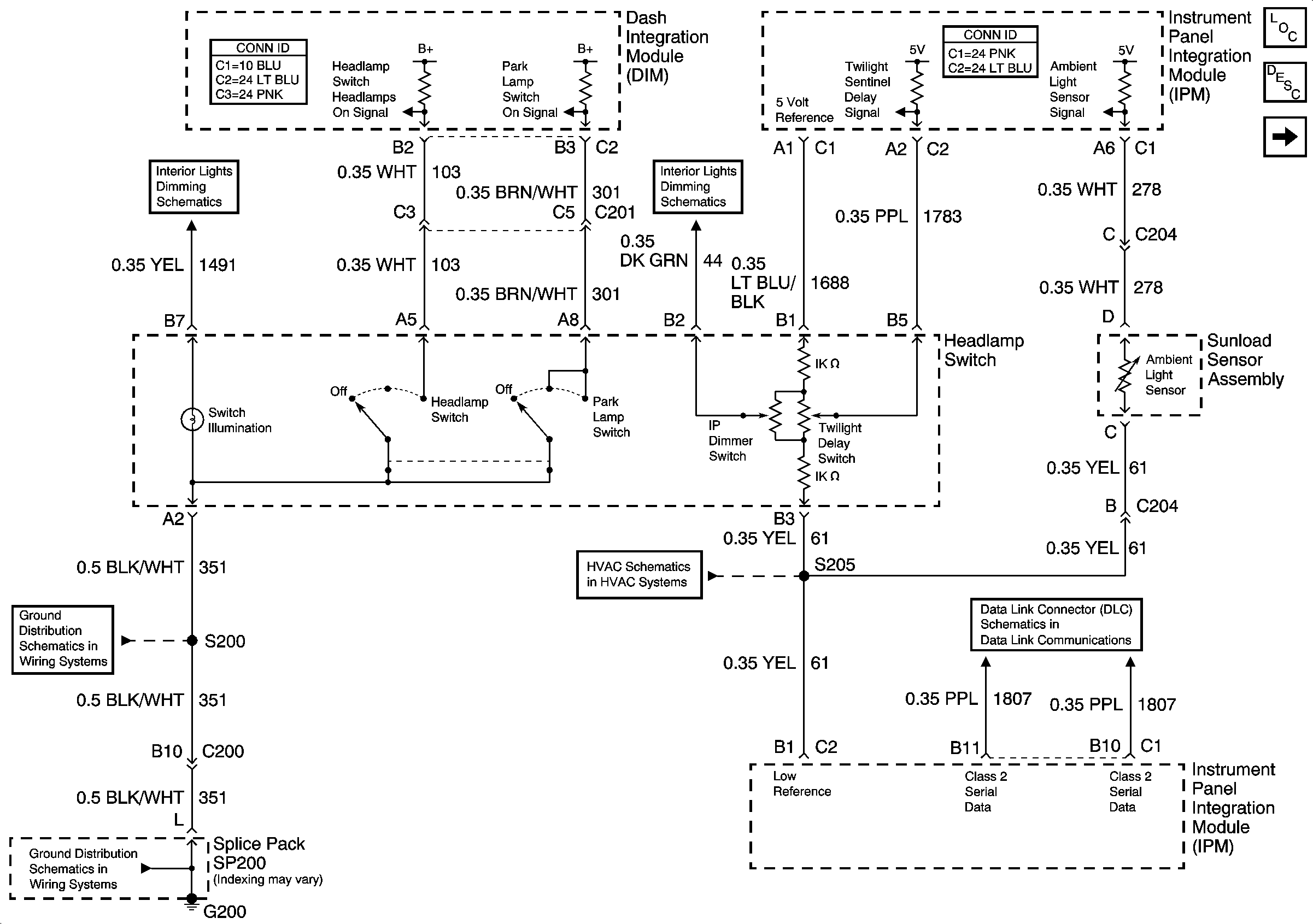
Instrument Panel Dimming
Headlamp Switch and Park Lamp Relay
Dimming Control
Figure 5:

Low Beam Headlamps (Export)


Object Number: 795796  Size: FS
Master Electrical Component List
Exterior Lighting Systems Description and Operation
Headlamp Switch (Export)
Wiper/Washer Switch and Pump
Class 2 Serial Data (1 of 3)
High Beam Headlamps (Export)
High Beam Headlamps (Export)
High Beam Headlamps (Export)
High Beam Headlamps (Export)
Underhood Fuse Block Battery Voltage
Figure 6:

High Beam Headlamps (Export)


Object Number: 795798  Size: FS
Master Electrical Component List
Exterior Lighting Systems Description and Operation
Fog Lights Schematics
Low Beam Headlamps (Export)
Low Beam Headlamps (Export)
G201 (1 of 3)
G201 (1 of 3)
Class 2 Serial Data (1 of 3)
Low Beam Headlamps (Export)
G402 (2 of 2)
Low Beam Headlamps (Export)
Underhood Fuse Block Battery Voltage
Low Beam Headlamps (Export)