GM Service Manual Online
For 1990-2009 cars only
Figure 1:

Powers and Grounds


Object Number: 735980  Size: FS
Master Electrical Component List
Gauges and MIL
BODY 3 and INADVERT Fuses
LAMPS and IGN 1 Fuses
BATT 3 and Ignition Switch (1 of 2)
WIPERS, ACC, and CLUSTER Fuses
RLY IGN 1 Fuse
IGN 0 BODY Fuse
G203
Figure 2:

Gauges


Object Number: 735993  Size: FS
Master Electrical Component List
Warning Indicator Lamps
Powers and Grounds
Power, Ground and Class 2 (1 of 2)
Figure 3:

Indicators


Object Number: 735996  Size: FS
Master Electrical Component List
Inputs (1 of 2)
Gauges and MIL
Indicators and Traction Control Switch
Brake Warning System
Pass-Key® II
MIL Control and DLC
Power, Ground and Class 2 (1 of 2)
G102
Figure 4:

Message Display Signals (1 of 2)


Object Number: 736000  Size: FS
Master Electrical Component List
Inputs (2 of 2)
Warning Indicator Lamps
Electronic PRNDL Signals
Steering Wheel Control Switch
Release Systems
Audible Warning System
Engine Cooling
02E - Fluid Level Switch Schematic
Module, Pump, and Sensor Circuits w/CE1
w/o CE1
Figure 5:

Message Display Signals (2 of 2)


Object Number: 736005  Size: FS
Master Electrical Component List
DIC Signals
Inputs (1 of 2)
Headlamp Dimmer Switch, Ambient Light Sensor, and Twilight Sentinel
Turn Lamps
Instrument Panel Backlighting
Front Door Backlighting
Headlamp Dimmer Switch, Ambient Light Sensor, and Twilight Sentinel
Headlamp Switch and Headlamp Control
Headlamp Switch
Instrument Panel Backlighting
Headlamp Switch
Headlamp Switch and Park Lamp Control
Headlamp Dimmer Switch, Ambient Light Sensor, and Twilight Sentinel
Fog Lamps
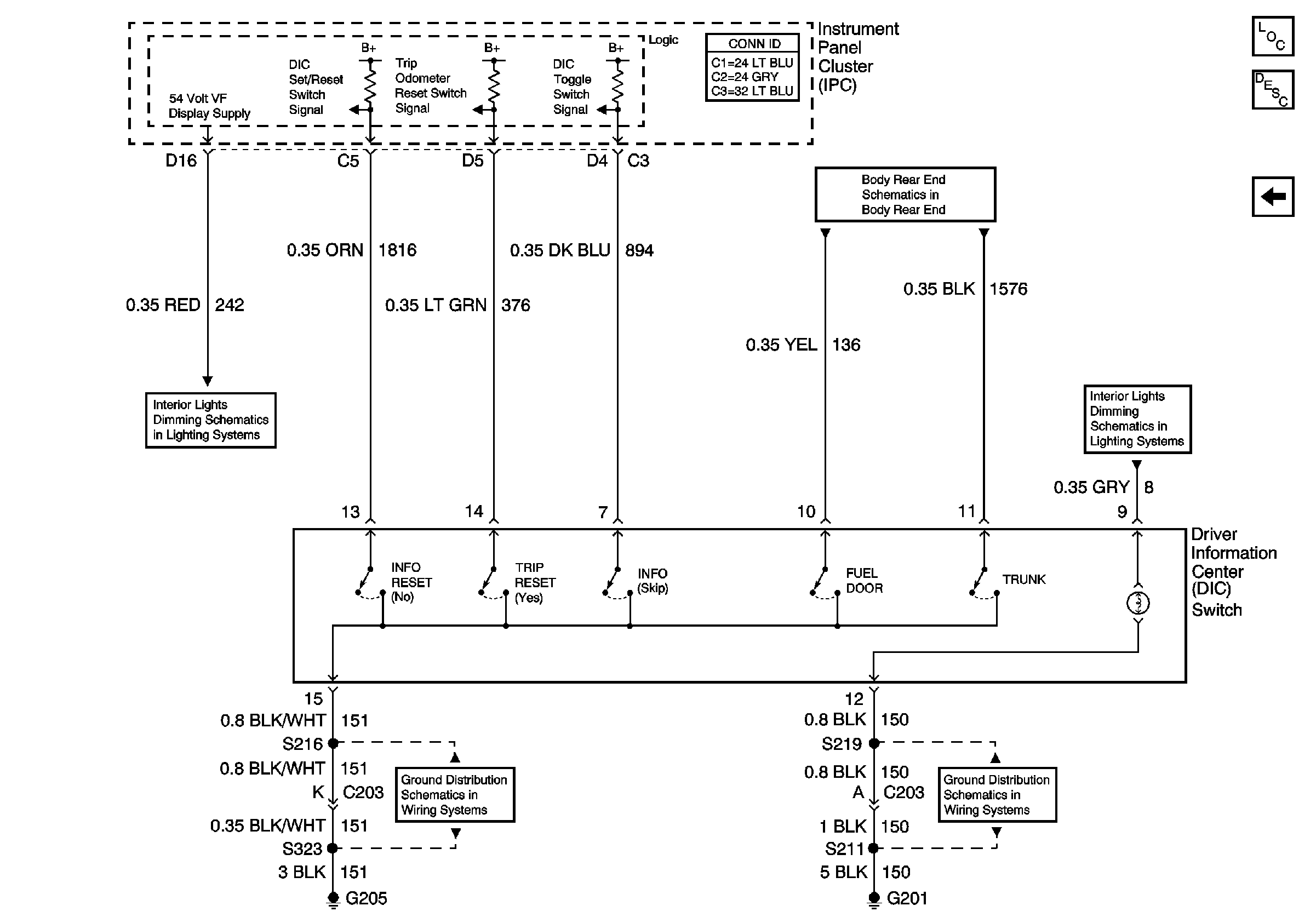
Figure 6:

DIC Signals


Object Number: 715971  Size: FS
Master Electrical Component List
Inputs (2 of 2)
Release Systems
Instrument Panel Backlighting
Instrument Panel Backlighting
G205
G201