GM Service Manual Online
For 1990-2009 cars only
Figure 1:

DIM Power and Ground


Object Number: 642116  Size: FS
DIM Ignition Inputs
Body Control System Component Views
Body Control System Description and Operation
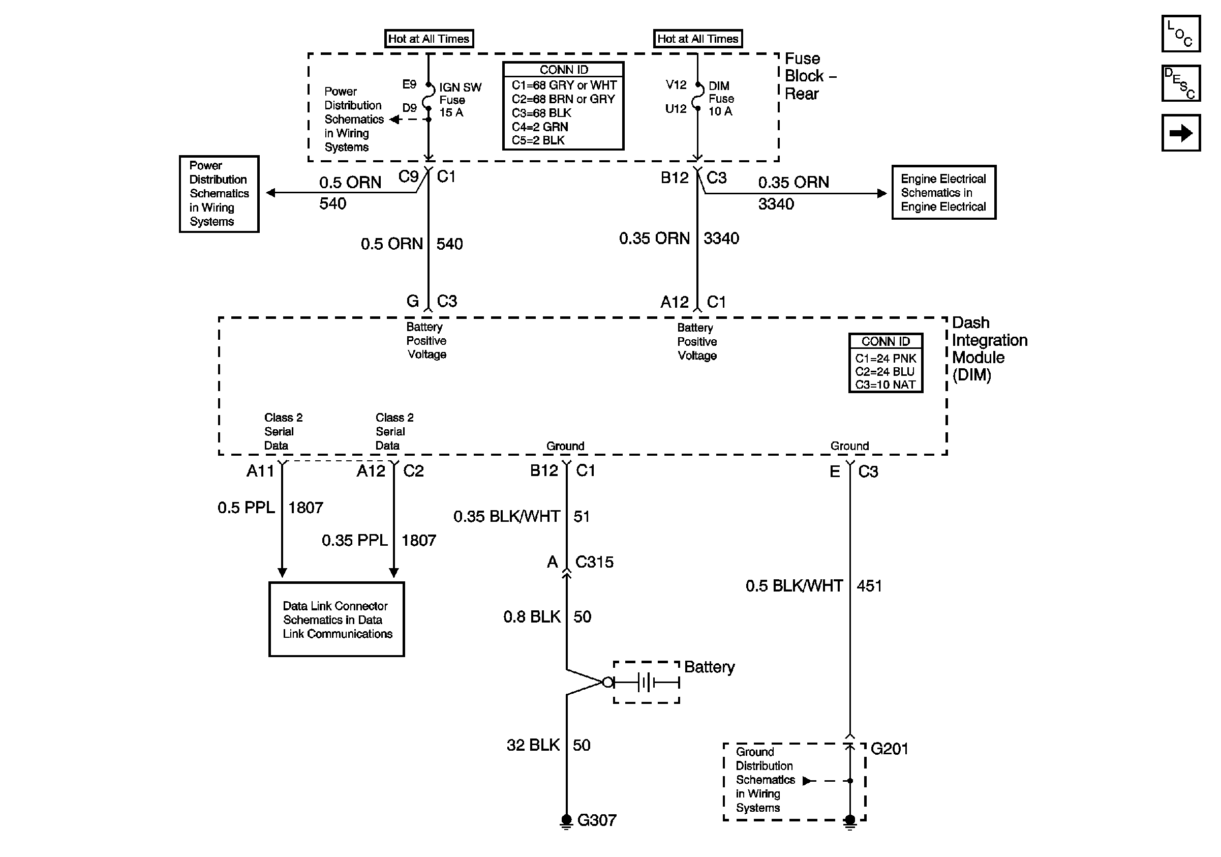
IGN SW and HTDST Fuses
IGN SW and HTDST Fuses
Generator Controls
Class 2 Serial Data Line (LH Drive) (1 of 2)
G201 (1 of 3)
Figure 2:

DIM Ignition Inputs


Object Number: 642118  Size: FS
DIM Power and Ground
DIM Inputs/Outputs (1 of 2)
Body Control System Component Views
Body Control System Description and Operation
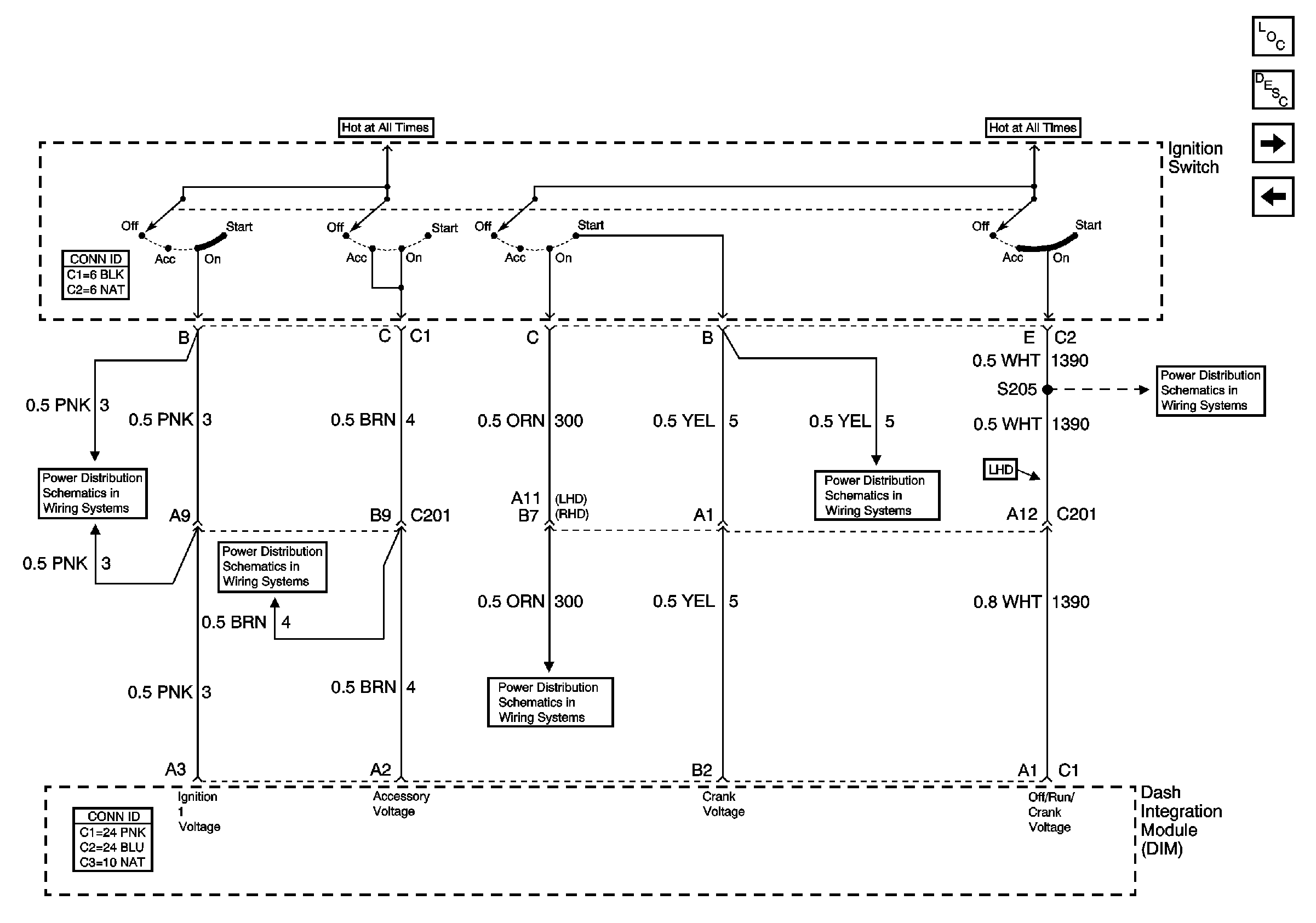
Ignition Switch
Ignition Switch
Ignition Switch
Ignition Switch
Ignition Switch
Figure 3:

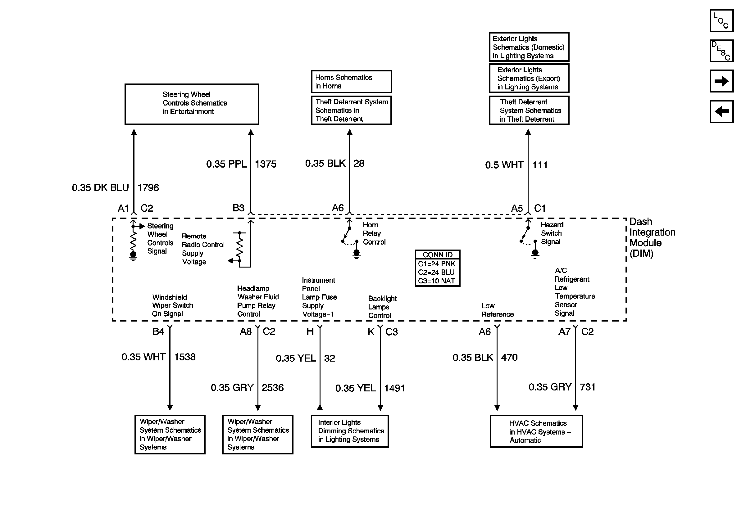
DIM Inputs/Outputs (1 of 2)


Object Number: 642119  Size: FS
DIM Ignition Inputs
DIM Inputs/Outputs (2 of 2)
Body Control System Component Views
Body Control System Description and Operation
Headlamp Switch Power and Ground
Headlamp Switch Power and Ground
Headlamp Switch Power and Ground
Headlamp Switch Power and Ground
Headlamp Switch Power and Ground
Headlamp Switch Power and Ground
Low Beam Headlamps
Park Lamp and Class 2
Park Lamp and Class 2
Park Lamp and Class 2
Front Fog Lamps
High Beam Headlamps
High Beam Headlamps
High Beam Headlamps
High Beam Headlamps
High Beam Headlamps
High Beam Headlamps
Class 2 and Tamper Switches
Figure 4:

DIM Inputs/Outputs (2 of 2)


Object Number: 642125  Size: FS
DIM Inputs/Outputs (1 of 2)
IPM Power and Ground
Body Control System Component Views
Body Control System Description and Operation
Power and Components
Power and Ground
Class 2 and Tamper Switches
Hazard Switch
Hazard Switch
Class 2 and Tamper Switches
Power, Ground, and Components
Headlamp Washer (Export)
Dimming Control
A/C Compressor Clutch
Figure 5:

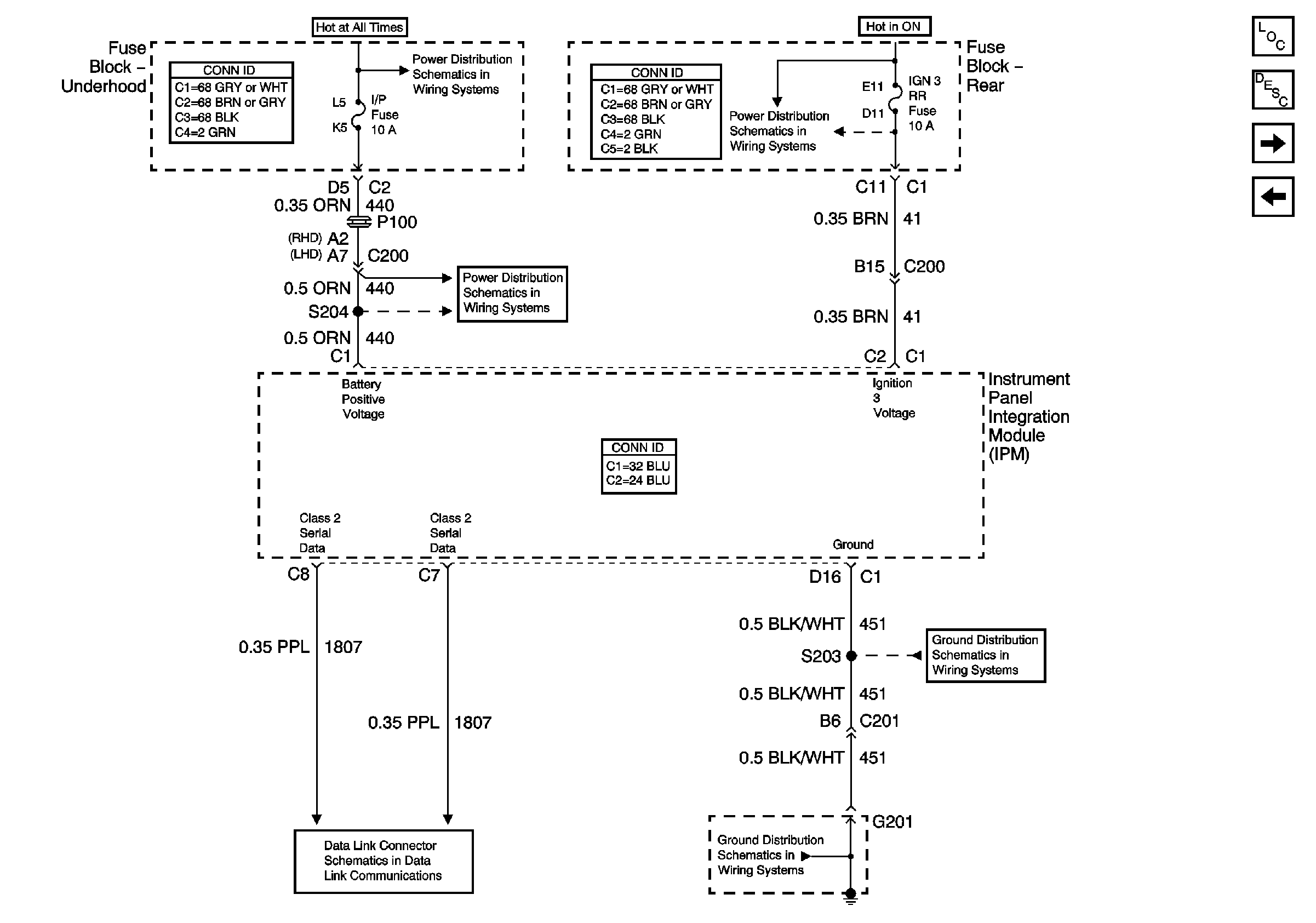
IPM Power and Ground


Object Number: 642126  Size: FS
DIM Inputs/Outputs (2 of 2)
IPM Inputs/Outputs (1 of 2)
Body Control System Component Views
Body Control System Description and Operation
Power to Underhood Fuse Block
Battery Feeds
EXPORT BRK, PCM BATT, I/P, and ABS Fuses
Class 2 Serial Data Line (LH Drive) (1 of 2)
G201 (1 of 3)
G201 (1 of 3)
Figure 6:

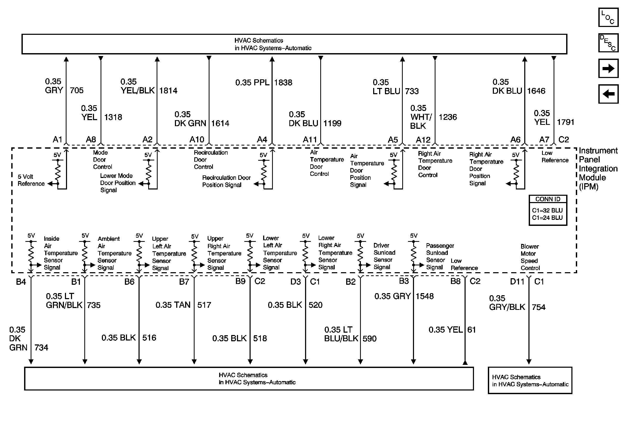
IPM Inputs/Outputs (1 of 2)


Object Number: 642127  Size: FS
IPM Power and Ground
IPM Inputs/Outputs (2 of 2)
Body Control System Component Views
Body Control System Description and Operation
Electric Actuators
Temperature Sensors - LH Drive
Blower Motor - Front
Figure 7:

IPM Inputs/Outputs (2 of 2)


Object Number: 642128  Size: FS
IPM Inputs/Outputs (1 of 2)
RIM Power and Ground
Body Control System Component Views
Body Control System Description and Operation
DIC and Headlamp Switch
Dimming Control
Headlamp Switch Power and Ground
Headlamp Switch Power and Ground
Headlamp Switch Power and Ground
Dimming Control
Headlamp Switch Power and Ground
Headlamp Switch Power and Ground
Headlamp Switch Power and Ground
Front Fog Lamps
Rear Fog Lamps
Right Courtesy, Compartment, and Ignition Key Cylinder Lamps
Vanity and Reading Lamps; Interior Lamp Switch
Radio and Ignition Switch Audible Warnings
Power and Ground
Figure 8:

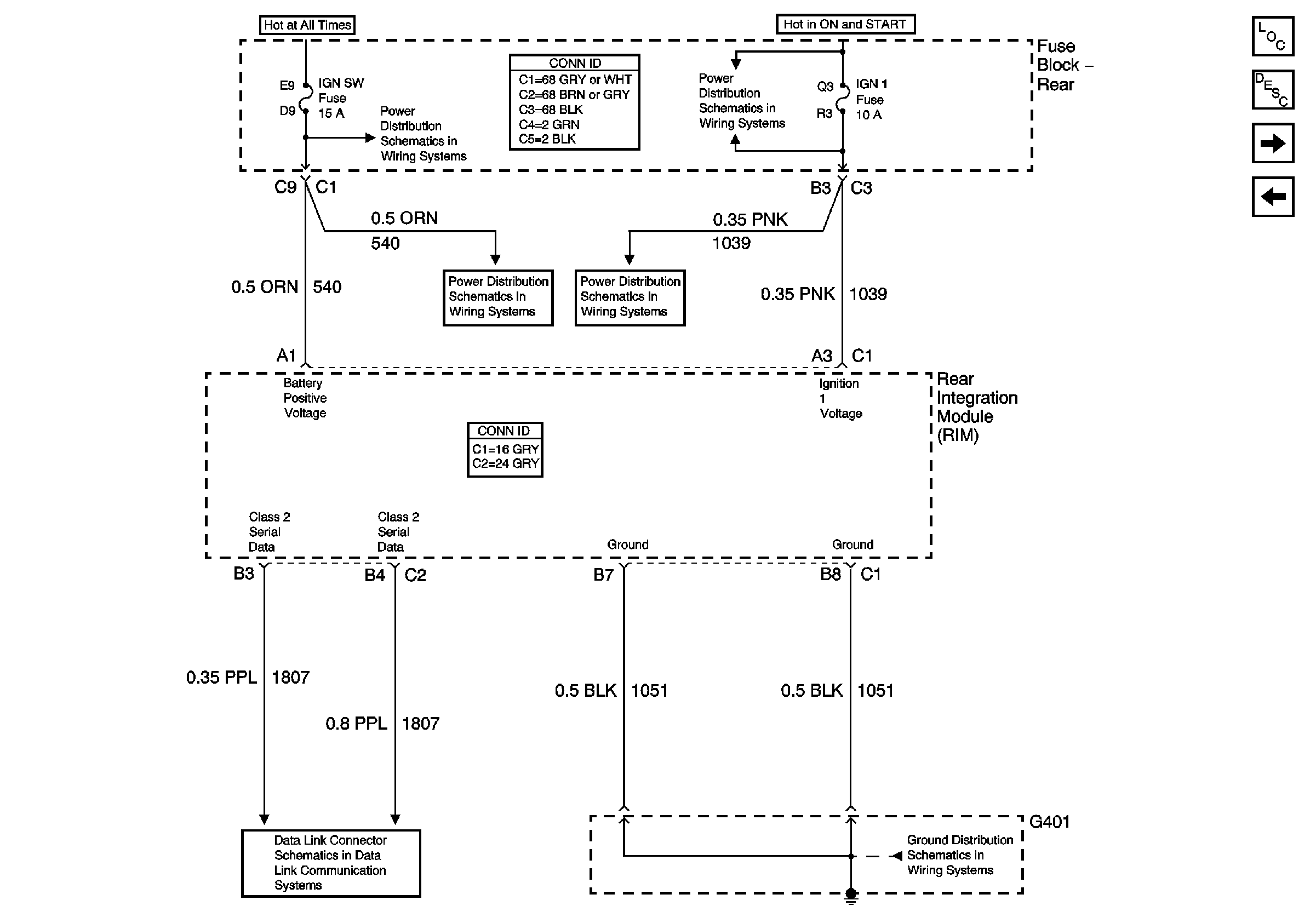
RIM Power and Ground


Object Number: 642129  Size: FS
IPM Inputs/Outputs (2 of 2)
RIM Inputs/Outputs (1 of 2)
Body Control System Component Views
Body Control System Description and Operation
Power, Ground, and Components
Battery Feeds
IGN SW and HTDST Fuses
IGN 1 Fuse
Class 2 Serial Data Line (LH Drive) (2 of 2)
G401 (1 of 3)
Figure 9:

RIM Inputs/Outputs (1 of 2)


Object Number: 642131  Size: FS
RIM Power and Ground
RIM Inputs/Outputs (2 of 2)
Body Control System Component Views
Body Control System Description and Operation
Interior Lamp Relays
Cigar Lighter/Auxiliary Outlets Schematics
Interior Lamp Relays
Backup Lights
Backup Lights
Rear Fog Lamps
Power and Ground
Rear Compartment Lid Release Actuator
Class 2 and Tamper Switches
Power and Class 2
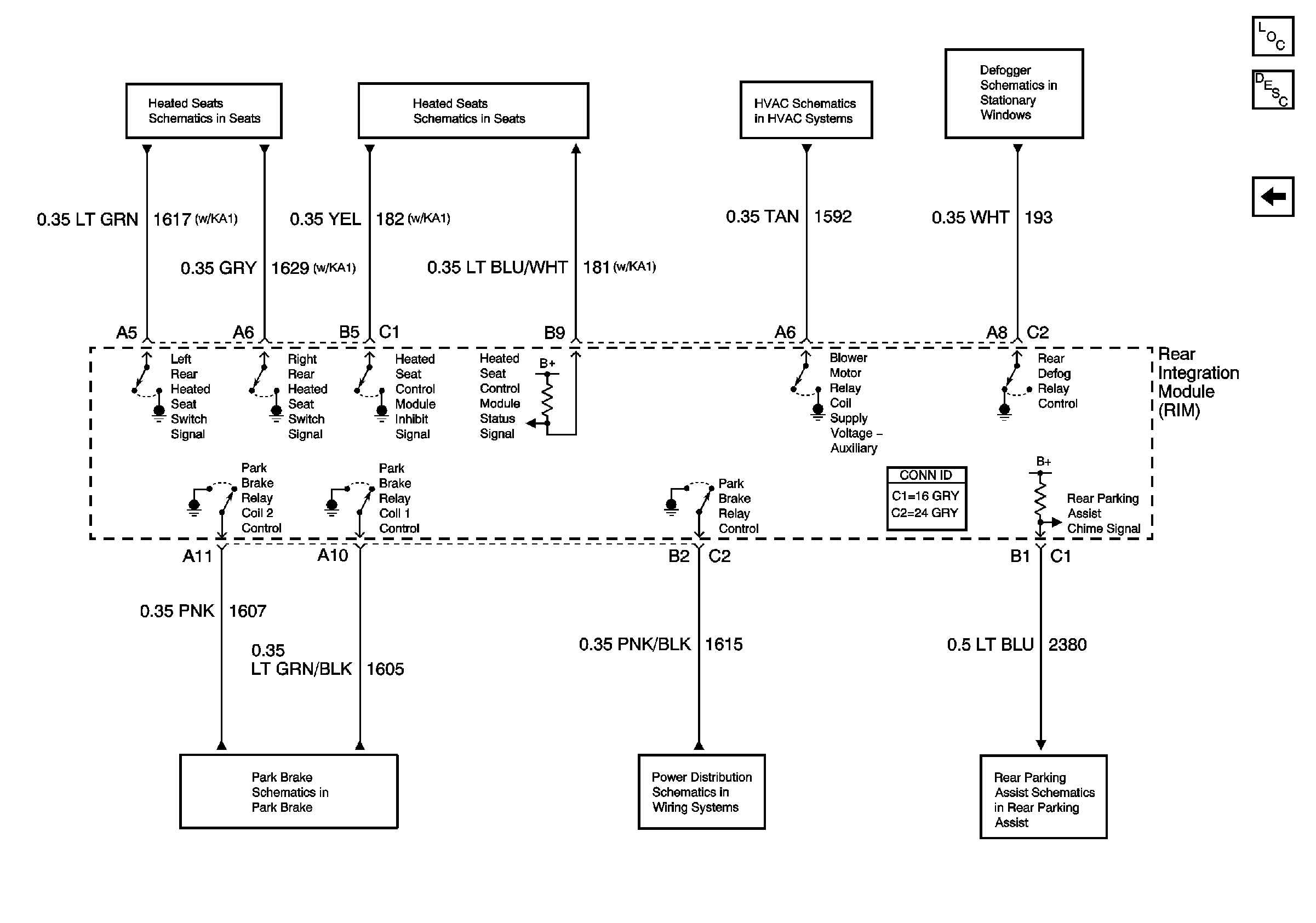
Figure 10:

RIM Inputs/Outputs (2 of 2)


Object Number: 642133  Size: FS
RIM Inputs/Outputs (1 of 2)
Body Control System Component Views
Body Control System Description and Operation
Rear Heated Seat Modules
LH Front Heated Seat
Blower Motor - Auxiliary
Power and Components
Park Brake Release
Battery Feeds
Rear Object Sensor Control Module Power and Ground