GM Service Manual Online
For 1990-2009 cars only
Figure 1:

EBCM Power, Ground, and DLC


Object Number: 596307  Size: FS
Master Electrical Component List
ABS Description and Operation
ElectronicTraction Control Switch, ABS Indicator and Stop Lamp Switch
Underhood Fuse Block Fuses V1 and V4, and Ignition Switch
Battery Cable Bus
Underhood Fuse Block Fuses V1 and V4, and Ignition Switch
DLC Pins 8 and 12
Wheel Speed Sensors (WSS)
G103 (1 of 8)
Figure 2:

Electronic Traction Control Switch, ABS Indicator, and Stop Lamp Switch


Object Number: 596308  Size: FS
Master Electrical Component List
ABS Description and Operation
CAN Interface and VSS Signal
EBCM, Power, Ground, and DLC
Power, Headlamps On Required, ABS, Traction Control, Sport Mode, Check Engine, Brake To Shift, Air Bag, Charging System Brake Pad Wear, Low Washer Fluid, Seat Belt Leveling, Brake and Cruise Indicator
Underhood Fuse Block Fuse V5 and Fuse Block Fuses 6, 7, 20, and 25
Fuse Block Fuses 4, 12, 21, and 32
Heated Seats Front
Page 2 of 2
Stop and Backup Lamps
G103 (7 of 8)
G103 (6 of 8)
G103 (1 of 8)
Figure 3:

CAN Interface and VSS Signal


Object Number: 596309  Size: FS
Master Electrical Component List
ABS Description and Operation
Wheel Speed Sensors (WSS)
ElectronicTraction Control Switch, ABS Indicator and Stop Lamp Switch
Serial Data and CAN Interface
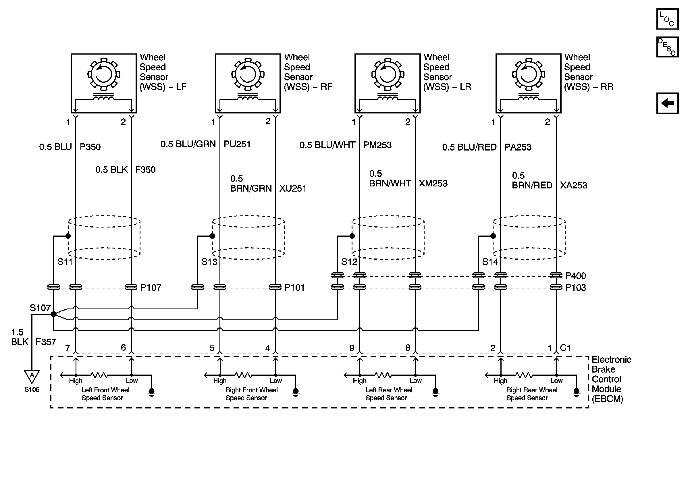
Figure 4:

Wheel Speed Sensors (WSS)


Object Number: 596310  Size: FS
Master Electrical Component List
ABS Description and Operation
CAN Interface and VSS Signal
EBCM, Power, Ground, and DLC