GM Service Manual Online
For 1990-2009 cars only
Makes
🢒
Chevrolet
🢒
2000
🢒
Blazer - 4WD - RHD
🢒
Body and Accessories
🢒
Instrument Panel, Gauges, and Console
🢒 Audible Warnings Schematics
Figure
1:
Power, Ground and BCM
Audible Warnings Components
Audible Warnings Circuit Description
CRUISE, GAUGES and TBC Fuses
ILLUM and PARK LP Fuses
ILLUM and PARK LP Fuses
B+ Bus Bar
Power and Grounding Connector End Views
PARK LP, FR PRK, LR PRK, RR PRK, and TRL PRK Fuses
Body Control System Connector End Views
Handling ESD Sensitive Parts Notice
G203 and G205
G200 and G201
Headlamp Power and Flash-to-Pass Relays
Handling ESD Sensitive Parts Notice
Figure
2:
CRUISE, GAUGES and TBC Fuses
Audible Warnings Components
Audible Warnings Circuit Description
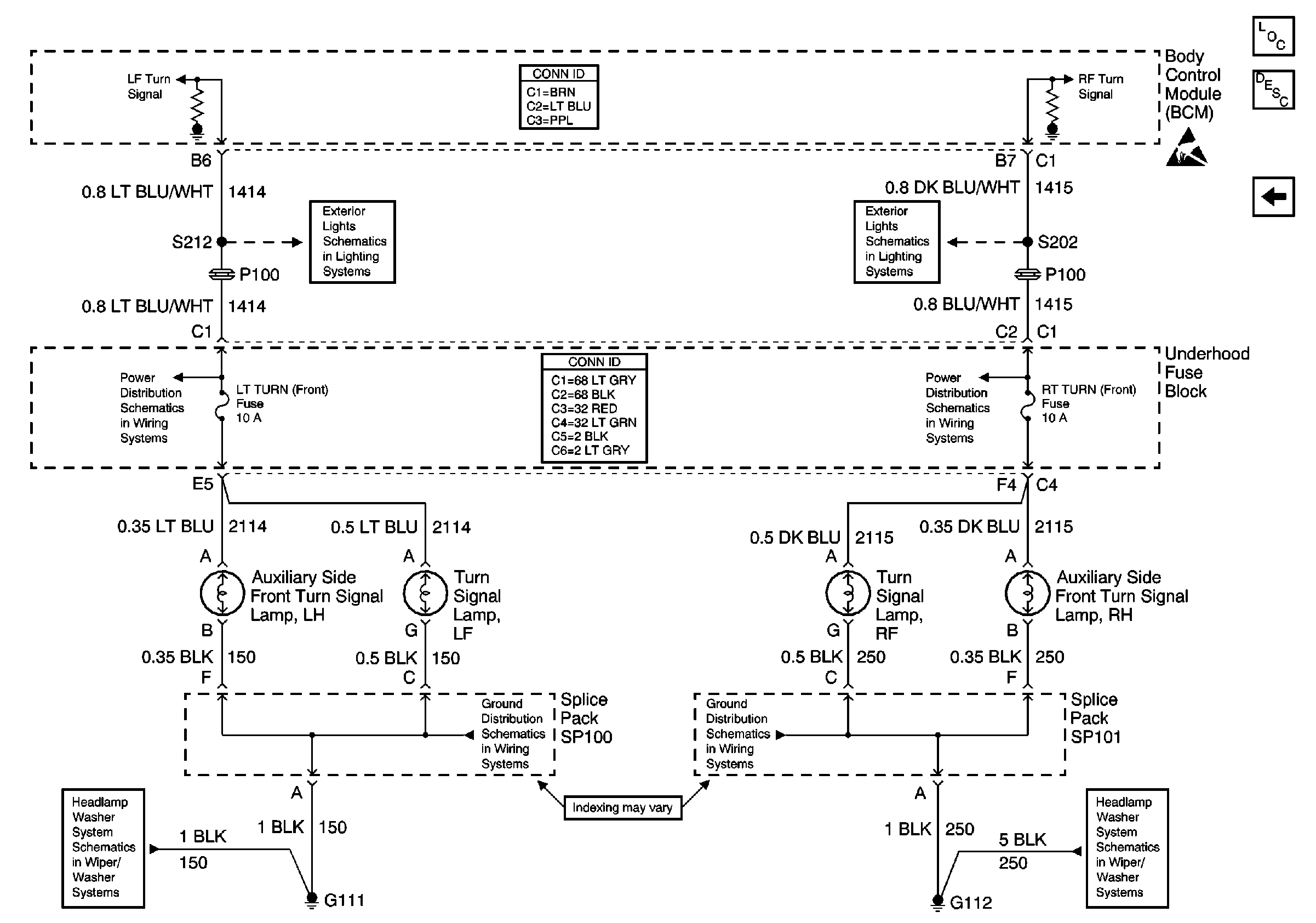
Turn Signals
Power, Ground and BCM
Power and Grounding Connector End Views
B+ Bus Bar
Ign START, RUN and ACC Bus Bar
Power
RDO IGN, FRT WPR, RR WIPER, ABS, CRUISE, and W/W PUMP Fuses
Body Control System Connector End Views
Handling ESD Sensitive Parts Notice
G450
SP203
Cigar Lighter/Auxiliary Outlets Schematics
G200 and G201
Figure
3:
Turn Signals
Audible Warnings Components
Audible Warnings Circuit Description
CRUISE, GAUGES and TBC Fuses
Body Control System Connector End Views
Handling ESD Sensitive Parts Notice
Hazard Switch, TURN, and HAZ LP Fuses
Turn Signal Switch, RH TURN, RH REAR TURN, and TRL TURN Fuses
TURN, HAZ SW, LT TURN, TRL TRN, LT TRN, TRR TRN, RT TRN, and RT TURN Fuses
Power and Grounding Connector End Views
TURN, HAZ SW, LT TURN, TRL TRN, LT TRN, TRR TRN, RT TRN, and RT TURN Fuses
Headlamp Washer System Schematics
G111 and G112
G111 and G112
Headlamp Washer System Schematics