GM Service Manual Online
For 1990-2009 cars only
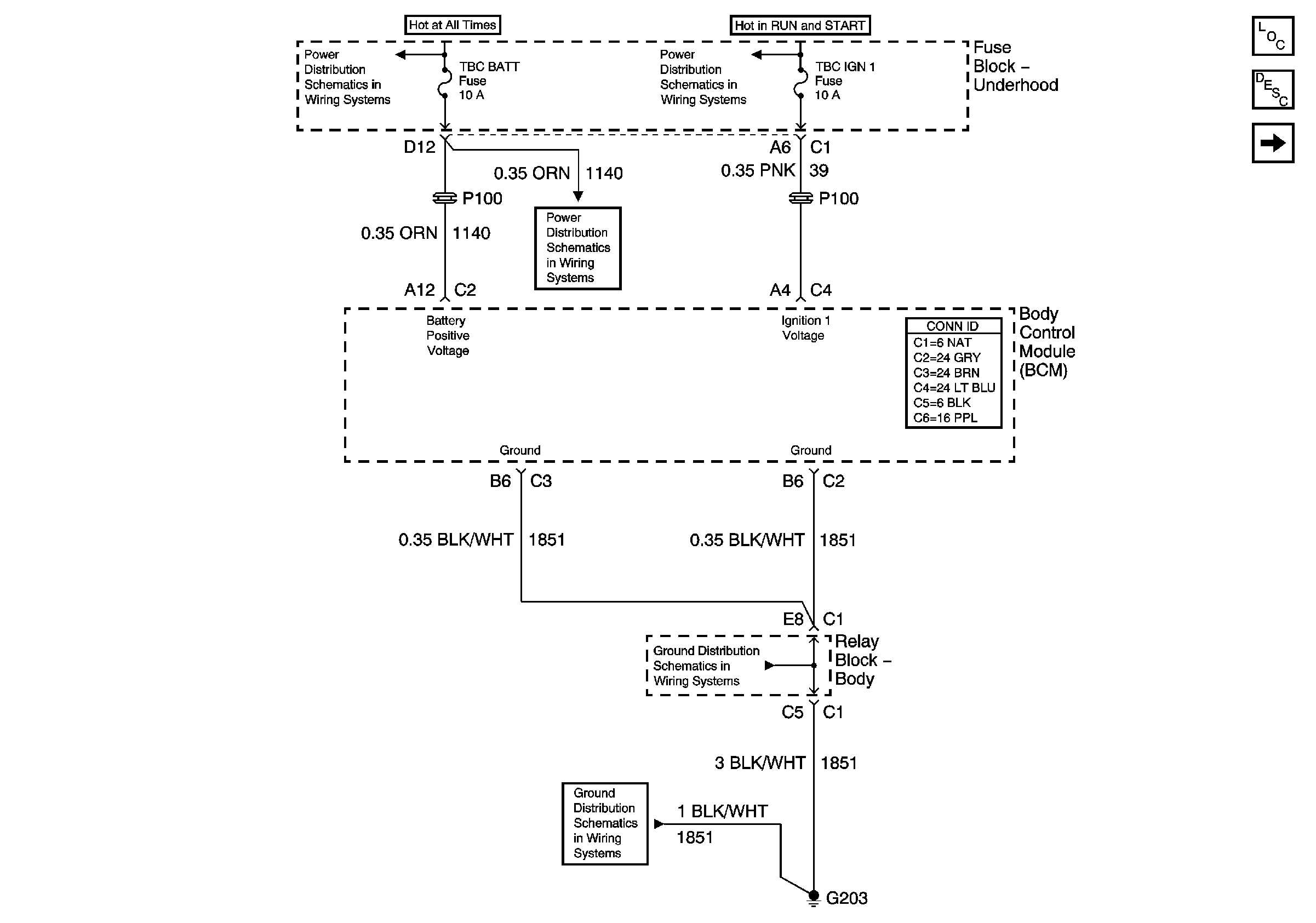
Figure 1:

Power, Ground, and Serial Data - 1 of 2


Object Number: 865290  Size: FS
Master Electrical Component List
Body Control System Description and Operation
Power, Ground, and Serial Data - 2 of 2
ABS, VSES, STUD #1, STUD #2, TBC
O2A, O2B, TBC IGN 1, SEO IGN
ABS, VSES, STUD #1, STUD #2, TBC
G203-1 of 3
G203-1 of 3
Figure 2:

Power, Ground, and Serial Data - 2 of 2


Object Number: 865291  Size: FS
Master Electrical Component List
Body Control System Description and Operation
Interior Lighting Sytems References - 1 of 2
Power, Ground, and Serial Data - 1 of 2
TBC 2A, TBC 2B, TBC 2C, LT DOORS, RT DOORS, SEATS
IGN 0 , TBC IGN 0, TBC ACCY, SEO ACCY, W/S WIPER, RR WIPER
SP205 - 2 of 2
Figure 3:

Interior Lighting Systems References - 1 of 2


Object Number: 865294  Size: FS
Master Electrical Component List
Body Control System Description and Operation
Interior Lighting Sytems References - 2 of 2
Power, Ground, and Serial Data - 2 of 2
Interior Lights and LED Dimming Control
Inadvertent Power Supply Voltage - 1 of 4 and Courtesy Lamp Supply Votlage - 1 of 4
Inadvertent Power Supply Voltage - 3 of 4
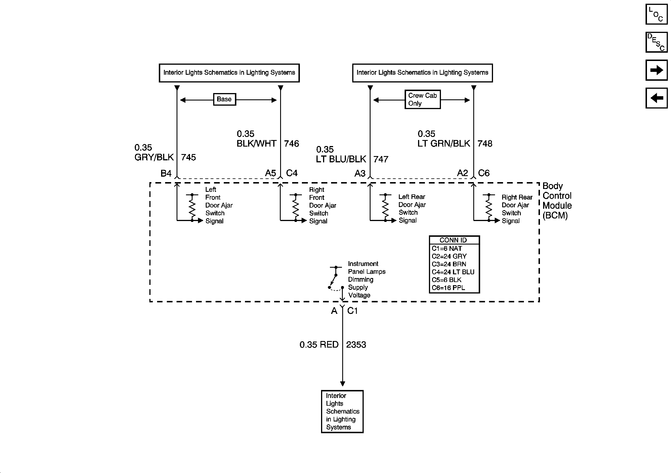
Figure 4:

Interior Lighting Systems References - 2 of 2


Object Number: 865296  Size: FS
Master Electrical Component List
Body Control System Description and Operation
Exterior Lighting Sytems References - 1 of 2
Interior Lighting Sytems References - 1 of 2
Door Jamb Switches - w/o YE9
Door Jamb Switches - w/YE9 or Y91
LED Dimming Supply Voltage - 3 of 3
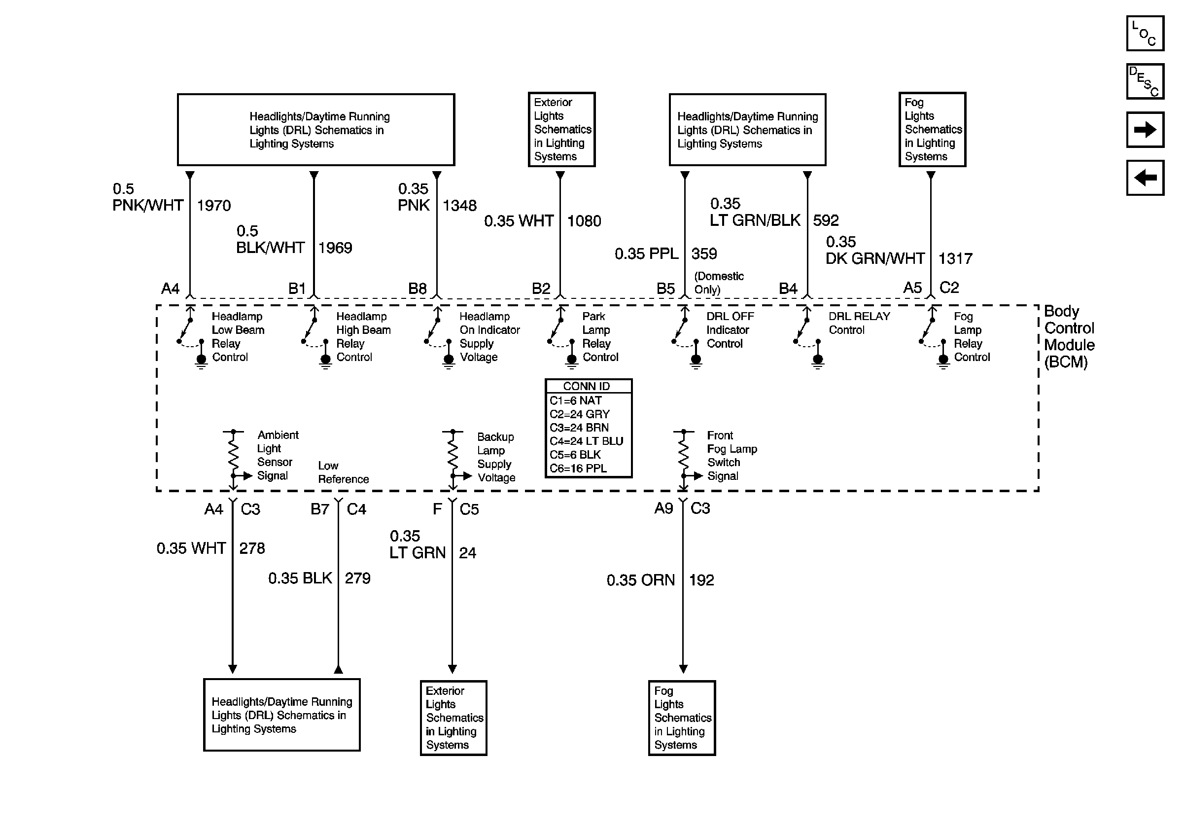
Figure 5:

Exterior Lighting Systems References - 1 of 2


Object Number: 865298  Size: FS
Master Electrical Component List
Body Control System Description and Operation
Exterior Lighting Sytems References - 2 of 2
Interior Lighting Sytems References - 2 of 2
Headlights
Park Lamp Relay - Domestic
Daytime Running Lamps (DRL) - Domestic
Front
Headlights/DRL Control
Backup Lamps - GMC
Front
Rear - Export Only
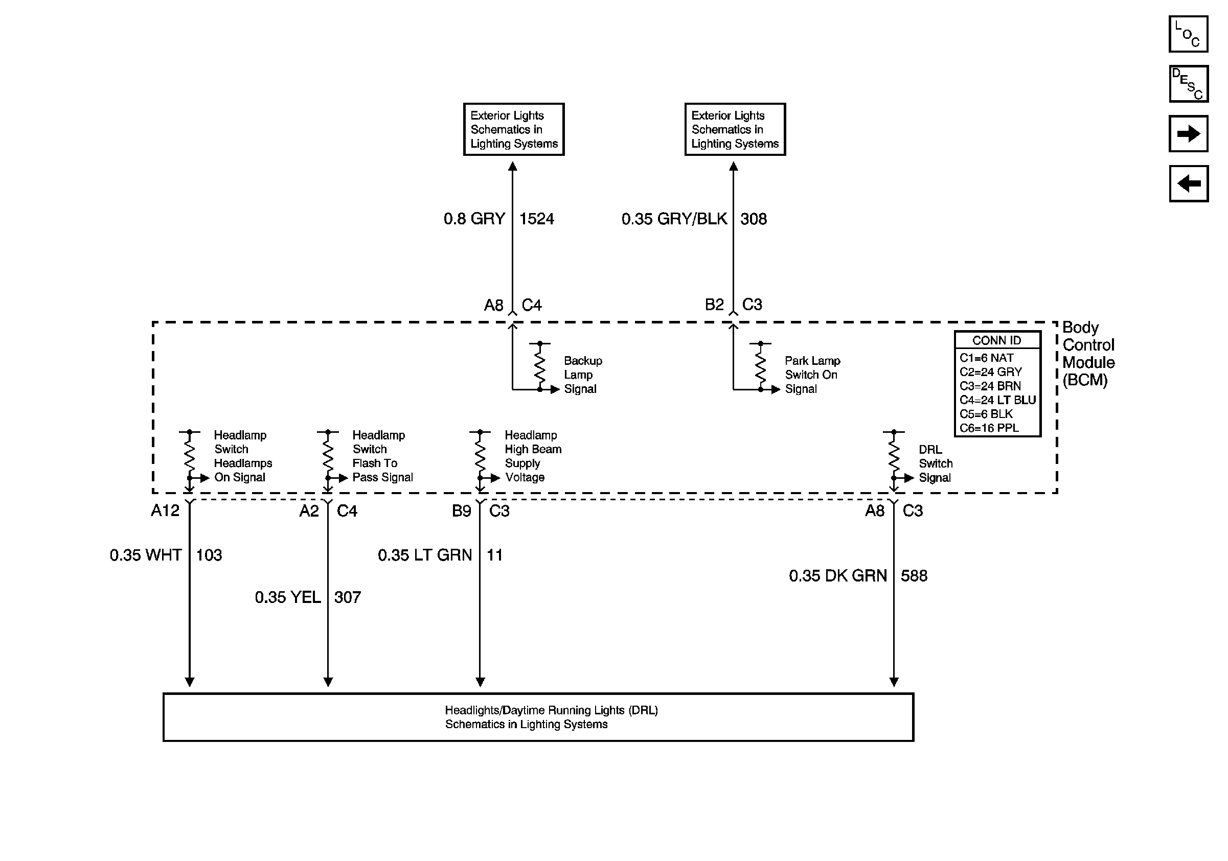
Figure 6:

Exterior Lighting Systems References - 2 of 2


Object Number: 865300  Size: FS
Master Electrical Component List
Body Control System Description and Operation
Controlled/Monitored Subsystem References - 1 of 2
Exterior Lighting Sytems References - 1 of 2
Backup Lamps - GMC
Headlights/DRL Control
Park Lamp Relay - Domestic
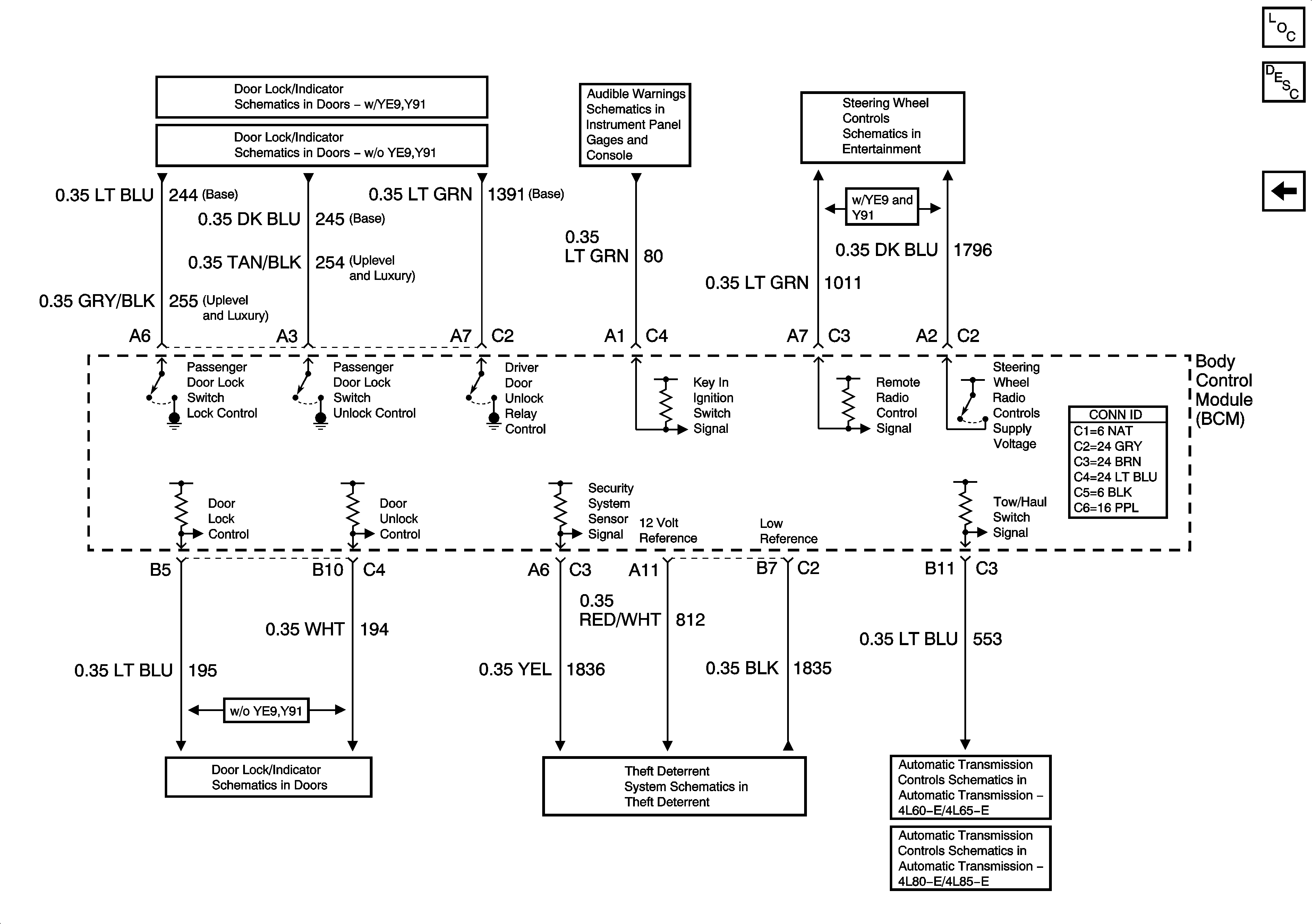
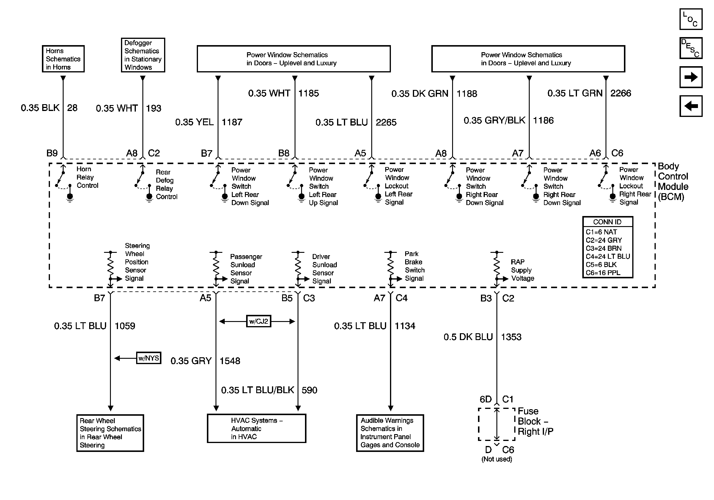
Figure 7:

Controlled/Monitored Subsystem References - 1 of 2


Object Number: 865301  Size: FS
Master Electrical Component List
Body Control System Description and Operation
Controlled/Monitored Subsystem References - 2 of 2
Exterior Lighting Sytems References - 2 of 2
Horns Schematics
Rear Defogger Schematics
Left Doors
Right Doors
Rear Wheel Steering Switch
Audible Warnings
Sun Load and Ambient Light Sensors
Figure 8:

Controlled/Monitored Subsystem References - 2 of 2


Object Number: 865304  Size: FS
Master Electrical Component List
Body Control System Description and Operation
Controlled/Monitored Subsystem References - 1 of 2
Door Lock Relays - Uplevel w/Crew Cab
Door Lock Relays - Base
Audible Warnings
Steering Wheel Controls
Front Door Lock Switches - Base
Vehicle Theft Deterrent
Tow/Haul Switch and PNP Switch Inputs
Tow/Haul Switch and PNP Switch Inputs