GM Service Manual Online
For 1990-2009 cars only
Figure 1:

Module Power, Ground, Serial Data, and MIL


Object Number: 1413370  Size: FS
Master Electrical Component List
Powertrain Control Module Description
Engine Data Sensors - 5-Volt and Low Reference
OBD II Symbol Description Notice
Battery Feed to Left and Right Underhood Fuse Blocks
ABS, PCM, HZDT/SG, F/PMP, LP PK and B/U LAMP Fuses
Battery Feed to Left and Right Underhood Fuse Blocks
CRK, PCM/CRU and SBM Fuses
OXY SEN and SBM LCM Fuses
OXY SEN and SBM LCM Fuses
CRK, PCM/CRU and SBM Fuses
Indicators
Class 2 Serial Data Lines
G100, G101, G102, and G103
Figure 2:

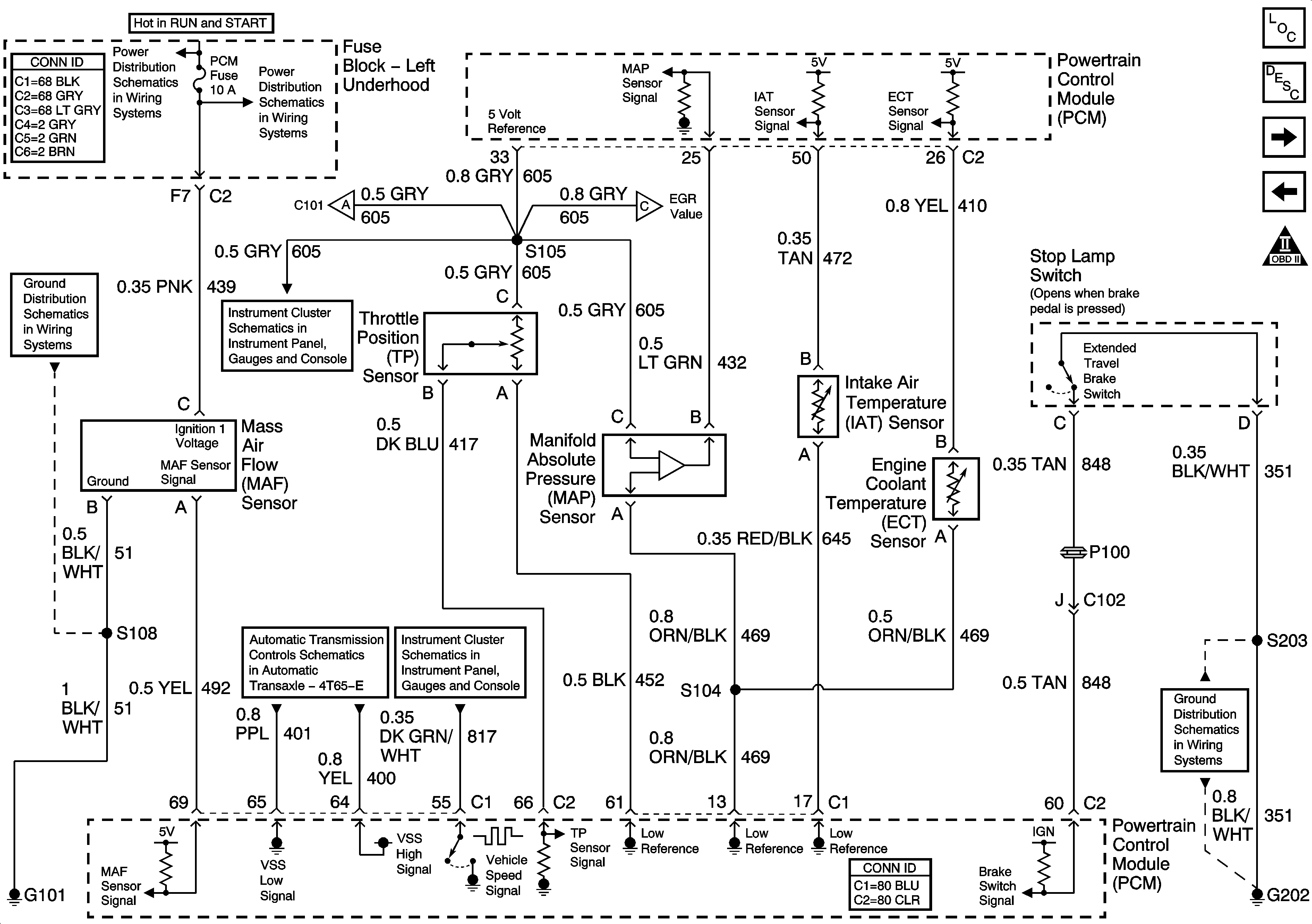
Engine Data Sensors - 5-Volt and Low Reference


Object Number: 1413371  Size: FS
Master Electrical Component List
Powertrain Control Module Description
Engine Data Sensors - Pressure, Temperature, MAF and Extended Brake Travel Switch
Module Power, Ground, Serial Data, and MIL
OBD II Symbol Description Notice
Figure 3:

Engine Data Sensors - Pressure, Temperature, MAF and Extended Brake Travel Switch


Object Number: 1413372  Size: FS
Master Electrical Component List
Powertrain Control Module Description
Fuel Controls - EVAP Controls
Engine Data Sensors - 5-Volt and Low Reference
OBD II Symbol Description Notice
Battery Feed to Left and Right Underhood Fuse Blocks
ABS, PCM, HZDT/SG, F/PMP, LP PK and B/U LAMP Fuses
Fuel Controls - EVAP Controls
Device Controls
Driver Information Center
VSS and IMS
Gages
G100, G101, G102, and G103
G202 - 1 of 4
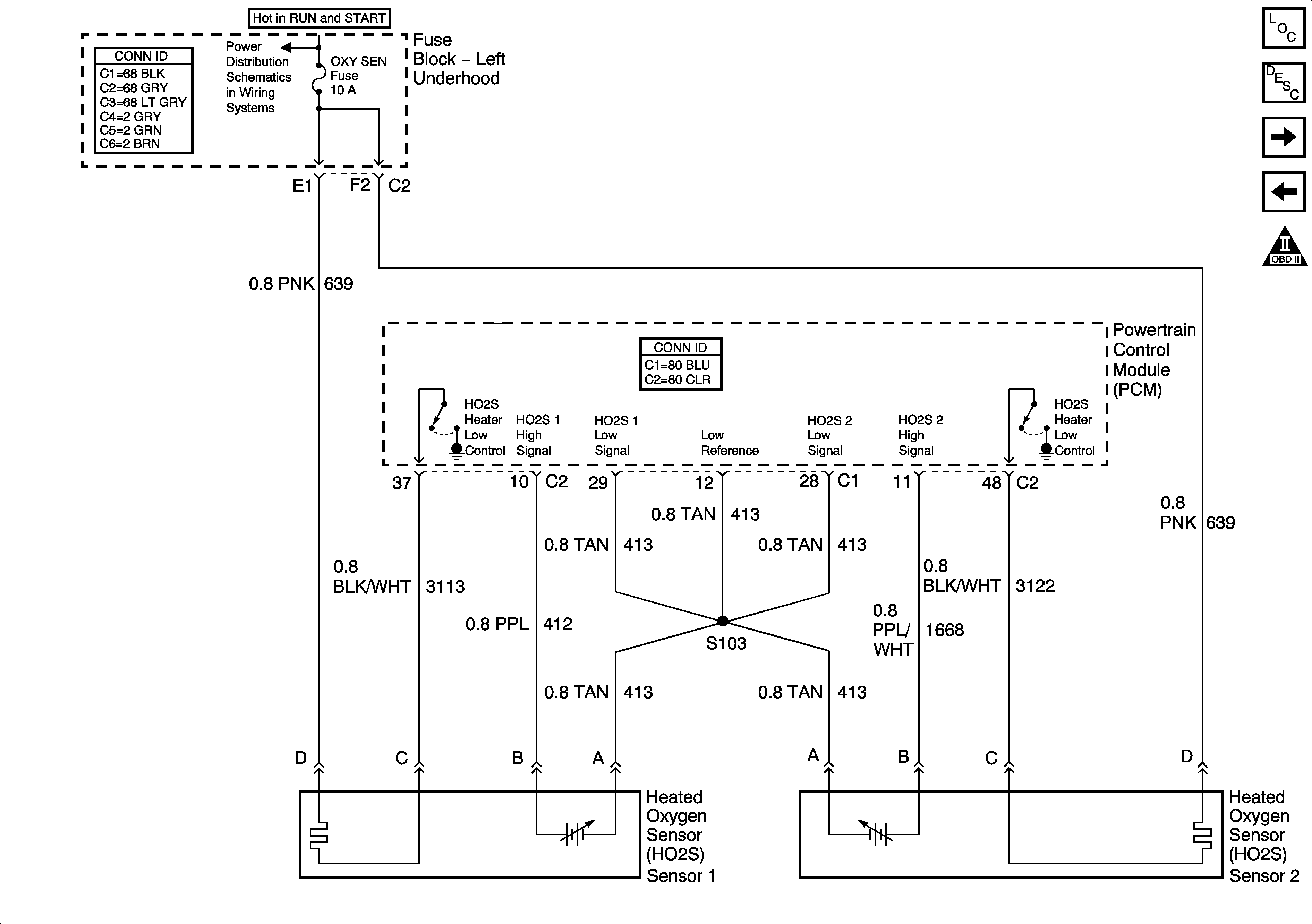
Figure 4:

Engine Data Sensors - Oxygen Sensors


Object Number: 1413374  Size: FS
Master Electrical Component List
Fuel System Description
Ignition Controls - Ignition System
Engine Data Sensors - Pressure, Temperature, MAF and Extended Brake Travel Switch
OBD II Symbol Description Notice
Battery Feed to Left and Right Underhood Fuse Blocks
G100, G101, G102, and G103
Figure 5:

Ignition Controls - Ignition System


Object Number: 1413376  Size: FS
Master Electrical Component List
Electronic Ignition (EI) System Description
Ignition Controls - Sensors
Fuel Controls - EVAP Controls
OBD II Symbol Description Notice
Battery Feed to Left and Right Underhood Fuse Blocks
Figure 6:

Ignition Controls - Sensors


Object Number: 1413378  Size: FS
Master Electrical Component List
Knock Sensor (KS) System Description
Engine Data Sensors - Oxygen Sensors
Ignition Controls - Ignition System
OBD II Symbol Description Notice
Figure 7:

Fuel Controls - Fuel Pump and Supercharger Controls


Object Number: 1413379  Size: FS
Master Electrical Component List
Fuel System Description
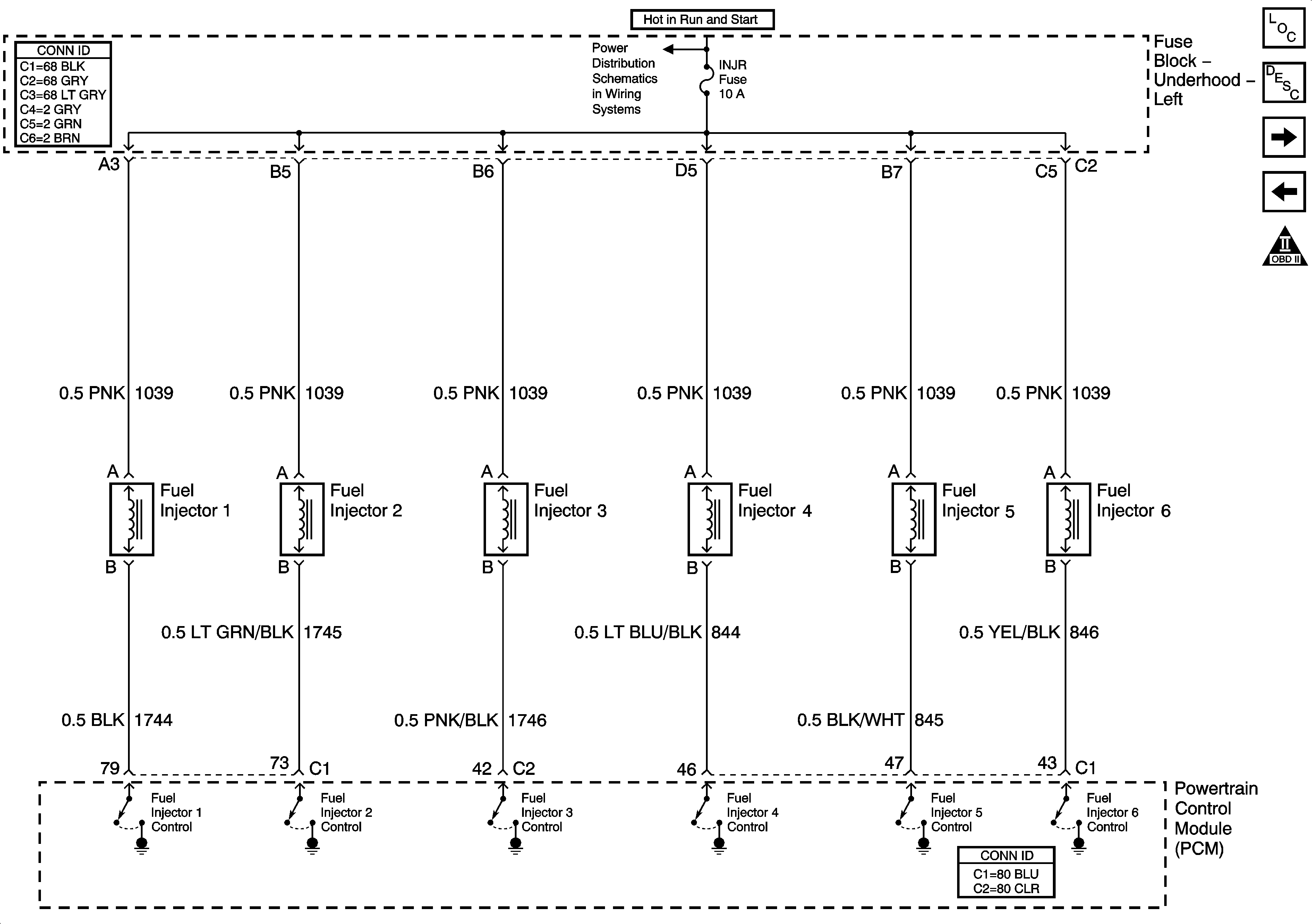
Fuel Controls - Fuel Injectors
Ignition Controls - Sensors
T/SIG and A/C CLU Fuses
ABS, PCM, HZDT/SG, F/PMP, LP PK and B/U LAMP Fuses
G100, G101, G102, and G103
G400 - 1 of 2
Figure 8:

Fuel Controls - Fuel Injectors


Object Number: 1413380  Size: FS
Master Electrical Component List
Fuel System Description
Fuel Controls - EVAP Controls
Engine Data Sensors - Oxygen Sensors
OBD II Symbol Description Notice
Battery Feed to Left and Right Underhood Fuse Blocks
Figure 9:

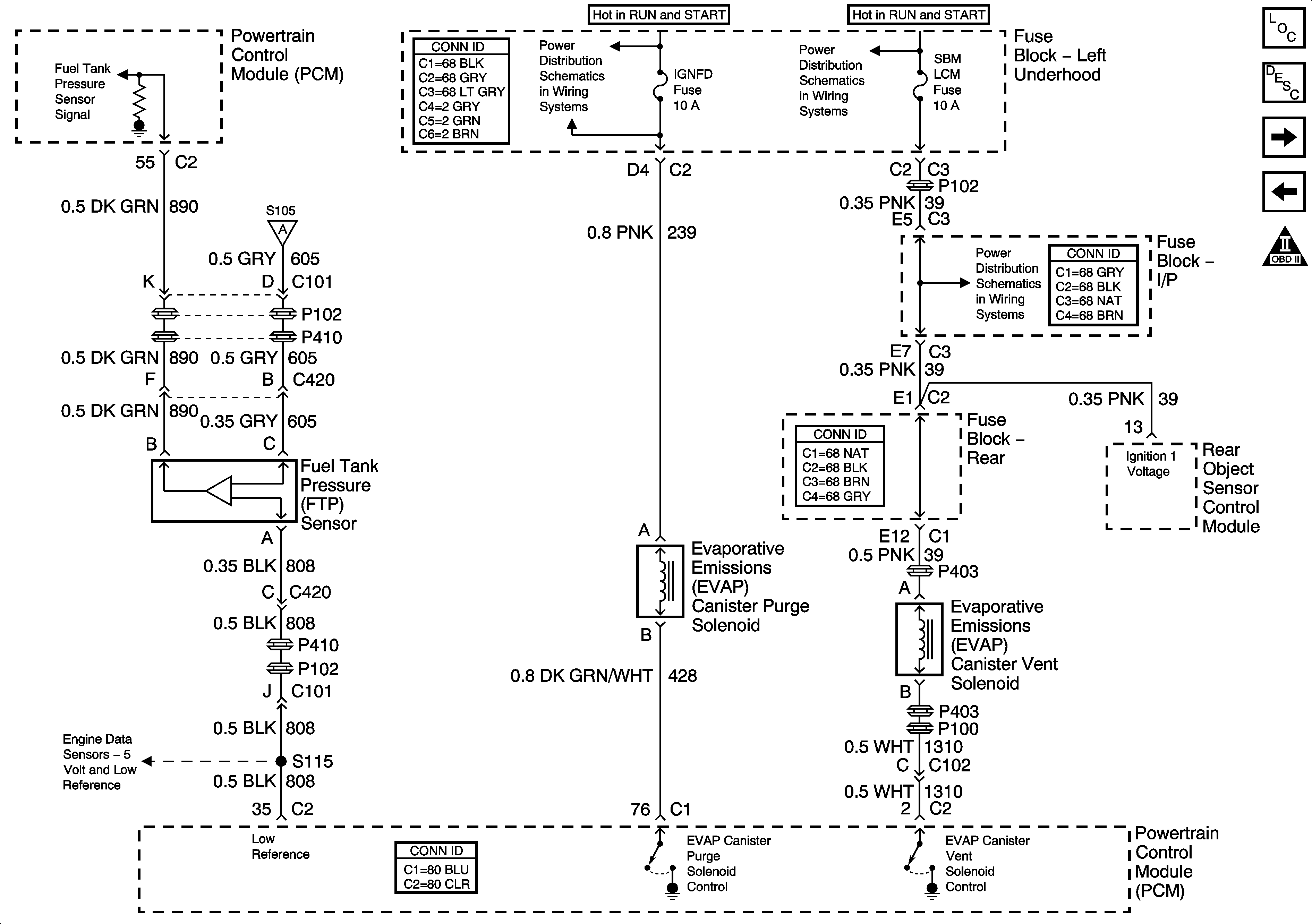
Fuel Controls - EVAP Controls


Object Number: 1413691  Size: FS
Master Electrical Component List
Evaporative Emission Control System Description
Device Controls
Fuel Controls - Fuel Injectors
OBD II Symbol Description Notice
Battery Feed to Left and Right Underhood Fuse Blocks
OXY SEN and SBM LCM Fuses
OXY SEN and SBM LCM Fuses
Engine Data Sensors - Pressure, Temperature, MAF and Extended Brake Travel Switch
Engine Data Sensors - 5-Volt and Low Reference
Figure 10:

Device Controls


Object Number: 1413697  Size: FS
Master Electrical Component List
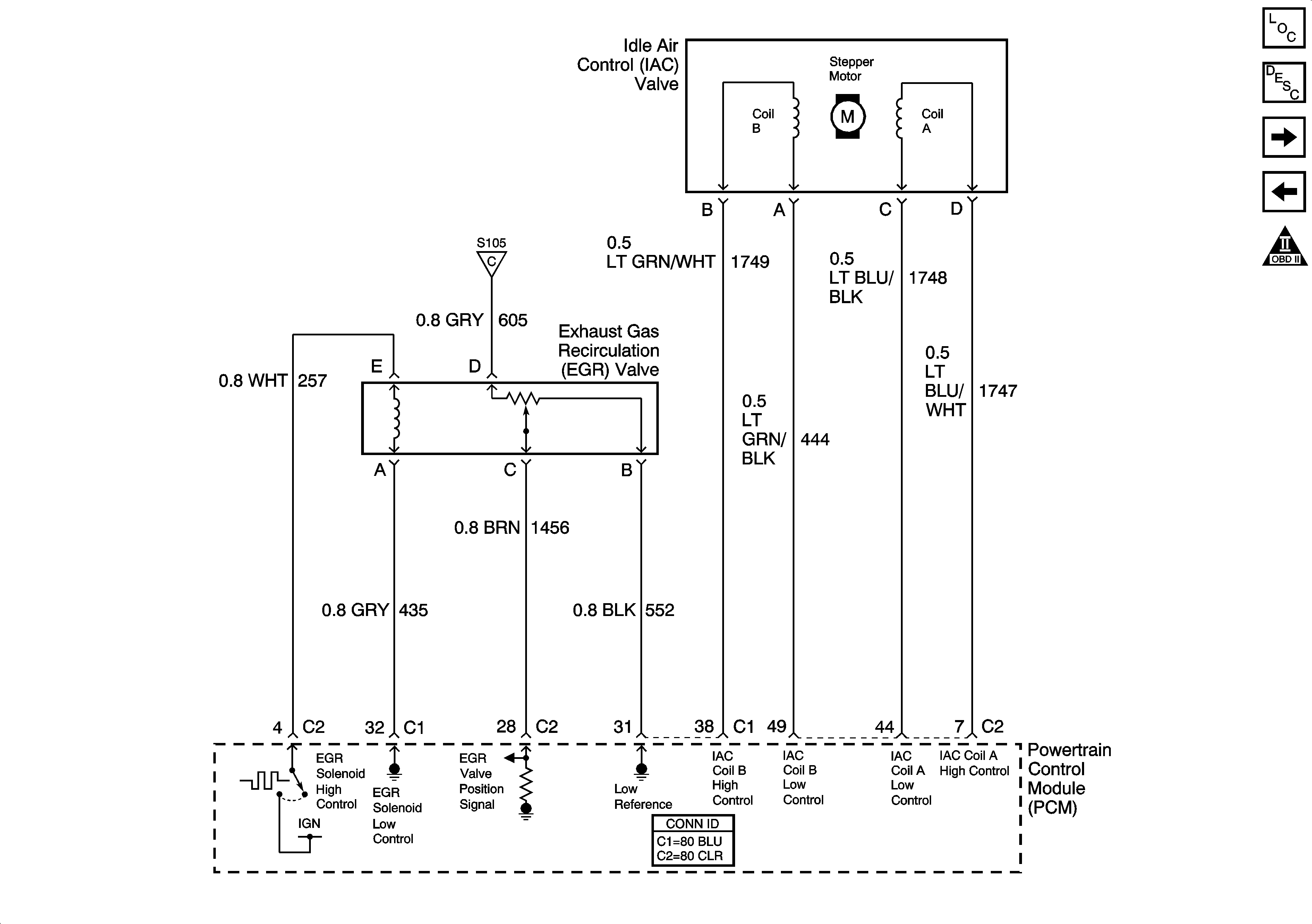
Boost Control System Description
Controlled/Monitored Subsystem References
Fuel Controls - EVAP Controls
OBD II Symbol Description Notice
Engine Data Sensors - Pressure, Temperature, MAF and Extended Brake Travel Switch
Figure 11:

Controlled/Monitored Subsystem References


Object Number: 1413703  Size: FS
Master Electrical Component List
Powertrain Control Module Description
Transmission Control References - A/T
Device Controls
OBD II Symbol Description Notice
Compressor Control
Driver Information Center
Traction Control (w/NW9) and Variable Effort Steering (w/ NV8)
Starter Motor Controls
Engine Cooling Schematics
Brake Pedal Switches and Indicator
Figure 12:

Transmission Control References - A/T


Object Number: 1413706  Size: FS
Master Electrical Component List
Powertrain Control Module Description
Controlled/Monitored Subsystem References
OBD II Symbol Description Notice
VSS and IMS
Sensors
Solenoids and TCC/Cruise Release Switch