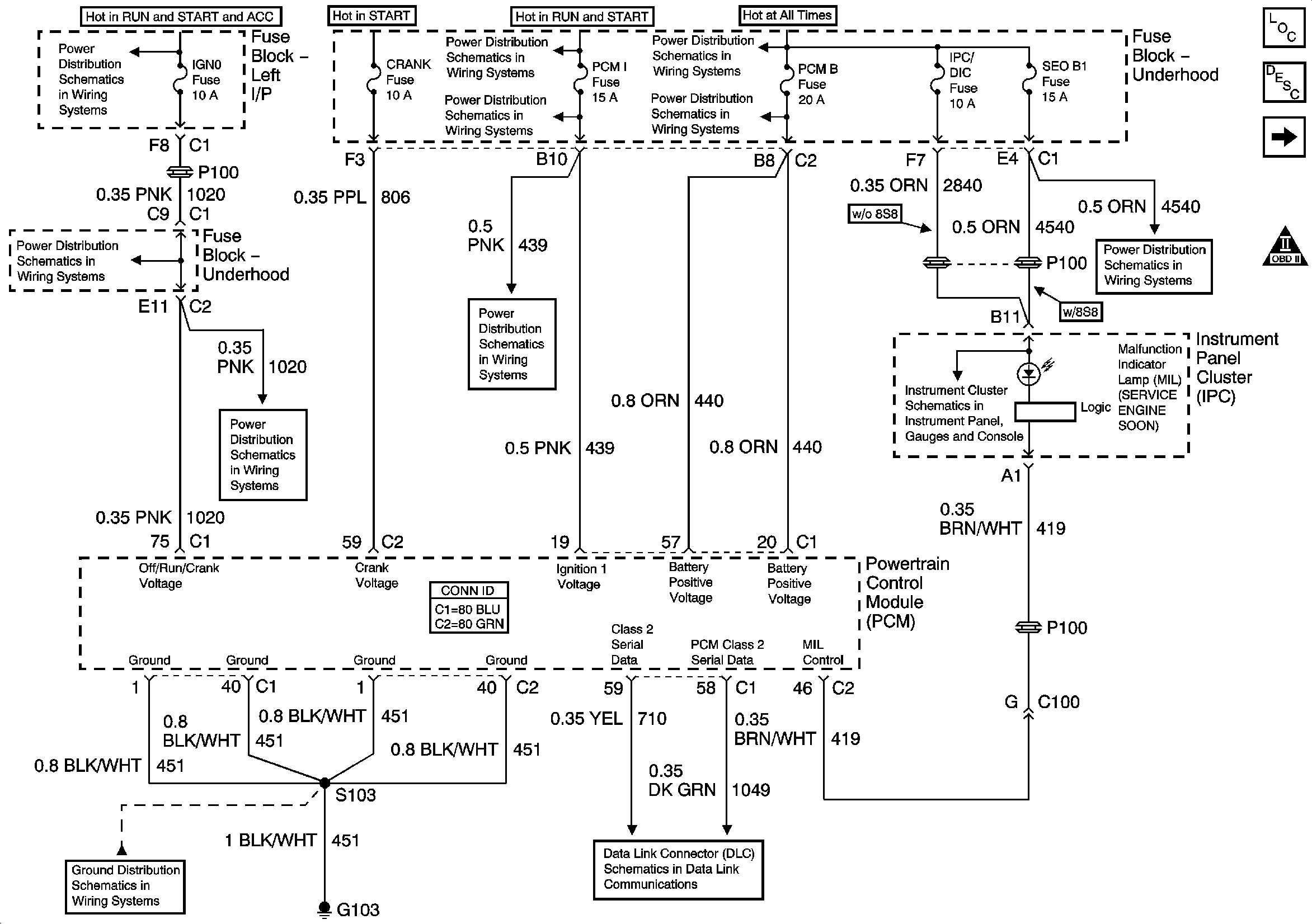
| Figure 1: |
Module Power, Ground, Serial Data and MIL
|
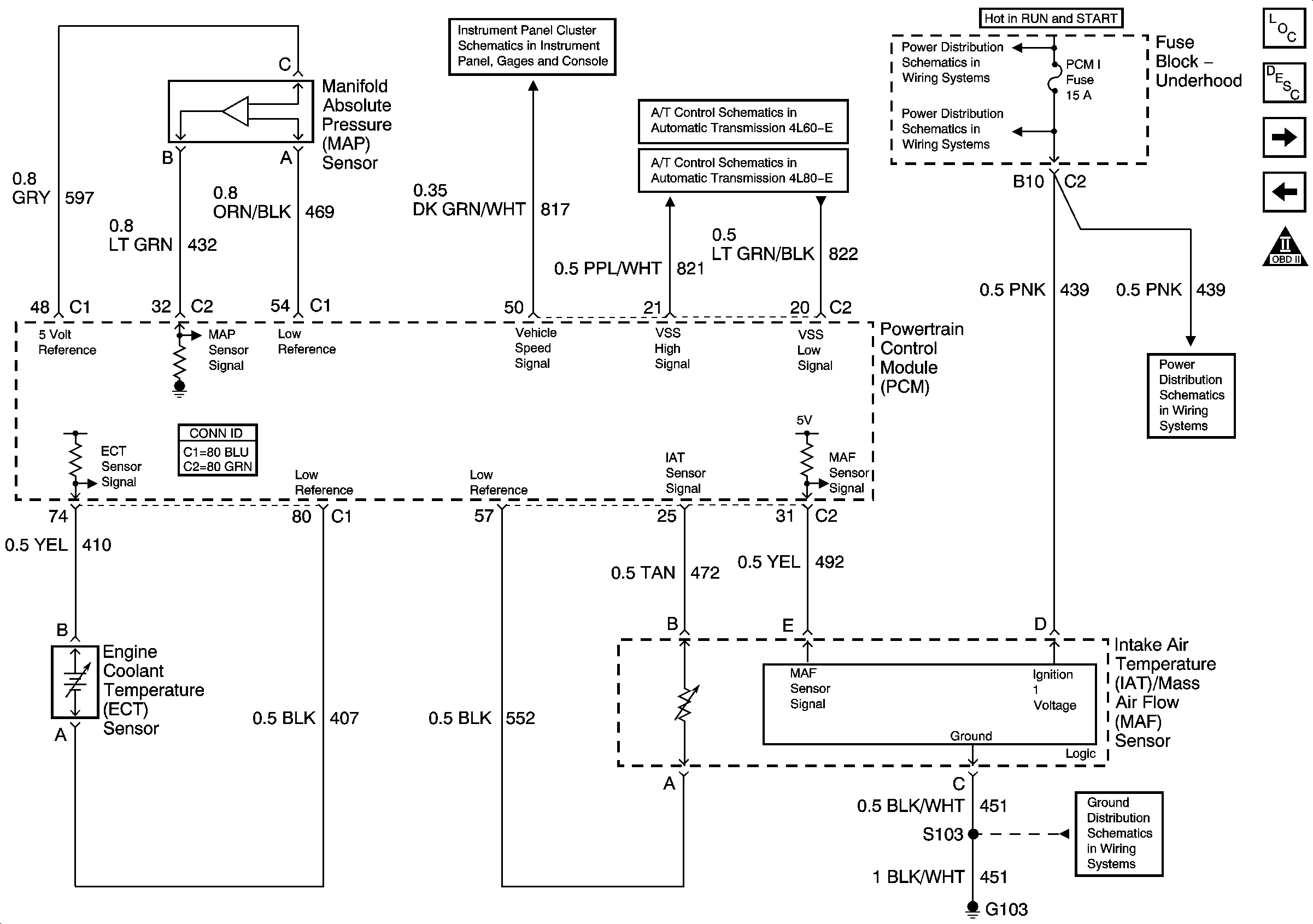
| Figure 2: |
Engine Data Sensors - Pressure, Temperature, and
VSS
|
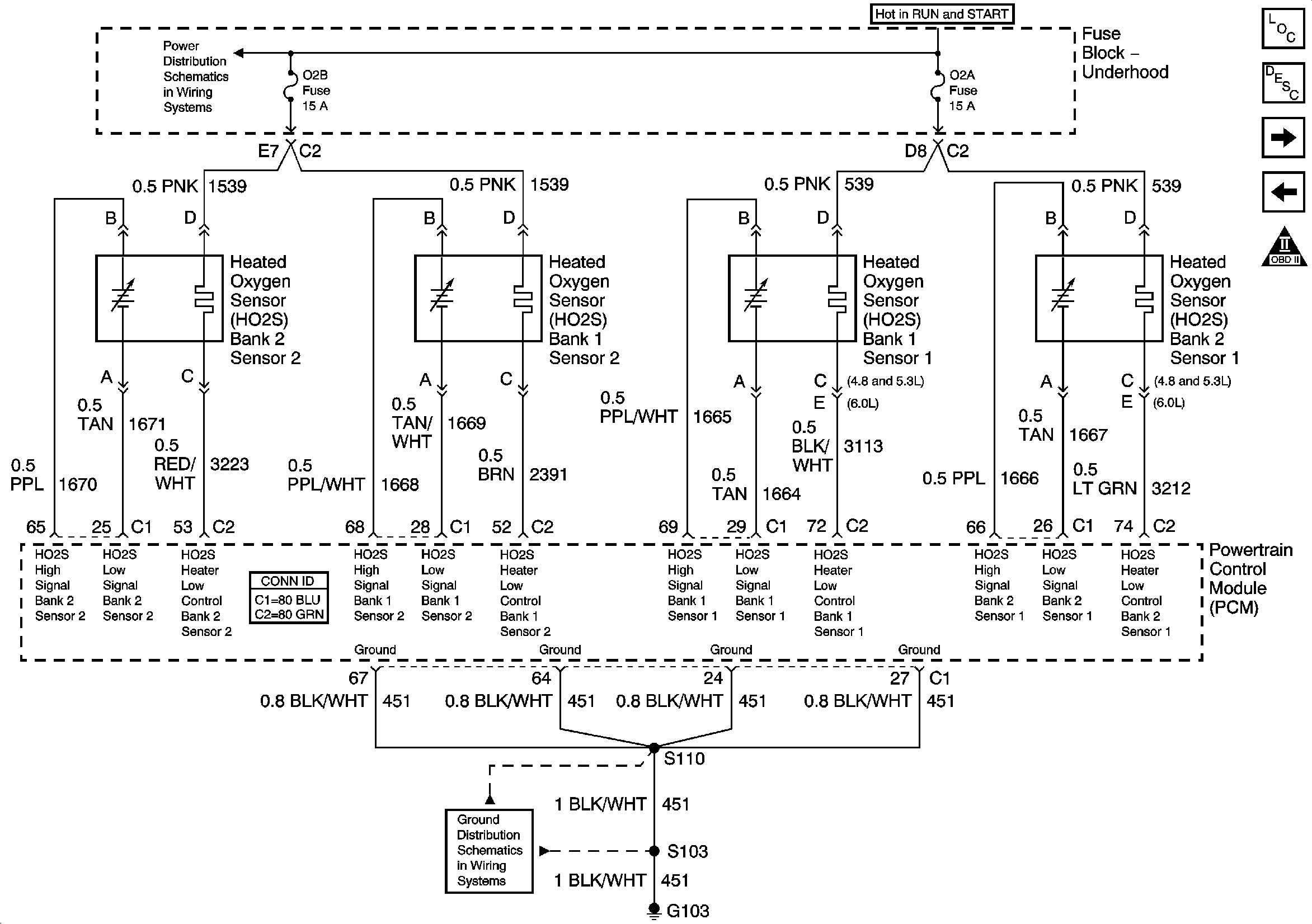
| Figure 3: |
Engine Data Sensors - HO2S
|
| Figure 4: |
Engine Data Sensors - (Electronic Throttle Controls
- 1 of 2)
|
| Figure 5: |
Engine Data Sensors - Electronic Throttle Controls
- 2 of 2
|
| Figure 6: |
Ignition Controls - Ignition System Coils 1, 3,
5, and 7
|
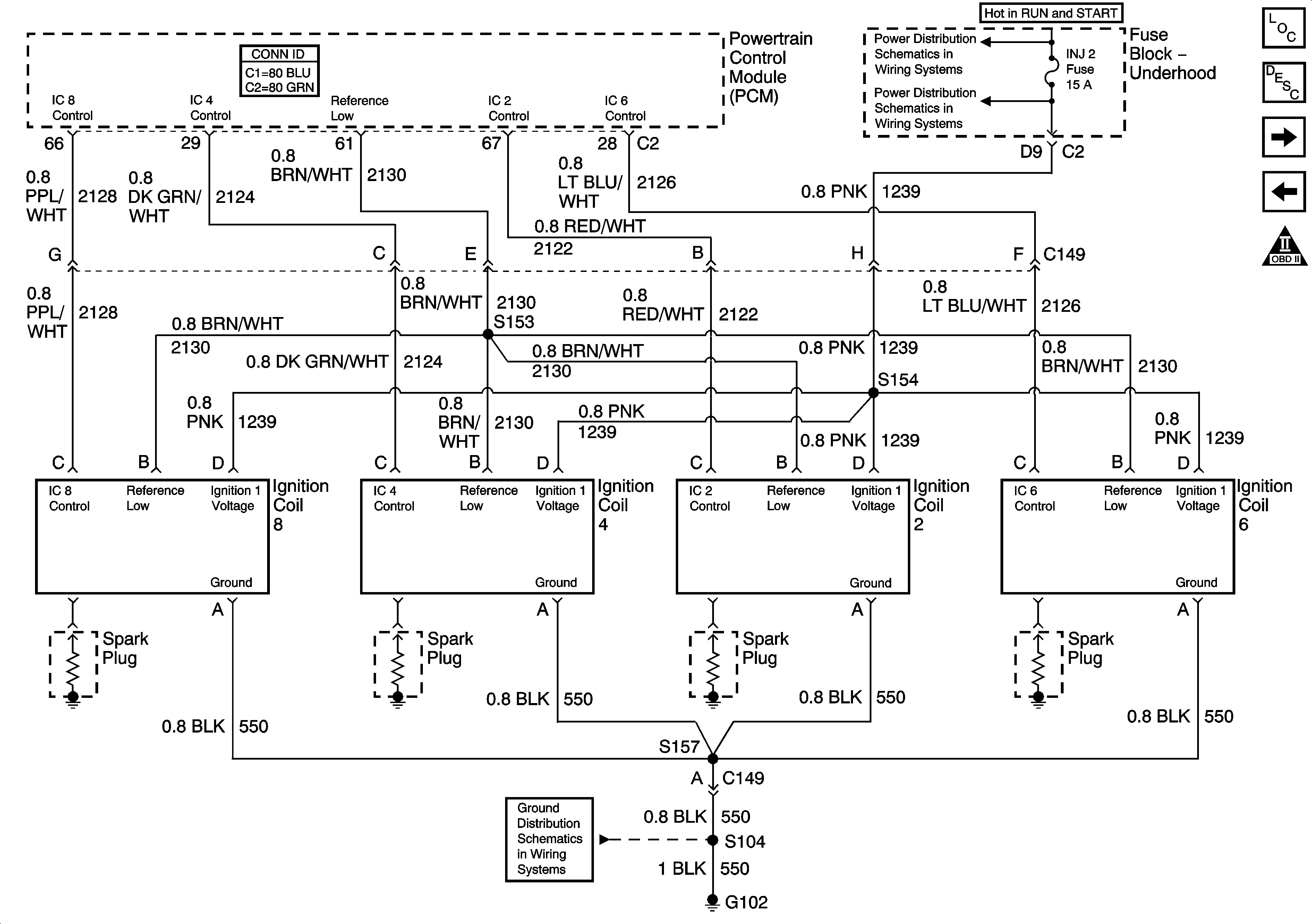
| Figure 7: |
Ignition Controls - Ignition System Coils 2, 4,
6, and 8
|
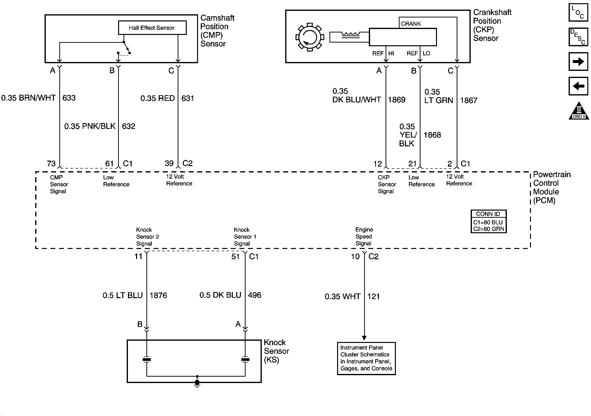
| Figure 8: |
Ignition Controls - Sensors
|
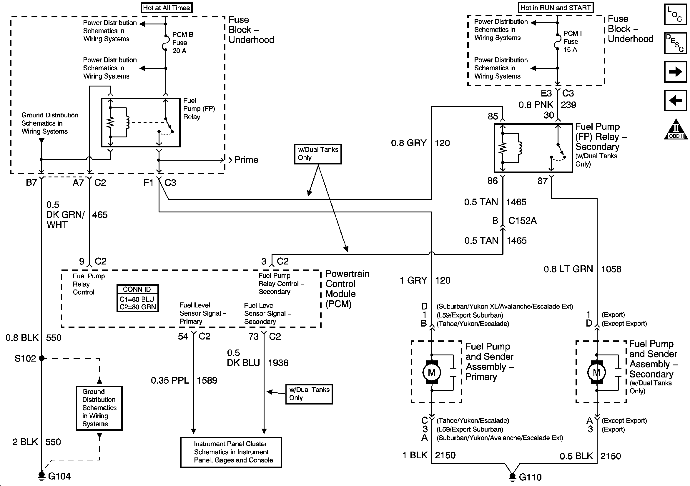
| Figure 9: |
Fuel Controls - Fuel Pump Controls
|
| Figure 10: |
Fuel Controls - Fuel Injectors
|
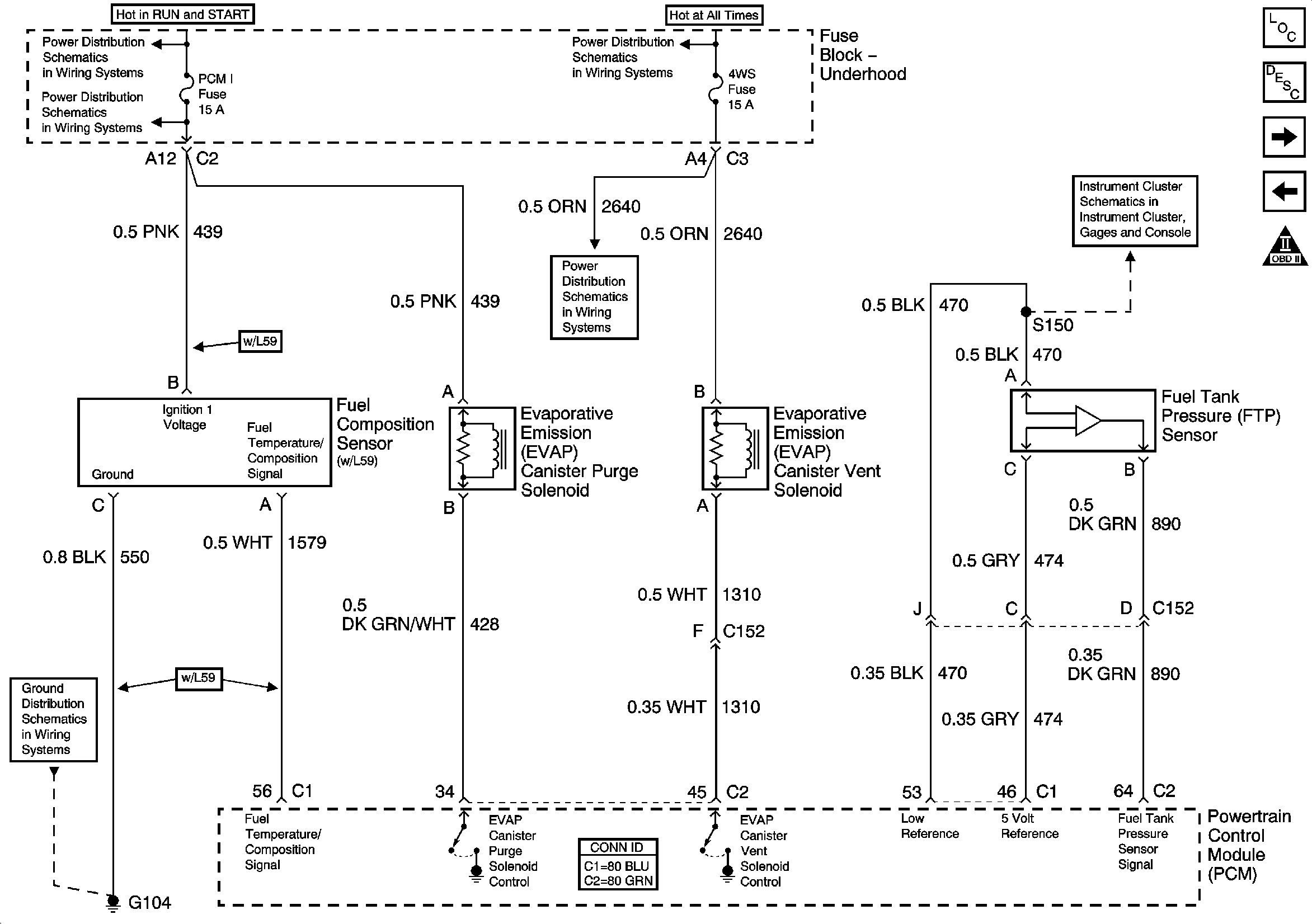
| Figure 11: |
Fuel Controls - EVAP Controls, Fuel Tank Pressure,
and Fuel Composition
|
| Figure 12: |
Controlled/Monitored Subsystem References
|
| Figure 13: |
Transmission Controls - A/T - 4L60-E
|
| Figure 14: |
Transmission Controls - A/T - 4L80-E
|