GM Service Manual Online
For 1990-2009 cars only
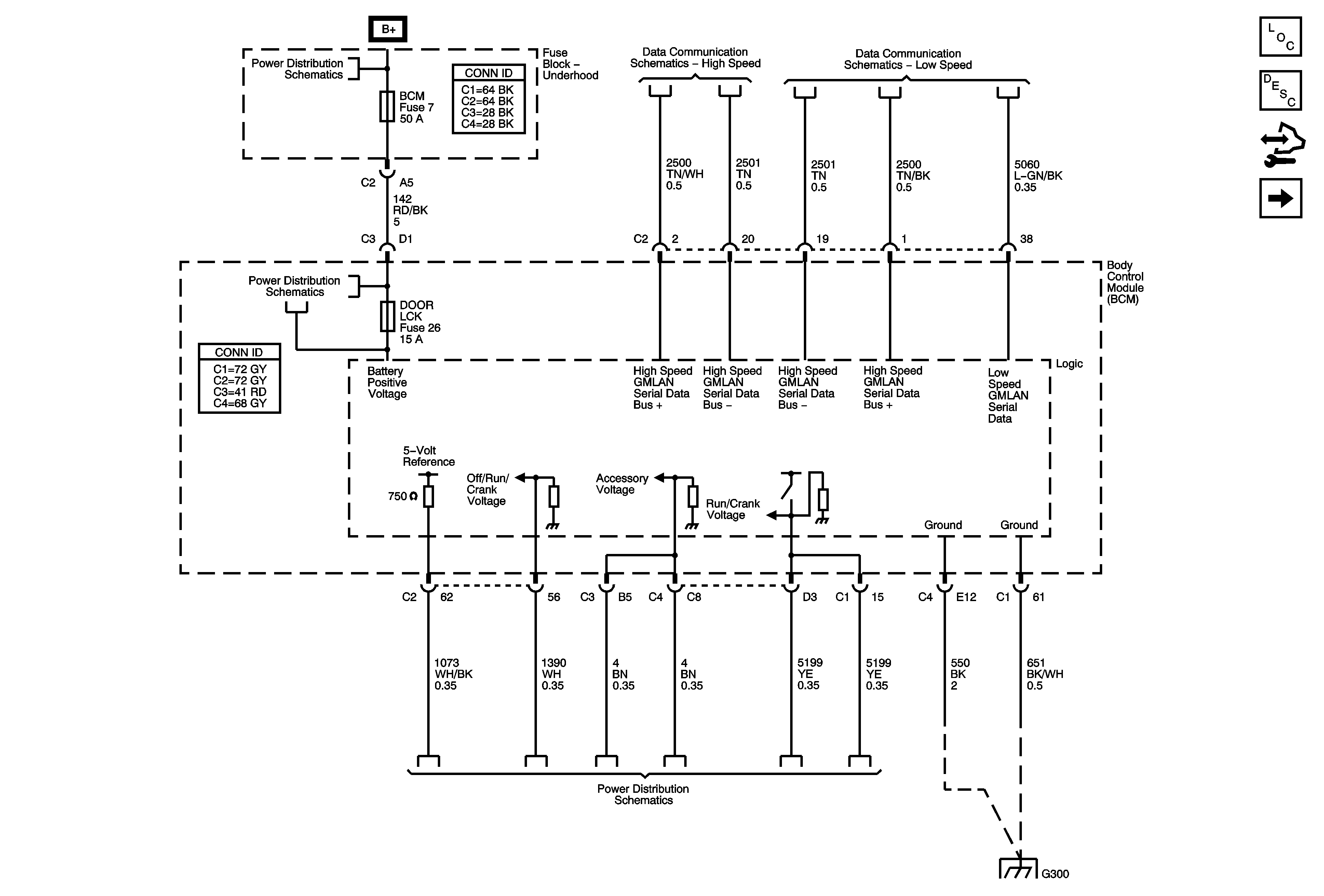
Figure 1:

Data Link, Ground, and Power


Object Number: 1743019  Size: FS
Master Electrical Component List
Body Control System Description and Operation
Control Module References
Lighting System References
B+ Bus - 2 of 2
High Speed LAN
Low Speed LAN
Fuse Block-Underhood BCM 2 Fuse, BCM 3 Fuse, BCM Fuses: AMP, CLSTR, HVAC/PK3, IGN SW/PK3
Fuse Block-Underhood ABS, BCK/UP LAMP, CAN VENT, ECM/TRANS, I/P IGN, OUTLET Fuses, RUN/CRNK Relay, and BCM Fuses: AIRBAG, EPS/STR WHL CNTRL, HVAC/IP IGN, WPR
G300 - 1 of 2
Figure 2:

Lighting System References


Object Number: 1743024  Size: FS
Master Electrical Component List
Body Control System Description and Operation
Control Module References
Brakes, Cooling System, Cruise, Door Lock, Immobilizer, and Seat Belt References
Data Link, Ground, and Power
Fog Lights Schematics
Hazard and Park Lamps
Backup Lamps
Interior Lights Schematics
Dimming Controls
Headlights/Daytime Running Lights (DRL) Schematics
Stop and Turn Signal Lamps
Figure 3:

Brakes, Cooling System, Cruise, Door Lock, Immobilizer, and Seat Belt References


Object Number: 1743027  Size: FS
Master Electrical Component List
Body Control System Description and Operation
Control Module References
Defogger, Horn, Release System, Shift Lock, and Wiper/Washer References
Lighting System References
Brake Pedal Sensor, Indicator, and Traction Control Switch
Immobilizer Schematics
Hydraulic Brake System Schematics
Air Delivery and Temperature
Cruise Control Schematics
LNF
LE5
Door Lock Schematics
Seat Belt Schematics
Figure 4:

Defogger, Horn, Release System, Shift Lock, and Wiper/Washer References


Object Number: 1743031  Size: FS
Master Electrical Component List
Body Control System Description and Operation
Control Module References
Brakes, Cooling System, Cruise, Door Lock, Immobilizer, and Seat Belt References
Defogger Schematics
Horn Schematics
Wiper/Washer Schematics
Shift Lock Control Schematics
Folding Top and Rear Compartment Lid Release