GM Service Manual Online
For 1990-2009 cars only
Figure 1:

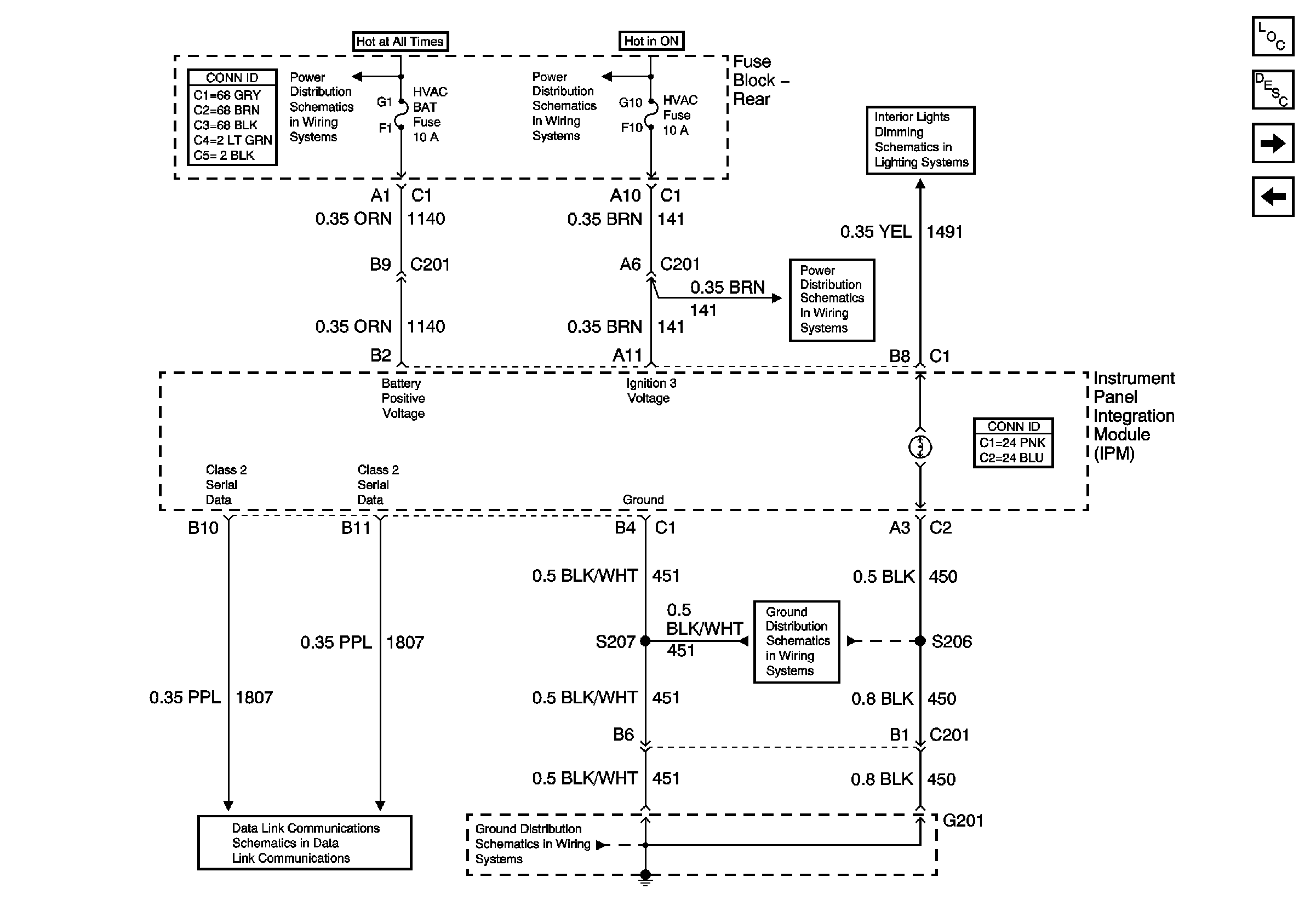
Dash Integration Module (DIM) -- Power, Ground and Serial Data


Object Number: 663097  Size: FS
Master Electrical Component List
Body Control System Description and Operation
Dash Integration Module (DIM) - Ignition Switch Inputs
HVAC BLO, DRV MDL, PASS MDL, PWR TT, HTDST LR, HTDST RR, HTDST RF, and DIM Fuses
RR BLO, RR DR MDL, HVAC, Stop LP, IGN SW, and TSIG/HAZ Fuses
RR BLO, RR DR MDL, HVAC, Stop LP, IGN SW, and TSIG/HAZ Fuses
Class 2 Serial Data (1 of 3)
G300,G303,G304,G306
G201
Figure 2:

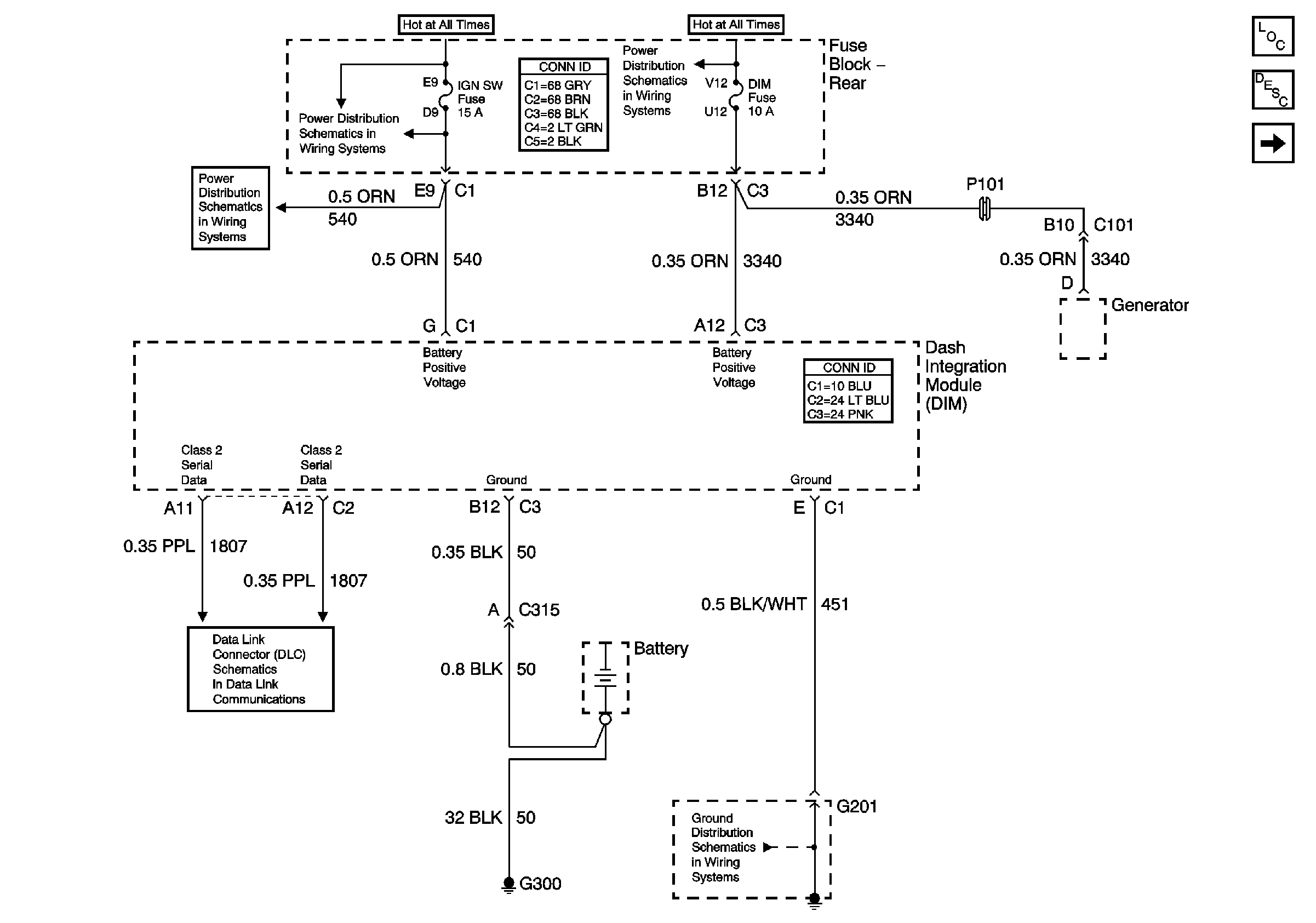
Dash Integration Module (DIM) -- Ignition Switch Inputs


Object Number: 663099  Size: FS
Master Electrical Component List
Body Control System Description and Operation
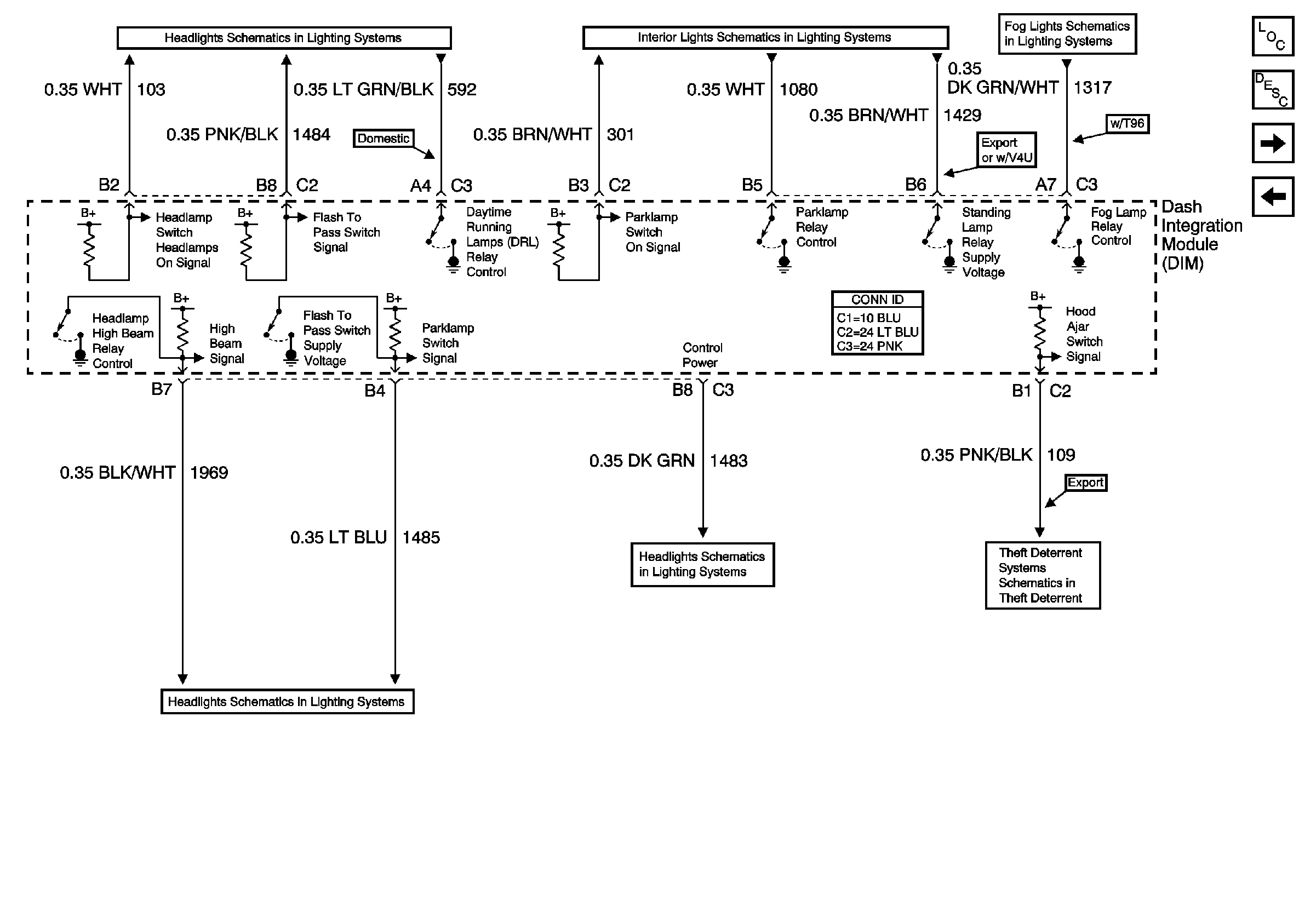
Dash Integration Module (DIM) - Lighting Inputs and Outputs
Dash Integration Module (DIM) - Power, Ground and Serial Data
RR BLO, RR DR MDL, HVAC, Stop LP, IGN SW, and TSIG/HAZ Fuses
Ignition Switch
Ignition Switch
Ignition Switch
Ignition Switch
Ignition Feeds to Underhood and Rear Fuse Blocks
Figure 3:

Dash Integration Module (DIM) -- Lighting Inputs and Outputs


Object Number: 663102  Size: FS
Master Electrical Component List
Body Control System Description and Operation
Dash Integration Module (DIM) - Inputs and Outputs
Dash Integration Module (DIM) - Ignition Switch Inputs
Automatic Transaxle Fluid Pressure Manual Valve Position Switch and VSS
G104 Horns, Lamps and Other Items
G104 Horns, Lamps and Other Items
Low Beam Headlamps (Domestic)
High Beam Headlamps (Domestic)
Headlamp Switch (Domestic)
High Beam Headlamps (Domestic)
Low Beam Headlamps (Domestic)
Headlamp Switch (Domestic)
Headlamp Switch, Park Lamp Relay
Standing and Position Lamp Relays
CTD Inputs and Outputs
Figure 4:

Dash Integration Module (DIM) -- Inputs and Outputs


Object Number: 663106  Size: FS
Master Electrical Component List
Body Control System Description and Operation
Instrument Panel Integration Module (IPM) Power, Ground and Serial Data
Dash Integration Module (DIM) - Lighting Inputs and Outputs
Reverse Lockout Actuator Control
Steering Wheel Controls
Horns
CTD Inputs and Outputs
Turn/Hazard Flasher Module, Hazard Switch
CTD Inputs and Outputs
Actuators and Inside Air Temperature Control
Wiper/Washer Switch and Pump
Dimming Control
HVAC Compressor Control
Figure 5:

Instrument Panel Integration Module (IPM) Power,Ground and Serial Data


Object Number: 663107  Size: FS
Master Electrical Component List
Body Control System Description and Operation
Instrument Panel Integration Module (IPM) - HVAC Inputs and Outputs
Dash Integration Module (DIM) - Inputs and Outputs
Instrument Panel Dimming
RR BLO, RR DR MDL, HVAC, Stop LP, IGN SW, and TSIG/HAZ Fuses
ELC, Night Vision, HVAC, ABS Fuses
ELC, Night Vision, HVAC, ABS Fuses
Class 2 Serial Data (1 of 3)
G201,G202 CKT 451 Steering Column
G201,G202 CKT 451 Steering Column
G201,G202 CKT 451 Steering Column
G201 IP Harness and Console Harness
Figure 6:

Instrument Panel Integration Module (IPM) -- HVAC Inputs and Outputs


Object Number: 723467  Size: FS
Master Electrical Component List
Body Control System Description and Operation
Instrument Panel Integration Module (IPM) - Inputs and Outputs
Instrument Panel Integration Module (IPM) Power, Ground and Serial Data
Actuators and Inside Air Temperature Control
HVAC Air Delivery/Temperature Control Sensors
Front Blower Motor
Figure 7:

Instrument Panel Integration Module (IPM) -- Inputs and Outputs


Object Number: 663112  Size: FS
Master Electrical Component List
Body Control System Description and Operation
Rear Integration Module (RIM) - Power, Ground and Serial Data
Instrument Panel Integration Module (IPM) - HVAC Inputs and Outputs
Power, Ground, Class 2 and 54V, VF Display Supply
Indicators and Traction Control Switch
Headlamp Switch (Domestic)
Headlamp Switch (Domestic)
Dimming Control
Dimming Control
Fog Lights
HUD and Night Vision Camera - Power and Ground
Front Door Courtesy Lamps, Rear Compartment, and Underhood Lamps
Turn/Hazard Flasher Module, Hazard Switch
Radio output, Left Front Door Open Signal and Key-In-Ignition Signal
Release Systems - IPM Module and Release Switch
Figure 8:

Rear Integration Module (RIM) -- Power, Ground and Serial Data


Object Number: 663118  Size: FS
Master Electrical Component List
Body Control System Description and Operation
Rear Integration Module (RIM) - Lighting, Release Systems and Other Inputs and Outputs
Instrument Panel Integration Module (IPM) - Inputs and Outputs
SIR, Vent Sol, and IGN 1 Fuses
SIR, Vent Sol, and IGN 1 Fuses
SIR, Vent Sol, and IGN 1 Fuses
RR BLO, RR DR MDL, HVAC, Stop LP, IGN SW, and TSIG/HAZ Fuses
RR BLO, RR DR MDL, HVAC, Stop LP, IGN SW, and TSIG/HAZ Fuses
Class 2 Serial Data (1 of 3)
G401
Figure 9:

Rear Integration Module (RIM) -- Lighting,Release Systems and Other Inputs and Outputs


Object Number: 663122  Size: FS
Master Electrical Component List
Body Control System Description and Operation
Rear Integration Module (RIM) - Level Control and Other Inputs and Outputs
Rear Integration Module (RIM) - Power, Ground and Serial Data
Inside Rear View Mirror
Backup Lamps
Interior Lamp Relay, Headlamp Switch, and Rear Door Courtesy Lamps
Rear Cigar Lighters
Interior Lamp Relay and Rear Door Courtesy Lamps
Front Door Courtesy Lamps, Rear Compartment, and Underhood Lamps
Fuse Blocks, Actuators, and Rear Integration Module (RIM)
Rear Compartment Lid Ajar Signal
Rear Compartment Lid Ajar Signal
CTD Inputs and Outputs
Retained Accessory Power (RAP)
Figure 10:

Rear Integration Module (RIM) -- Level Control and Other Inputs and Outputs


Object Number: 663127  Size: FS
Master Electrical Component List
Body Control System Description and Operation
Rear Heater and A/C Control Module (DeVille/DHS)
Rear Integration Module (RIM) - Lighting, Release Systems and Other Inputs and Outputs
Defogger (w/o B9Q)
Automatic Level control (w/o F45)
Park Brake System
Electronic Park Lock (Console Only)
Left Tail Lamp
Rear Parking Aid Module - Power and Ground