GM Service Manual Online
For 1990-2009 cars only
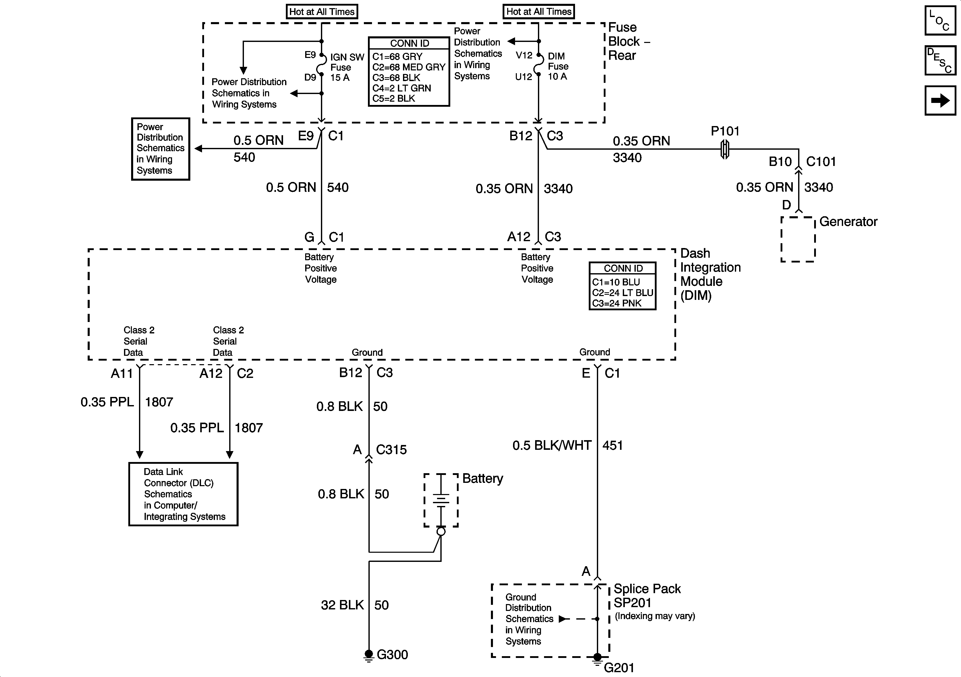
Figure 1:

Dash Integration Module (DIM) - Power, Ground, and Serial Data


Object Number: 1411849  Size: FS
Master Electrical Component List
Body Control System Description and Operation
Dash Integration Module Ignition Switch Inputs
RR BLO, RRDR MDL, HVAC BAT, STOP LP, IGN SW, and TSIG/HAZ Fuses
RR BLO, RRDR MDL, HVAC BAT, STOP LP, IGN SW, and TSIG/HAZ Fuses
Rear Fuse Block Battery Voltage
Class 2 Serial Data (1 of 3)
G201 - 1 of 3
Figure 2:

Dash Integration Module (DIM) - Ignition Switch Inputs


Object Number: 1411851  Size: FS
Master Electrical Component List
Body Control System Description and Operation
Dash Integration Module Lighting Inputs and Outputs
04 Ksp BCM Schematics- Dash Integration Module Power, Ground and Class 2
RR BLO, RRDR MDL, HVAC BAT, STOP LP, IGN SW, and TSIG/HAZ Fuses
Ignition Feeds to Underhood and Rear Fuse Blocks
Ignition Switch
Ignition Feeds to Underhood and Rear Fuse Blocks
Ignition Switch
Ignition Switch
Figure 3:

Dash Integration Module (DIM) - Lighting Inputs and Outputs


Object Number: 1411853  Size: FS
Master Electrical Component List
Body Control System Description and Operation
Dash Integration Module Inputs and Outputs
Dash Integration Module Ignition Switch Inputs
Headlamp Switch (Domestic)
High Beam Headlamps (Domestic)
Low Beam Headlamps (Domestic)
Headlamp Switch and Park Lamp Relay
Standing and Position Lamp Relays
Fog Lights Schematics
High Beam Headlamps (Domestic)
Low Beam Headlamps (Domestic)
Content Theft Deterrent (CTD) System Inputs and Outputs
Figure 4:

Dash Integration Module (DIM) - Inputs and Outputs


Object Number: 1411854  Size: FS
Master Electrical Component List
Body Control System Description and Operation
Instrument Panel Integration Module Power, Ground and Class 2Instrument Panel Integration Module Power, Ground and Class 2
Dash Integration Module Lighting Inputs and Outputs
Reverse Lockout Control (D55)
Steering Wheel Controls
Horns Schematics
Content Theft Deterrent (CTD) System Inputs and Outputs
Flasher Module, Turn Signal and Hazard Switch
Content Theft Deterrent (CTD) System Inputs and Outputs
Actuators and Inside Air Temperature Sensor
Wiper/Washer Switch and Pump
Dimming Control
A/C Compressor Control
Figure 5:

Instrument Panel Integration Module (IPM) - Power, Ground, and Serial Data


Object Number: 1411856  Size: FS
Master Electrical Component List
Body Control System Description and Operation
Instrument Panel Integration Module HVAC Inputs and Outputs
Dash Integration Module Inputs and Outputs
RR BLO, RRDR MDL, HVAC BAT, STOP LP, IGN SW, and TSIG/HAZ Fuses
ELC, NIGHT VISION, HVAC, and ABS Fuses and ELC Relay
Instrument Panel Dimming
ELC, NIGHT VISION, HVAC, and ABS Fuses and ELC Relay
G201 - 3 of 3
G201 - 2 of 3
Class 2 Serial Data (1 of 3)
G201 - 3 of 3
Figure 6:

Instrument Panel Integration Module (IPM) - HVAC Inputs and Outputs


Object Number: 1411858  Size: FS
Master Electrical Component List
Body Control System Description and Operation
Instrument Panel Integration Module Inputs and Outputs
Instrument Panel Integration Module Power, Ground and Class 2Instrument Panel Integration Module Power, Ground and Class 2
Actuators and Inside Air Temperature Sensor
Actuators and Inside Air Temperature Sensor
Air Temperature and Sunload Sensor
Front Blower Motor
Figure 7:

Instrument Panel Integration Module (IPM) - Inputs and Outputs


Object Number: 1411862  Size: FS
Master Electrical Component List
Body Control System Description and Operation
Rear Integration Module Power, Ground and Class 2
Instrument Panel Integration Module HVAC Inputs and Outputs
Dimming Control
Headlamp Switch (Domestic)
Dimming Control
Headlamp Switch (Domestic)
Indicators and Traction Control Switch
Class 2 Dimming Communication
Fog Lights Schematics
Power and Ground
Interior Lamp Relay, Headlamp Switch and Rear Door Courtesy Lamps
Flasher Module, Turn Signal and Hazard Switch
Radio Output and Key-In-Ignition Signal
Release Switches
Figure 8:

Rear Integration Module (RIM) - Power, Ground, and Serial Data


Object Number: 1411864  Size: FS
Master Electrical Component List
Body Control System Description and Operation
Rear Integration Module Inputs and Outputs (1 of 2)
Instrument Panel Integration Module Inputs and Outputs
RR BLO, RRDR MDL, HVAC BAT, STOP LP, IGN SW, and TSIG/HAZ Fuses
RR BLO, RRDR MDL, HVAC BAT, STOP LP, IGN SW, and TSIG/HAZ Fuses
SIR, VENT SOL, and IGN 1 Fuse and IGN 1 Relay
SIR, VENT SOL, and IGN 1 Fuse and IGN 1 Relay
Class 2 Serial Data (2 of 3)
G401
Figure 9:

Rear Integration Module (RIM) - Lighting, Release Systems, and Other Inputs and Outputs


Object Number: 1411871  Size: FS
Master Electrical Component List
Body Control System Description and Operation
Rear Integration Module Inputs and Outputs (2 of 2)
Rear Integration Module Power, Ground and Class 2
Interior Lamp Relay, Headlamp Switch and Rear Door Courtesy Lamps
Rear Cigar Lighters
Interior Lamp Relay, Headlamp Switch and Rear Door Courtesy Lamps
Front Door Courtesy, Rear Compartment, and Underhood Lamps
Backup Lamps Schematics
Inside Rearview Mirror Schematics
Release Actuators and Valet Switch
Rear Compartment Lid Ajar Signal
Door Open Inputs (w/B9Q)
Content Theft Deterrent (CTD) System Inputs and Outputs
Retained Accessory Power (RAP) Schematics
Figure 10:

Rear Integration Module (RIM) - Level Control, and Other Inputs and Outputs


Object Number: 1411873  Size: FS
Master Electrical Component List
Body Control System Description and Operation
Rear Integration Module Inputs and Outputs (1 of 2)
w/o F45
Rear Window Defogger
Brake Warning System Schematics
Column/Ignition Lock Schematics
Left Tail Lamp
Rear Object Sensor Control Module Power and Ground