GM Service Manual Online
For 1990-2009 cars only
Figure 1:

DIM Power and Grounds


Object Number: 474363  Size: FS
IGN SW and NSBU Fuses (Rear Fuse Block)
IGN SW and NSBU Fuses (Rear Fuse Block)
Serial Data Class 2
G200 (1 of 2)
Handling ESD Sensitive Parts Notice
Body Control Module Components
Body Control System Circuit Description
DIM Ignition Inputs
Figure 2:

DIM Ignition Inputs


Object Number: 574618  Size: FS
Ignition Switch
Circuits from the Ignition Switch
Ignition Switch
Serial Data Class 2
Handling ESD Sensitive Parts Notice
Body Control Module Components
Body Control System Circuit Description
DIM Input/Output (1 of 2)
DIM Power and Grounds
Figure 3:

DIM Input/Output (1 of 2)


Object Number: 606695  Size: FS
Headlamp Switch, Ambient Light Sensor (C67)
DRL, High Beam Headlamps, Dimmer Switch
Headlamp Switch, Ambient Light Sensor (C67)
License Plate Lamps, Park Lamp Relay
Low Beam Headlamps
Headlamp Switch, Ambient Light Sensor (C67)
Fog Lamps (Front)
Handling ESD Sensitive Parts Notice
Body Control Module Components
Body Control System Circuit Description
DIM Input/Output (2 of 2)
DIM Ignition Inputs
Figure 4:

DIM Input/Output (2 of 2)


Object Number: 565243  Size: FS
Steering Wheel Controls
00 310 Horns
Wiper/Washer Switch and Fuse
Dimming Control
Handling ESD Sensitive Parts Notice
Body Control Module Components
Body Control System Circuit Description
IPM Power and Grounds
DIM Input/Output (1 of 2)
Figure 5:

IPM Power and Grounds


Object Number: 474380  Size: FS
HVAC Fuse (Rear Fuse Block)
Serial Data Class 2
G201 (2 of 3)
G201 (2 of 3)
Handling ESD Sensitive Parts Notice
Body Control Module Components
Body Control System Circuit Description
DIM Input/Output (1 of 2)
DIM Input/Output (2 of 2)
Figure 6:

IPM Input/Output (1 of 2)


Object Number: 607089  Size: FS
Dimming Control
Headlamp Switch, Ambient Light Sensor (CJ2)
Dimming Control
Headlamp Switch, Ambient Light Sensor (C67)
Indicators and Traction Control Switch
Handling ESD Sensitive Parts Notice
Heater AC Control W/CJ2
Radio Output, Door, Ignition Switch
Dimming Control
Cell 114: LH Courtesy Lamps
Fog Lamps (Front)
Rear Compartment Lid Release
Body Control Module Components
Body Control System Circuit Description
IPM Input/Output (2 of 2)
IPM Power and Grounds
Figure 7:

IPM Input/Output (2 of 2)


Object Number: 474383  Size: FS
Air Delivery W/CJ2
Temperature Sensors W/CJ2
Blower Control W/CJ2
Handling ESD Sensitive Parts Notice
Body Control Module Components
Body Control System Circuit Description
RIM Power and Grounds
IPM Input/Output (1 of 2)
Figure 8:

RIM Power and Grounds


Object Number: 474435  Size: FS
IGN SW and NSBU Fuses (Rear Fuse Block)
IGN SW and NSBU Fuses (Rear Fuse Block)
G302
Serial Data Class 2
G402
Handling ESD Sensitive Parts Notice
Body Control Module Components
Body Control System Circuit Description
RIM Input/Output (1 of 2)
IPM Input/Output (2 of 2)
Figure 9:

RIM Input/Output (1 of 2)


Object Number: 565255  Size: FS
RH Courtesy Lamps
Cigar and Auxiliary Power Outlets
Interior Lamp Relay
Backup Lamps
Fuel Door Lock W/UA6
Rear Compartment Lid Release
Cell 114: LH Courtesy Lamps
Power, Ground, and Components
Handling ESD Sensitive Parts Notice
Body Control Module Components
Body Control System Circuit Description
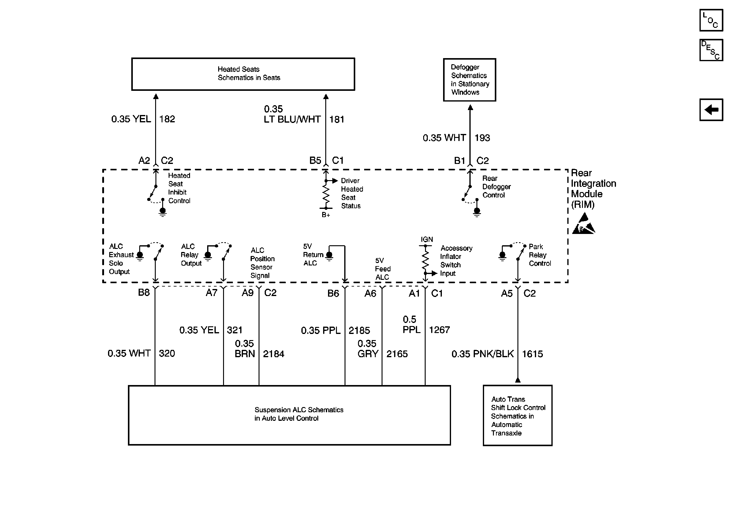
RIM Input/Output (2 of 2)
RIM Power and Grounds
Figure 10:

RIM Input/Output (2 of 2)


Object Number: 565256  Size: FS
Front Heated Seats (Partial)
Rear Window Defogger
Handling ESD Sensitive Parts Notice
ALC Suspension (Pontiac)
Auto Trans Shift Lock Control Solenoid: Class 2
Body Control Module Components
Body Control System Circuit Description
RIM Input/Output (1 of 2)